P-0295-004.pdf - 第158页
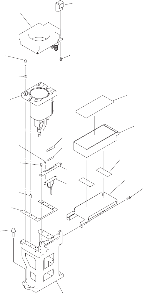
0801-002 2 3 4 22 5 21 9 52 60 56 23 10 7 6 13 8 1 54 . . . . . . . . . . . 61 57 52 60 56 51 59 55 62 58 53 61 57 14 BLOCK1 D-1 illust-3 架台上全体 OVERALL UPPERFRAME Fig. D-1 部品認識カメラ 1,4 Recognition Camera 1,4 (G -S051-04,C…

0801-002
53
61
57
13
8
7
6
1
2
3
22
52
.
.
.
.
.
.
.
.
.
.
.
60
56
55
62
58
4
5
14
51
59
52
60
56
21
10
23
9
54
61
57
BLOCK4
D-1 illust-2
架台上全体
OVERALL
UPPERFRAME
Fig. D-1
部品認識カメラ
1,4
Recognition Camera 1,4
(G -S051-04,Case:Block1) (G -S051-04,Case:Block1)

0801-002
2
3
4
22
5
21
9
52
60
56
23
10
7
6
13
8
1
54
.
.
.
.
.
.
.
.
.
.
.
61
57
52
60
56
51
59
55
62
58
53
61
57
14
BLOCK1
D-1 illust-3
架台上全体
OVERALL
UPPERFRAME
Fig. D-1
部品認識カメラ
1,4
Recognition Camera 1,4
(G -S051-04,Case:Block4) (G -S051-04,Case:Block4)

0801-002
1
2
3
22
55
・
62
・
58
4
5
14
51
・
59
52
・
60
・
56
21
23
9
54
・
61
・
57
BLOCK4
32
10
内が本体対応箇所です。
31
The explanation in brackets is for the locations to be treated in the main machine.
13
8
7
D-1 illust-4
架台上全体
OVERALL
UPPERFRAME
Fig. D-1
部品認識カメラ
1,4
Recognition Camera 1,4
(G -S051-04,Case:Block4) (G -S051-04,Case:Block4)