xp141-241-341-5.0E - 第76页
FK-9F98- 29 XP Series Training Text for Service Engineers Edition 5.0 XP141 – Chapter 6 Proper Data Measurements Page 21 of 26 Fuji Machine Mfg. Co., Ltd. Okazaki SMT Equipment Quality Assurance Dept. 6 – 21 CS Section 5…

FK-9F98-29 XP Series Training Text for Service Engineers
Edition 5.0 XP141 – Chapter 6 Proper Data Measurements Page 20 of 26
Fuji Machine Mfg. Co., Ltd. Okazaki
SMT Equipment Quality Assurance Dept.
6 – 20 CS Section
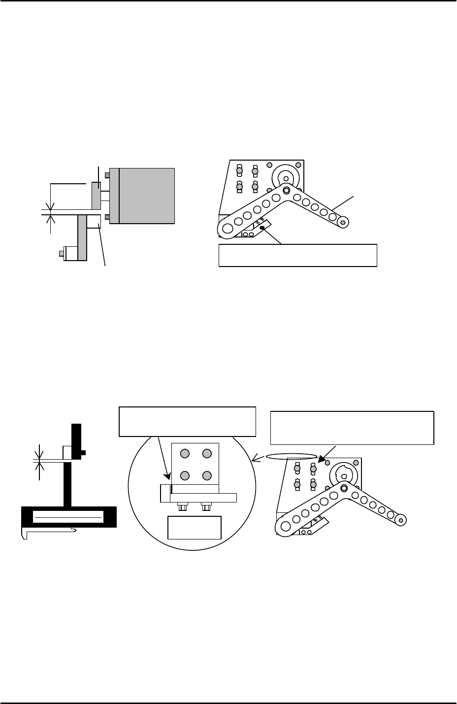
6.17 Adjusting the feeder indexing
1. Equipment: feeder indexing lever height adjustment jig (Z9913AWPJ9310).
2. The following procedure is the same for both sides of the machine.
Feeder indexing lever height
1. Set the F/G cams at their minus limit and adjust the position of the feeder indexing lever
stopper Bracket so that the clearance between the bottom of the cam and the indexing
lever roller is 1.0mm when the indexing lever is at its lower limit.
2. Set the feeder indexing lever height adjustment jig at D25.
3. Return the F and G cams to their upper resting position (the origin position where the F
and G counter values are 0).
4. Bring the feeder indexing lever above the height adjustment jig.
5. Adjust the position of the feeder indexing lever bracket so that the clearance between the
lever and the jig is 0.7mm. Use a feeler gage to set the clearance. Refer to the diagram
below:
Feeder indexing lever X and Y position
1. Prepare two feeders and set them in D19 and D21 (side2 D79 and D81).
2. Select [Program] – [Editor] – [Part] – and select any part data file.
3. Select [Part Type Edit] – [Template] – and make sure the servo power is ON.
4. Specify device number 20 and then select [Manual Pickup] – [START] to move the head
and the indexing lever to D20.
0.7mm
Adjust the feeder indexing lever
installation BKT by using these slots.
Top view
Make sure these two surfaces
are
in
contact.
(Z9913AWPJ9310)
F / G motor
1 mm
Feeder indexing lever stopper BKT
roller
cam
Feeder
Indexing
Lever

FK-9F98-29 XP Series Training Text for Service Engineers
Edition 5.0 XP141 – Chapter 6 Proper Data Measurements Page 21 of 26
Fuji Machine Mfg. Co., Ltd. Okazaki
SMT Equipment Quality Assurance Dept.
6 – 21 CS Section
5. Press the emergency stop button to cut the 200v power supply to the servos.
6. Push the placing head out of the way along the Y-axis but do not change the position of
the X-axis.
7. Manually descend the feeder indexing lever between the two feeders in slots D19 and
D21.
8. At this position the clearance between the tape feeder indexing arm and the XP indexing
lever should be 0.5 to 1.0mm in the Y direction. Please refer to the diagram below and
adjust if necessary.
9. The position of the XP indexing lever in the X direction should be such that when the
indexing lever is pressed down it is in the center of the two feeders on either side. Please
refer to the diagram below and adjust if necessary.
10. After any adjustments confirm that the feeder indexing lever height is still 0.7mm (see the
first part of 6.17 “feeder indexing lever height”).
11. Finally select [Maintenance C] – [Proper Data Editor] – [Machine Origin] – and confirm
that the value entered for [F_DownPoint] and [G_DownPoint] is –8.7mm.
19 2120 2218
Feeder
Feeder
index lever
The clearance between
lever and feeder:
0.5mm~ 1.0mm
Adjust to have even clearance between the cam follower
and feeder when lowering the index lever.
Adjust the motor BKT
for positioning
Motor

FK-9F98-29 XP Series Training Text for Service Engineers
Edition 5.0 XP141 – Chapter 6 Proper Data Measurements Page 22 of 26
Fuji Machine Mfg. Co., Ltd. Okazaki
SMT Equipment Quality Assurance Dept.
6 – 22 CS Section
6.18 X and Y axis retract position
1. The retract position ensures the placing head is not in a position that would cause
interference when clamping or unclamping an MFU from the machine.
2. Select [Maintenance C] – [Proper Data Editor] – [Machine Origin] – and check that the
following proper data is input:
X_Table Org 5mm
Y_Table Org 400mm
6.19 Measuring the parts reject position
1. Select [Maintenance A] – [Jog] – [Fiducial Camera] and display the cross hairs on the
screen.
2. Jog the fiducial camera until it is in the center of the parts reject box. Refer to the
diagram below for the dimensions of the box:
3. Select [Maintenance C] – [Proper Data Editor] – [Dispose Position] –
[X_Disposal1/Y_Disposal1] – [Direct Servo Input] to save the current X-axis and Y-axis
positions in proper data.
6.20 Measuring the parts gage pickup positions
1. Equipment: nozzle jig (A5706ASEAJ8100). Lever type dial gage (0.01mm).
2. Select [Maintenance A] – [Jog] – [Fiducial Camera] and display the cross hairs.
3. Carefully remove the three ceramic parts gages from the parts gage station so that the
parts gage indents and vacuum holes are visible.
4. Center the cross hairs on the parts gage 1 vacuum hole and select [Maintenance C] –
[Proper Data Editor] – [Jig Position] – [Y_JigPickPos] – [Direct Servo Input] and
[X_JigPickPos1] – [Direct Servo Input] to save the current X and Y axis counter values to
proper data.
12.5mm
35mm
10 1010
1 2 3A