MIL- STD-883F 2004 TEST METHOD STANDARD MICROCIRCUITS - 第214页
MIL-STD-883F METHOD 2010.11 18 June 2004 4 FIGURE 2010-1. P channel MOS tr ansis tor . ( 18) Junc tion l ine . The outer edge of a pass ivati on step that delineat es the boundar y between "P" and "N"…

MIL-STD-883F
METHOD 2010.11
18 June 2004
3
f. Definitions:
(1) Active circuit area
. All areas enclosed by the perimeter of functional circuit elements, operating metallization
or any connected combinations thereof excluding beam leads.
(2) Coupling (air) bridge
. A raised layer of metallization used for interconnection that is isolated from the
surface of the element.
(3) Block resistor
. A thin film resistor which for purposes of trimming is designed to be much wider than would
be dictated by power density requirements and shall be identified in the approved manufacturer's precap
visual implementation document.
(4) Contact Via
. The Via where dielectric material is etched away in order to expose the Under Bump
Metalization (UBM) on the bond pads or solder bump attach pads.
(5) Channel
. An area lying between the drain and the source of FET structures.
(6) Controlled environment
. Shall be 1,000 (0.5 Hm or greater) particles/cubic foot controlled environment
(class 6 of ISO 14644-1), (see A.4.8.1.1.7 of appendix A of MIL-PRF-38535), except that the maximum
allowable relative humidity shall not exceed 65 percent.
(7) Crazing
. The presence of numerous minute cracks in the referenced material, (e.g., glassivation crazing).
(8) Detritus
. Fragments of original or laser modified resistor material remaining in the kerf.
(9) Die Coat
. A thin layer of soft polyimide coating applied to the surface of a semiconductor element that is
intended to produce stress relief resulting from encapsulation and to protect the circuit from surface scratches.
(10) Dielectric isolation
. Electrical isolation of one or more elements of a monolithic semiconductor integrated
circuit by surrounding the elements with an isolating barrier such as semiconductor oxide.
(11) Dielectric layer or layers
. Dielectric layer or layers deposited on the die surface to protect the redistribution
metalization, and to create the contact via for solder bump pad.
(12) Diffusion tub
. A volume (or region) formed in a semiconductor material by a diffusion process (n- or p- type)
and isolated from the surrounding semiconductor material by a n-p or p-n junction or by a dielectric material
(dielectric isolation, coplanar process, SOS, SOI).
(13) Foreign material
. Any material that is foreign to the microcircuit or package, or any nonforeign material that
is displaced from its original or intended position within the microcircuit package.
(14) Functional circuit elements
. Diodes, transistors, crossunders, capacitors, and resistors.
(15) Gate oxide
. The oxide or other dielectric that separates gate metallization (or other material used for the
gate electrode) from the channel of MOS structures (see figure 2010-1).
(16) Glassivation
. The top layer(s) of transparent insulating material that covers the active circuit area, with the
exception of bonding pad areas and beam leads.
(17) Glassivation cracks
. Fissures in the glassivation layer.
*

MIL-STD-883F
METHOD 2010.11
18 June 2004
4
FIGURE 2010-1. P channel MOS transistor
.
(18) Junction line
. The outer edge of a passivation step that delineates the boundary between "P" and "N" type
semiconductor material. An active junction is any P/N junction intended to conduct current during normal
operation of the circuit element, (e.g., collector to base).
(19) Kerf
. That portion of the component area from which material has been removed or modified by trimming or
cutting.
(20) Line of separation
. Visible distance or space between two features that are observed not to touch at the
magnification in use.
(21) MESFET
. (Metal semiconductor field-effect transistor). A field-effect transistor in which a metal
semiconductor rectifying contact is used for the gate electrode. Typically the structure is fabricated in
gallium arsenide and the term GaAs MESFET may be used. Both depletion-type and enhancement type
devices have been manufactured. The acronyms are D-MESFET, and E-MESFET, respectively.
(22) Metallization nonadherence
. Unintentional separation of material from an underlying substrate excluding air
bridges and undercutting by design.
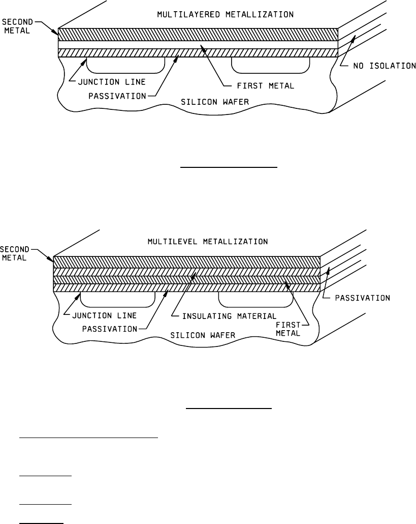
(23) Multilayered metallization (conductors)
. Two or more layers of metal or any other material used for
interconnections that are not isolated from each other by insulating material. The term "underlying metal"
shall refer to any layer below the top layer of metal (see figure 2010-2).
(24) Multilevel metallization (conductors)
. Two or more levels of metal or any other material used for
interconnections that are isolated from each other by insulating material (also referred to as interlevel
dielectric) (see figure 2010-3).
(25) Narrowest resistor width
. The narrowest portion of a given resistor prior to trimming.

MIL-STD-883F
METHOD 2010.11
18 June 2004
5
FIGURE 2010-2. Multilayered metallization
.
FIGURE 2010-3. Multilevel metallization
.
(26) Operating metallization (conductors)
. Metal or any other material used for interconnection except metallized
scribe lines, test patterns, unconnected functional circuit elements, unused bonding pads, and identification
markings.
(27) Original width
. The width dimension or distance that would have been present, in the absence of the
observed abnormality (e.g., original metal width, original diffusion width, original beam width, etc.).
(28) Package post
. A generic term used to describe the bonding location on the package.
(29) Passivation
. The silicon oxide, nitride or other insulating material that is grown or deposited directly on the
die prior to the deposition of metal or between metal levels on multilevel devices.