MIL- STD-883F 2004 TEST METHOD STANDARD MICROCIRCUITS - 第432页
MIL-STD-883F METHOD 2032.2 18 June 2004 26 C lass H Cla ss K 3.1. 6 j. Any i ncreas e in res is tor wi dth of a bloc k 3.1.6 j. Same as c lass H. resi stor greater than 25 perc ent of t he origi nal res ist or widt h (se…

MIL-STD-883F
METHOD 2032.2
18 June 2004
25
Class H Class K
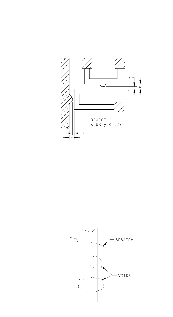
3.1.6 h. More than a 50 percent reduction 3.1.6 h. Same as class H.
of the original separation,
between any two different resistors,
or a resistor and metallization
not associated with it
(see figure 2032-18h).
FIGURE 2032-18h. Class H resistor separation criteria
.
i. Any resistor that crosses a substrate i. Same as class H.
irregularity (such as a void or scratch)
(see figure 2032-19h).
NOTE: This criterion is applicable to
conductive substrates only.
FIGURE 2032-19h. Class H substrate irregularity criterion
.

MIL-STD-883F
METHOD 2032.2
18 June 2004
26
Class H Class K
3.1.6 j. Any increase in resistor width of a block 3.1.6 j. Same as class H.
resistor greater than 25 percent of the
original resistor width (see figure 2032-20h).
FIGURE 2032-20h. Class H resistor width increase criterion
.
k. Protruding resistor material within the same k. Same as class H.
resistor structure that reduces the original
separation to less than 50 percent (see
figure 2032-21h).
NOTE: This criteria applies to protrusion of
resistor material resulting from a photo-
lithographic defect.
FIGURE 2032-21h. Class H protusion of resistor material criterion
.

MIL-STD-883F
METHOD 2032.2
18 June 2004
27
Class H Class K
3.1.6 l. Bridging within the same resistor pattern 3.1.6 l. Same as class H.
where the width of the bridge is less than
50 percent of the narrowest line being
bridged (see figure 2032-22h).
FIGURE 2032-22h. Class H bridging of resistor material criteria
.
3.1.7 Laser trimmed thin film resistor defects,
"high magnification"
. No element shall be acceptable
that exhibits:
NOTE: The laser trim defect criteria contained in
this section apply to active resistor areas only.