MIL- STD-883F 2004 TEST METHOD STANDARD MICROCIRCUITS - 第509页
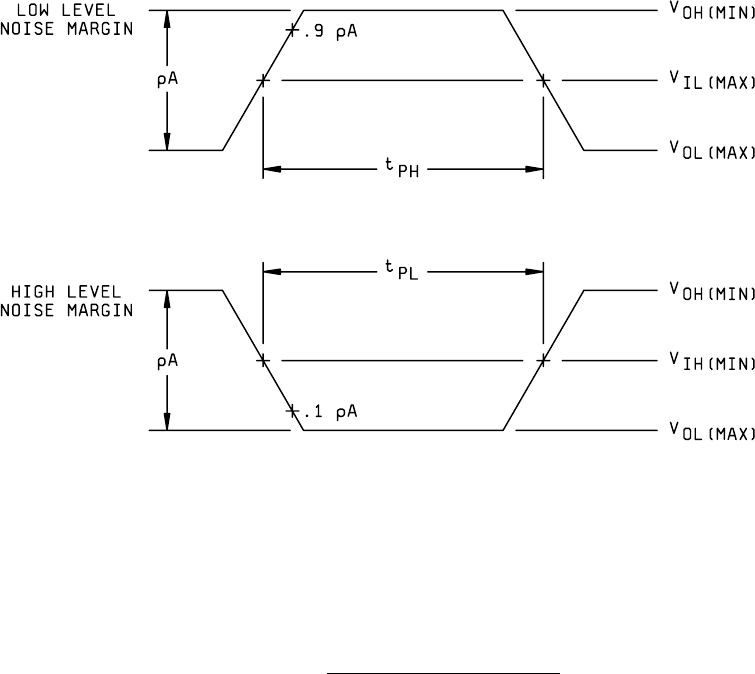
MIL-STD-883F METHOD 3013.1 15 November 1974 5 FIGURE 3013-1. Definit ions of noise pul se width .

MIL-STD-883F
METHOD 3013.1
15 November 1974
4
4. SUMMARY. The following details, when applicable, shall be specified in the applicable acquisition document:
a. V
IL
(max).
b. V
IL
(min).
c. V
IH
(min).
d. V
IH
(max).
e. V
OL
(max).
f. V
OH
(min).
g. V
NL
.
h. V
NH
.
i. V
NG
.
j. V
NP
.
k. t
PL
.
l. t
PH
.
m. Test temperature. Unless otherwise specified, dc noise margin measurements shall be made at the rated
operating temperature extremes in addition to any other nominal test temperatures.
n. Specific noise margin measurements and conditions which are to be performed.
o. Power supply voltages.
p. Input conditioning voltages.
q. Output loads.
r. Parameters of noise signal.

MIL-STD-883F
METHOD 3013.1
15 November 1974
5
FIGURE 3013-1. Definitions of noise pulse width
.

MIL-STD-883F
METHOD 3013.1
15 November 1974
6
FIGURE 3013-2. Inverting logic gate transfer characteristic defining test points
.