JM-10维修调整要领书 - 第81页
维修调整要领书 8-7 图 8-5-3 连接传感器 连接器托架

维修调整要领书
8-6
8-5.连接器托架 连接传感器的更换
1) 请卸下护罩 FB。(止动螺丝 5 处)
2) 请从下往上窥视连接器托架,确认传感器位置。
3) 请拆下传感器止动螺丝。
4) 请拆下连接器,卸下传感器。
5) 安装时请按相反顺序进行。
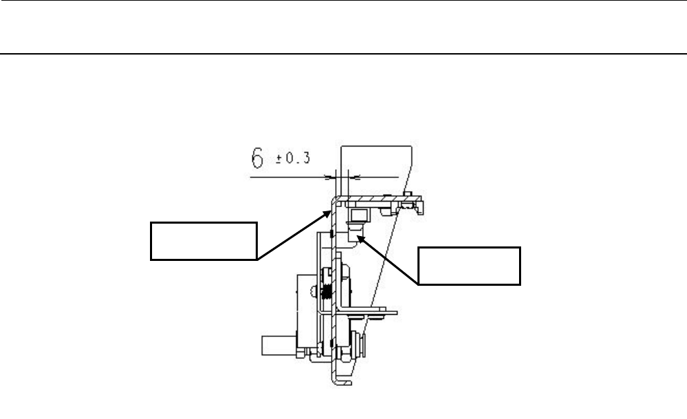
※ 传感器连同托架一起被拆下时,请实施图 8-5-3 的调整。
图 8-5-1
图 8-5-2
护罩FB
传感器止动螺丝
托架
连接传感器

维修调整要领书
8-7
图 8-5-3
连接传感器
连接器托架

维修调整要领书
9-1
为了防止突然的起动造成的事故,请关掉电源之后再进行操作。
9
空气机器
9-1.数字压力开关的更换
1) 请使本体左下方的手柄阀处于关闭状态。
2) 请卸下护罩 FB。
3) 从数字压力开关上拆下φ6 气管和连接器。
4) 按住面板背面的树脂固定座,取下数字压力开关。
5) 装配请以相反的步骤进行。
6) 安装后进行零位调整。
请将压力计的“”“ ”按钮同时按 1 秒钟,把显示值调整到零位。
※ 请把 φ6 空气管子从数字式压力开关上拆下,在此状态下进行调整。
9-1-1.数字压力开关的调整
更换数字压力开关后,请进行以下设置。
压力开关阈值 :0.400MPa
磁滞差动 :0.050MPa
显示色方式 :压力开关 ON 时为绿色
动作方式 :磁滞方式
压力开关输出形态 :正规开(超过阈值则 ON)
响应时间 :2.5ms 以下
自动预调设置 :手动设置
设置按下述步骤进行。
危险
树脂固定座
面板托架
数字压力开关