Single conveyor fixed transport side left_20211122_081150 - 第5页
Single conveyor fixed transport side left Page 5 / 29 22.11.2021

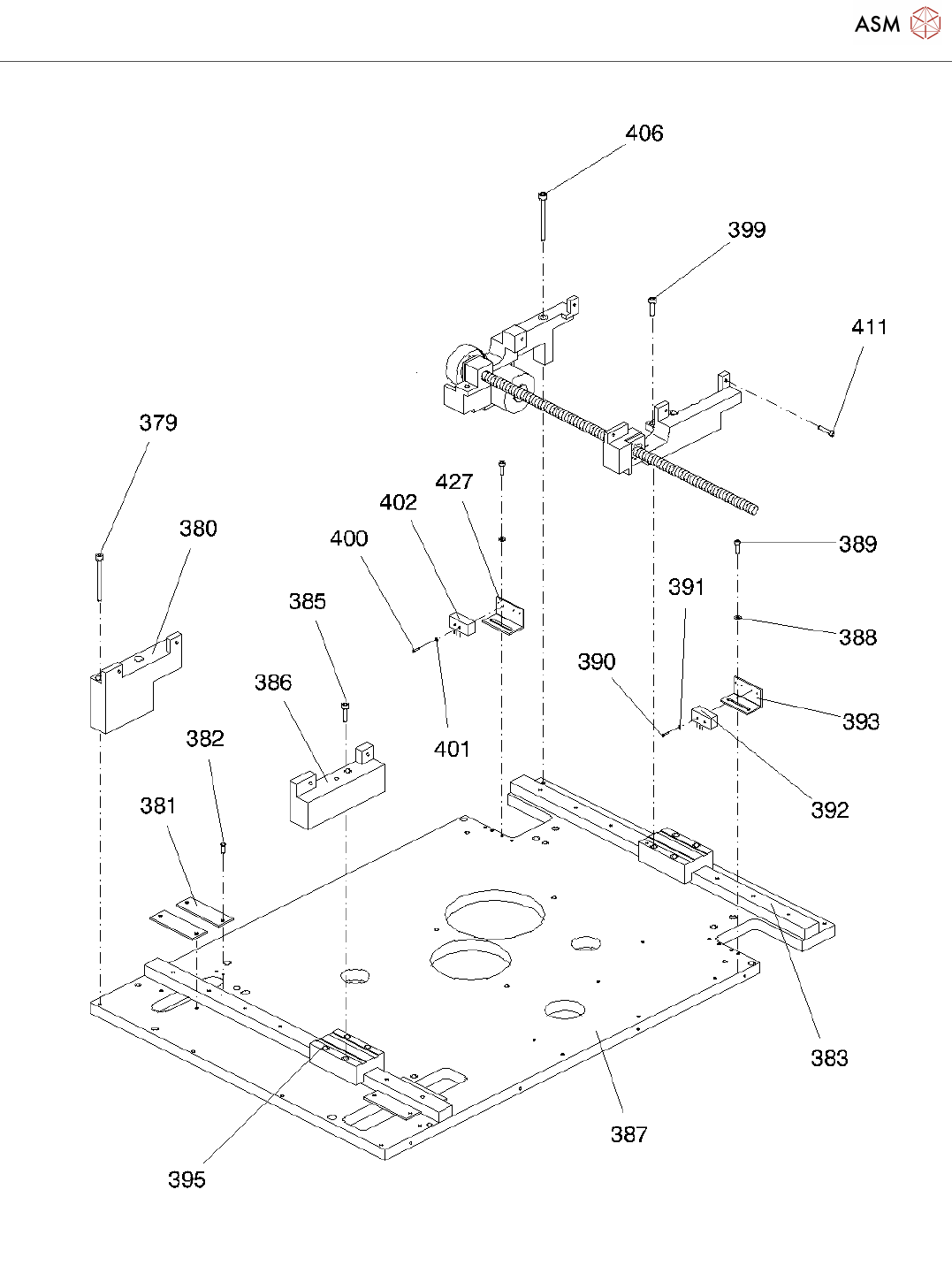
Single conveyor fixed transport side left
Page 4 / 29 22.11.2021

Single conveyor fixed transport side left
Page 5 / 29 22.11.2021

Single conveyor fixed transport side left
Page 6 / 29 22.11.2021