KE-3010_KE-3020V_KE-3020VR-Rev06 - 第151页
- - REF.NO NOTE PARTNO DESCRIPTION Qty 1 401-14155 FEEDERSENSBRASM 1 2 #01 401-14955 FEEDER_SENSBRASM3010 1 3 401-10192 SENSORBRFR (1) 4 #01 401-14952 SENSORBRFR3010 (1) 5 401-14729 SENSORB…

- -
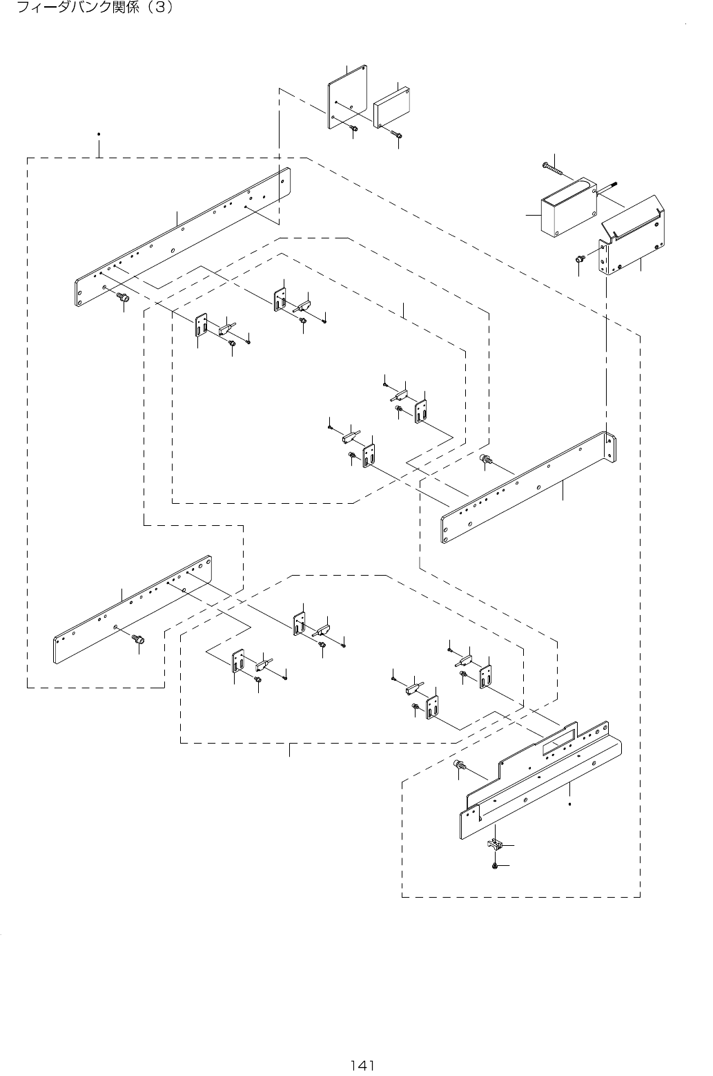
71.FEEDERBANKCOMPONENTS(3)
3 2
3 1
3 0
2 9
2 8
2 7
3 4
3 3
1 2
1 9
1 1
3 4
9
5
1 0
6
2 3
2 0
2 2
2 4
2 3
2 1
2 2
2 4
2 4
2 4
2 2
2 5
2 2
2 3
2 6
2 3
1 6
1 4
1 6
1 4
1 6
1 3
1 5
1 4
1 2
1 5
1 8
1 5
1 4
1 7
1 6
1 5
8
7
6
6
6

- -
REF.NO NOTE PARTNO DESCRIPTION Qty
1 401-14155 FEEDERSENSBRASM 1
2
#01
401-14955 FEEDER_SENSBRASM3010 1
3 401-10192 SENSORBRFR (1)
4
#01
401-14952 SENSORBRFR3010 (1)
5 401-14729 SENSORBRRR (1)
6 SL-6051292-TN SCREWM5L=12 (8)
7 HX-0029400-00 FIXEDBASE (3)
8 SL-4030691-SC SCREWM3L=6 (3)
9 401-10193 SENSORBRR (1)
10 401-14734 SENSORBRFL (1)
11 401-14156 MBANKFSENSORASM 1
12 401-10002 FD-FLOAT(FR)EMISSINSENSASM (1)
13 401-10003 FD-FLOAT(FR)RECEIVESENSASM (1)
14 SM-4020501-SC SCREWM2L=5 (8)
15 401-10190 FSDBR (4)
16 SL-6030692-TN SCREWM3L=6 (8)
17 401-10000 FD-FLOAT(FF)EMISSINSENSASM (1)
18 401-10001 FD-FLOAT(FF)RECEIVESENSASM (1)
19 401-14157 MBANKRSENSORASM 1
20 401-10006 FD-FLOAT(RR)EMISSINSENSASM (1)
21 401-10007 FD-FLOAT(RR)RECEIVESENSASM (1)
22 SM-4020501-SC SCREWM2L=5 (8)
23 401-10190 FSDBR (4)
24 SL-6030692-TN SCREWM3L=6 (8)
25 401-10004 FD-FLOAT(RF)EMISSINSENSASM (1)
26 401-10005 FD-FLOAT(RF)RECEIVESENSASM (1)
27 400-93804 REFLEKTOR 1
28 SL-6031492-TN SCREWM3L=14 2
29 401-14730 ARRAYSENSORBR 1
30 401-10014 REFLEXARRAYSENSORASM 1
31 SM-4043001-SF SCREWM4X30 2
32 SL-6040892-TN SCREWM4L=8 2
33 400-93992 SBRC 1
34 SL-6030892-TN SCREWM3L=8 2

- -
72.FEEDERBANKCOMPONENTS(4)(TYPEXL)
5
7
2
2
2
8
1 0
1 1
1 3
1 4
1 7
1 6
4
5
4
5
5
4
1 8
3
1 8
3
2
3
1 8
4
3
1 8
1
1 2
6
2 1
2 0
2 0
2 1
2 4
2 4
2 2
2 3
2 9
2 5
1 9
2 6
2 7
2 8
9
1 5