JM-100-Rev06PDFA.pdf - 第109页

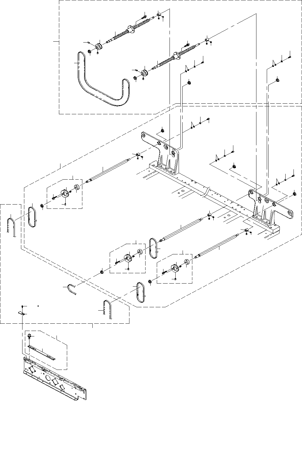
- 104 - REF.NO NOTE PART NO D E S C R I P T I O N 品 名 Qty 1 402-13923 CONVEYOR_RAIL_R_A SM コンベアレールR組 1 2 402-13783 CONV_SUPPORT_P LATE_CL コンベアサポートプレートCL (1) 3 SL-6041092-TN SCREW M4 L=10 座金付き六角穴ボルト M4 L=10 (10) 4 SL-6041…

100%1 / 134
- 103 -
52.CLINCH UNIT COMPONENTS (7) (CONVEYOR)
クリンチユニット関係(7)(搬送)
38
41
42
42
41
40
39
30
23
27
21
24
17
25
22
23
25
22
34
56
55
56
52
49
57
48
35
46
50
47
53
53
45
51
32
33
47
37
36
43
54
40
42
41
40
44
58
21
59
61
60
59
61
45
28
26
29
64
65
94
96
98
95
97
98
99
85
66
87
79
90
87
79
90
95
97
10
10
96
98
98
99
10
10
94
93
65
93
73
84
80
81
81
82
92
81
71
70
69
68
81
75
74
76
75
74
76
74
76
75
76
88
72
68
89
91
92
82
79
75
67
83
84
80
69
70
71
91
78
77
88
90
74
86
16
12
14
13
10
15
13
15
13
12
14
10
13
11
11
20
19
21
18
60
62
63
31
- 104 -
REF.NO NOTE PART NO D E S C R I P T I O N
品 名
Qty
1 402-13923 CONVEYOR_RAIL_R_ASM
コンベアレールR組
1
2 402-13783 CONV_SUPPORT_PLATE_CL
コンベアサポートプレートCL
(1)
3 SL-6041092-TN SCREW M4 L=10
座金付き六角穴ボルト M4 L=10
(10)
4 SL-6041292-TN SCREW M4 L=12
座金付き六角穴ボルト M4 L=12
(8)
5 HX-0070600-00 MOUNT BASE
マウントベース
(9)
6 402-13941 CONVEYOR_RAIL_RC_ASM
コンベアレールRC組
(1)
7 402-13786 RAIL_GUIDE_R_CL
レールガイドR_CL
(1)
8 402-13785 CONNEYOR_RAIL_RC_CL
コンベアレールRC_CL
(1)
9 402-13922 CLAMP_CYLINDER_ASM
クランプシリンダ組
(1)
10 402-13777 CLAMP_CYLINDER
クランプシリンダ
(2)
11 402-13872 SCREW
皿小ねじ
(4)
12 401-64345 SPEED_CONTROLLER_ELB
スピードコントローラELB
(4)
13 WP-0320516-KP WASHER 3.2X10X0.5
平座金 3.2X10X0.5
(4)
14 402-13846 JOINT_COLLAR_30_50
ジョイントカラー_30_50
(2)
15 402-13843 SCREW_M3_L6
スクリュー_M3_L6
(2)
16 402-13479 PCB CLAMP DOWN SENS F ASM
基板クランプダウンセンサF組
(1)
17 E2111-715-0A0 CONVEYOR PULLEY ASM.
搬送プーリ(組)
(4)
18 E2123-721-000 PWB GUIDE PLATE F
PWBガイドプレートF
(2)
19 E2124-721-000 PWB GUIDE PLATE RA
PWBガイドプレートRA
(2)
20 E2125-721-000 PWB GUIDE PLATE RB
PWBガイドプレートRB
(2)
21 SL-6030892-TN SCREW M3 L=8
座金付き六角穴ボルト M3 L=8
(10)
22 E4105-729-0A0 SHAFT SUPPORT B ASM.
シャフトサポート組
(2)
23 SL-6041092-TN SCREW M4 L=10
座金付き六角穴ボルト M4 L=10
(4)
24 SM-4040855-SC SCREW
なべ小ねじ M4 L=8
(4)
25 SM-8030302-TP SCREW M3X3
止めねじ M3X3
(2)
26 SM-4041601-SC SCREW M4X0.7 L=16
なべ小ねじ M4X0.7 L=16
(2)
27 WP-0430800-SC WASHER M4
平座金小形丸 M4
(4)
28 401-38303 RESIST_LIGHTEN_ROLLER_ASM
レイジストライテンローラ組
(2)
29 401-38182 ROLLER_SPACER
ローラスペーサ
(2)
30 402-13942 RAIL_PLATE_RL_ASM
レールプレートRL組
(1)
31 WP-0320501-SC WASHER M3
平座金 M3
(1)
32 402-13842 CONVEYOR_RAIL_CL
コンベアレールCL
(1)
33 402-13779 RAIL_PLATE_RL_CL
レールプレートRL_CL
(1)
34 400-00839 DRIVE_PULLEY_R_ASM
ドライブプーリR組
(1)
35 400-00840 DRIVE_PULLEY_R
ドライブプーリR
(1)
36 E2160-721-000 PULLEY FLANGE
プーリフランジ
(1)
37 SL-6030892-TN SCREW M3 L=8
座金付き六角穴ボルト M3 L=8
(3)
38 402-13924 SUPPORT PLATE RL ASM
サポートプレートRL組
(1)
39 402-13778 SUPPORT_PLATE_RL_CL
サポートプレートRL_CL
(1)
40 E2111-715-0A0 CONVEYOR PULLEY ASM.
搬送プーリ(組)
(3)
41 WP-0430800-SC WASHER M4
平座金小形丸 M4
(3)
42 SM-4040855-SC SCREW
なべ小ねじ M4 L=8
(3)
43 E2055-721-000 PULLEY SPACER
プーリスペーサ
(1)
44 E2089-721-0A0 CONVEYOR PULLEY B ASM.
搬送プーリB組
(1)
45 E2111-715-0A0 CONVEYOR PULLEY ASM.
搬送プーリ(組)
(2)
46 E2160-721-000 PULLEY FLANGE
プーリフランジ
(1)
47 E3931-750-000 PULLEY WASHER
プーリ スラスト ワッシャ
(2)
48 NM-6040001-SC NUT M4X0.7 TYPE1
六角ナット M4X×0.7 1種
(1)
49 SB-8200001-00 BEARING
ころがり軸受
(2)
50 SL-6030892-TN SCREW M3 L=8
座金付き六角穴ボルト M3 L=8
(3)
51 SL-6031492-TN SCREW M3 L=14
座金付き六角穴ボルト M3 L=14
(4)
52 SL-6041092-TN SCREW M4 L=10
座金付き六角穴ボルト M4 L=10
(2)
53 SM-4040855-SC SCREW
なべ小ねじ M4 L=8
(2)
54 SM-4042501-SC SCREW M4X0.7 L=25
なべ小ねじ M4X0.7 L=25
(1)
55 SM-6051002-TN SCREW
六角穴ボルト
(8)
56 WP-0430800-SC WASHER M4
平座金小形丸 M4
(2)
57 WP-0430801-SC WASHER M4
平座金 M4
(1)
58 WS-0410002-KN SPRING WASHER M4
ばね座金 M4
(1)
59 401-38303 RESIST_LIGHTEN_ROLLER_ASM
レイジストライテンローラ組
(2)
60 SM-4041201-SC SCREW M4X0.7 L=12
なべ小ねじ M4X0.7 L=12
(2)
61 WP-0430800-SC WASHER M4
平座金小形丸 M4
(2)
62 HX-0034400-00 FIXED BASE
束線パーツ
(6)
63 SL-4030591-SC SCREW M3 L=5
座金付きなべ小ねじ M3 L=5
(6)
64 402-13925 RAIL_PLATE_RR_ASM
レールプレートRR組
(1)
65 WP-0430800-SC WASHER M4
平座金小形丸 M4
(2)
66 402-13842 CONVEYOR_RAIL_CL
コンベアレールCL
(1)
67 402-13845 RAIL_PLATE_RR_CL
レールプレートRR_CL
(1)
68 400-00839 DRIVE_PULLEY_R_ASM
ドライブプーリR組
(2)
69 400-00840 DRIVE_PULLEY_R
ドライブプーリR
(1)
70 E2160-721-000 PULLEY FLANGE
プーリフランジ
(1)
71 SL-6030892-TN SCREW M3 L=8
座金付き六角穴ボルト M3 L=8
(3)
72 401-37181 SUPPORT PLATE RR ASM
サポートプレートRR組
(1)
73 401-36816 SUPPORT_PLATE_RR
サポートパネルRR
(1)
74 E2111-715-0A0 CONVEYOR PULLEY ASM.
搬送プーリ(組)
(6)
75 WP-0430800-SC WASHER M4
平座金小形丸 M4
(6)
76 SM-4040855-SC SCREW
なべ小ねじ M4 L=8
(6)
77 E2055-721-000 PULLEY SPACER
プーリスペーサ
(1)
78 E2089-721-0A0 CONVEYOR PULLEY B ASM.
搬送プーリB組
(1)
79 E2111-715-0A0 CONVEYOR PULLEY ASM.
搬送プーリ(組)
(3)
80 E2160-721-000 PULLEY FLANGE
プーリフランジ
(2)
81 E3931-750-000 PULLEY WASHER
プーリ スラスト ワッシャ
(4)
82 NM-6040001-SC NUT M4X0.7 TYPE1
六角ナット M4X×0.7 1種
(2)
83 SB-8200001-00 BEARING
ころがり軸受
(2)
84 SL-6030892-TN SCREW M3 L=8
座金付き六角穴ボルト M3 L=8
(6)
85 SL-6031492-TN SCREW M3 L=14
座金付き六角穴ボルト M3 L=14
(4)
86 SL-6041092-TN SCREW M4 L=10
座金付き六角穴ボルト M4 L=10
(2)
87 SM-4040855-SC SCREW
なべ小ねじ M4 L=8
(2)
88 SM-4042501-SC SCREW M4X0.7 L=25
なべ小ねじ M4X0.7 L=25
(2)
89 SM-6051002-TN SCREW
六角穴ボルト
(8)
90 WP-0430800-SC WASHER M4
平座金小形丸 M4
(3)
91 WP-0430801-SC WASHER M4
平座金 M4
(2)
92 WS-0410002-KN SPRING WASHER M4
ばね座金 M4
(2)
93 401-38303 RESIST_LIGHTEN_ROLLER_ASM
レイジストライテンローラ組
(2)
94 SM-4041201-SC SCREW M4X0.7 L=12
なべ小ねじ M4X0.7 L=12
(2)
95 401-37167 GUIDE_SHAFT_ASM_L
ガイドシャフト組L
4
96 SL-6052042-TN SCREW M5 L=20
座金付き六角穴ボルト M5 L=20
(1)
97 401-36819 GUIDE_SHAFT_L
ガイドシャフトL
(1)
98 WP-0501046-SC WASHER 5 X 14 X 1
平座金 5X14X1
(2)
99 SL-6051292-TN SCREW M5 L=12
座金付き六角穴ボルト M5 L=12
(1)
100 SL-6052092-TN SCREW
座金付き六角穴ボルト
4
101 401-36817 RAIL_STAND_RL
レールスタンドRL
1
102 401-36818 RAIL_STAND_RR
レールスタンドRR
1
- 105 -
53.CLINCH UNIT COMPONENTS (8) (CONVEYOR)
クリンチユニット関係(8)(搬送)
36
35
31
28
30
16
18
17
16
18
17
15
35
33
34
32
29
15
10
11
11
12
10
13
15
27
14
19
20
15
15
15
27
26
14
14
19
20
19
20
16
18
17
21
23
25
22
24
22
25
23
24
21
22
25
23
24
21