Dual conveyor fixed conveyor side right side_20211119_083119 - 第7页
Dual conveyor fixed conveyor side right side Page 7 / 44 19.11.2021

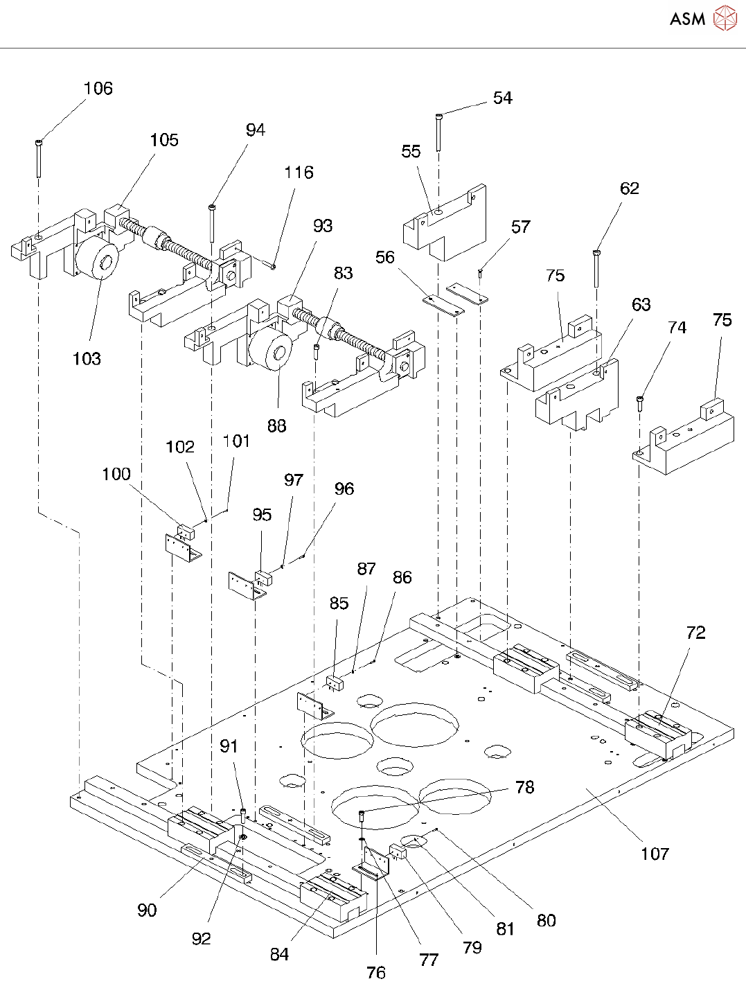
Dual conveyor fixed conveyor side right side
Page 6 / 44 19.11.2021

Dual conveyor fixed conveyor side right side
Page 7 / 44 19.11.2021

Dual conveyor fixed conveyor side right side
Page 8 / 44 19.11.2021