QE53C-E-MPA-45 - 第91页
Ref No. Remarks R 1 Q'ty 11 ノ ズル チ ェ ンジャ ( 多機能 ヘ ッド ) Nozzle Changer (Multi-Functional heads) イラスト No. Part No. 品 名 品番 数量 R 2 パー ツ リ スト Kit No. キ ット 品番 Kit Name キ ット 名称 KXFX036XA00 Part Name 備 考 セクション No . PARTS LIS…

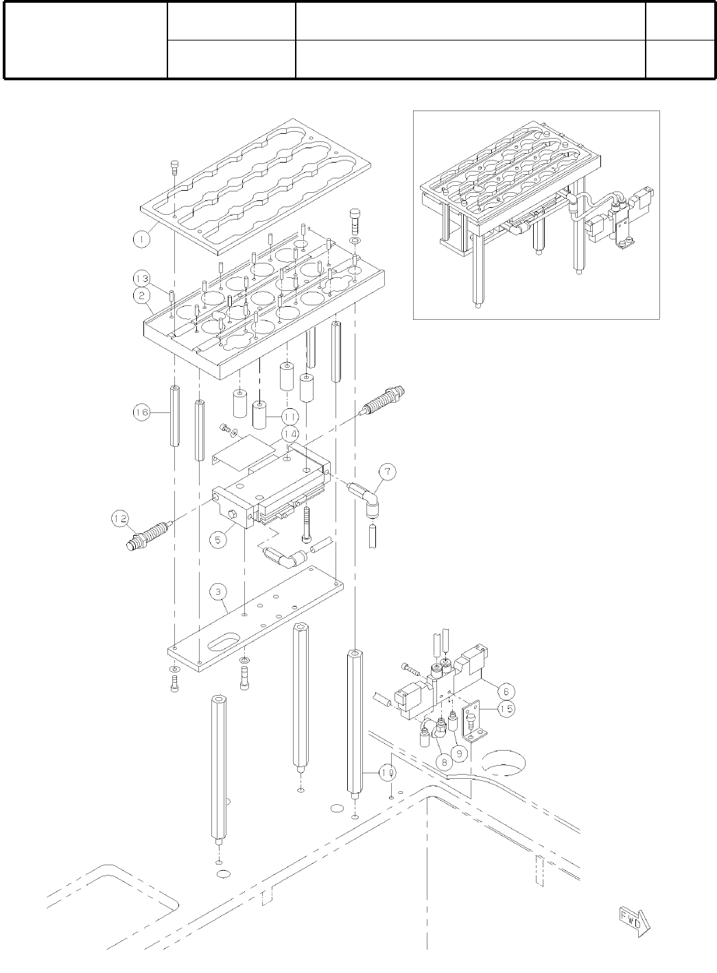
11
ノズルチェンジャ
(
多機能
ヘッド
)
Nozzle Changer (Multi-Functional heads)
パーツレイアウト
Kit No.
キット
品番
Kit Name
キット
名称
KXFX036XA00
セクション
No
.
PARTS LAYOUT
Section No.
-
-
M67
( KKXFX036XA00-04 )

Ref
No.
Remarks
R
1
Q'ty
11
ノズルチェンジャ
(
多機能
ヘッド
)
Nozzle Changer (Multi-Functional heads)
イラスト
No.
Part No.
品 名品番 数量
R
2
パーツリスト
Kit No.
キット
品番
Kit Name
キット名称
KXFX036XA00
Part Name
備 考
セクション
No
.
PARTS LIST
Section No.
R
3
SHUTTER
1
1 KXFB02K9A00
HOLDER
1
2 N210002106AA
PLATE
1
3 KXFB02KBA00
CYLINDER
1
5 N610034897AA
VALVE
1
6 KXF0A3RAA00 VQZ1220-5MO-C4
JOINT
2
7 KXF02E8AA00 KQW04-M5
JOINT
1
8 KXF02C3AA00 KQL06-M5
SILENCER
2
9 KXF00WCAA00 AN120-M5
POST
3
10 KXF0DWQ3A01 LSBWRKT-12-150-1(DA KXF0DWQ3A01)
COLLAR
4
11 KXF0CY3AA00 ABSC4-12-23.0
SHOCK-ABSORBER
2
12 KXF0D32AA00
A
RB0805
PIN
20
13 KXF02XVAA00 MS3-10
COVER
1
14 KXFB02KXA00
BRACKET
1
15 KXFB02SWA00
POST
4
16 KXF0DWQ2A00 LSBFT-7-62.4(DDA)
M68
-
-
( KKXFX036XA00-04 )

12
カッティングユニット
Cutting Unit
パーツレイアウト
Kit No.
キット
品番
Kit Name
キット
名称
KXFX036CA00
セクション
No
.
PARTS LAYOUT
Section No.
-
-
M69
( KKXFX036CA00-08 )