00198171-02_Technical_Training_FSE_TX-Series_EN - 第129页

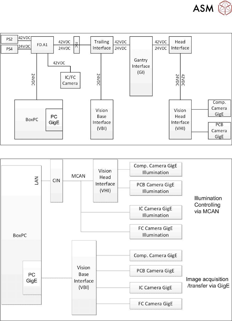
8 Control and Communication 8.10 VISION GigE Technical Training FSE SIPLACE TX-Series 01/2018 129 Vision GigE Overview Power Vision GigE Overview Camera Communication

100%1 / 168
8 Control and Communication
8.10 VISION GigE
128 Technical Training FSE SIPLACE TX-Series 01/2018
1. Ethernet connectors
2. Communication via Ethernet cable (may
be black or green)
GigE is an interface standard for high-performance industrial cameras. It provides a frame-
work for transmitting high-speed video and related control data over Ethernet networks.
It’s incompatible to the existing SIPLACE Vision System Hardware.
A GigE-network interface card (Ethernet Adapter) is inside the BoxPC.
All GigE cameras use the same sensor type number as for SIPLACE Vision with an additional
G at the end, e.g. SST23G.
The Vision communication on TX over GigE and CAN bus
The images from the Component and PCB cameras are sent digitally to the Vision Base Inter-
face (VBI).
The transfer takes place via the trailing cable “Spread Spectrum“ (without coax cable).
The images from the IC and FC cameras are sent directly to the GigE adapter in PC via the
Vision base Interface (VBI).
The machine CAN bus provides the illumination control.
The individual illumination values stored in the component shape are transferred to the cam-
era via CAN bus.
8 Control and Communication
8.10 VISION GigE
Technical Training FSE SIPLACE TX-Series 01/2018 129
Vision GigE Overview Power
Vision GigE Overview Camera Communication
8 Control and Communication
8.11 Analysis - Common Error List
130 Technical Training FSE SIPLACE TX-Series 01/2018
8.11 Analysis - Common Error List
Code Error Description Possible Cause Action
30447
30451
30456
30256
30262
Communication on GCU-
GCU fast drive bus inter-
rupted
Specified CAN bus is
switched off
Secondary CAN bus is off
Cannot initialize CAN
hardware
Cannot initialize CAN inter-
face
Problem with cable
connection
Problem with CIN
Problem with certain
content/board in the
CAN circuit
Defective MGCU
Defect adapter/HCU
Check cable con-
nection
Restart the
machine
Check the status
and switch setting
on the CIN
Check and redown-
load firmware of
the CAN interface
Check status / in-
dication on the
board related in
CAN circuit
Check status / in-
dication of MGCU/
HMCU
Replace adapter/
HCU
37752
The LED test of the cam-
era illumination failed
No image captured from
camera
Power for illumination
of camera failed
LED failed but camera
can be operated
Problem with camera
GigE
Problem of cable GigE
Check relevant cir-
cuit of power for il-
lumination
Check output relev-
ant power supply
(PS)
Check the function-
ality of camera
Check connection
of the GigE cable
33378
33520
33606
33331
Camera cannot be ad-
dressed
Board camera cannot be
addressed
Image capture from cam-
era canceled
Signal path between
PC and camera inter-
rupted
Problem with camera
Check cable con-
nection on BoxPc
Check the coax
cable connection
and trailing cable
connector
Check the camera
cable
Check the camera
and replace if ne-
cessary
30365
30572
Moving the axis is not per-
mitted, Z Axis is not in a
safe position
Incorrect time sequence
when moving Star and Z
Axis
Sporadic communica-
tion error for axis con-
trol sequence
Permitted overlap re-
gion of Star and Z
been reached
Perform head axis
reference run
Check the head
and axis
Perform overall ref-
erence run
If certain segment
defective, replace it