00198171-02_Technical_Training_FSE_TX-Series_EN - 第55页
5 Component Supply 5.6 Component Supply Pneumatic & Electrical System Technical Training FSE SIPLACE TX-Series 01/2018 55 5.6 Component Supply Pneumatic & Electrical System 5.6.1 Overview Pneumatic System Tape Cu…

5 Component Supply
5.5 Reject plate on TX
54 Technical Training FSE SIPLACE TX-Series 01/2018
5.5 Reject plate on TX
The reject plate is an option for TX1 and TX2 machine for location 1. Components with vision er-
rors can be placed on the reject plate instead of being rejected to the reject bin.
The following information of the rejected components on the reject plate will be showed:
●
Position of the component on the reject plate
●
Pickup position from where the component was picked up.(if a component was picked up from
a tray, only the level and magazine number are shown, but not the pickup position in the
magazine!)
●
Related vision dump
●
Component name
●
Component shape
If the reject plate has been fitted, it will need to be configured in the station software.
This option has to be enabled in SIPLACE Pro for the respective component / component shape.
The removal of the component from the reject plate can be confirmed with the button "Component
has been removed from reject plate". Confirmation has to be done for each component.

5 Component Supply
5.6 Component Supply Pneumatic & Electrical System
Technical Training FSE SIPLACE TX-Series 01/2018 55
5.6 Component Supply Pneumatic & Electrical System
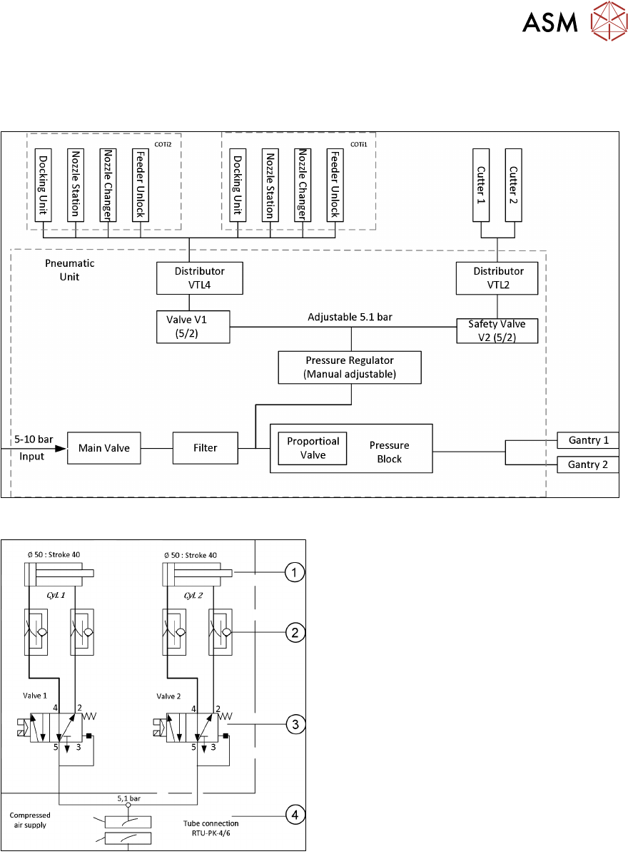
5.6.1 Overview Pneumatic System
Tape Cutter Pneumatic System
1. Drive cylinder for cutter blade movement
40mm stroke
2. Adjustable throttle valve on the pneumatic
cylinder. Timings can be checked in the
station software. See service manual for
details
3. 5/2 way magnetic valve
4. 5,1 bar compressed air supply
Cutter only active if control system on.

5 Component Supply
5.6 Component Supply Pneumatic & Electrical System
56 Technical Training FSE SIPLACE TX-Series 01/2018
Docking Unit Pneumatic System
1. Pneumatic cylinder for moving the cam
disks
2. Throttle valves for adjusting the speed of
the pneumatic should take approx. 2 –
3seconds for docking and undocking
3. Pneumatic cylinders for ejecting the COT
during the undocking procedure
4. 5/2 way valve for controlling the pneumatic
cylinder
5. Safety valve in case of electrical faults
5.6.2 Overview Electrical System
FD.A1 Fuse-/Connecting Board TX VNS Valve Nozzle Station
FDC Fuse and Distribution Connector field SRB Sensor Reject Bin
FCU Feeder Control Unit TC Tape Cutter
COTi COT insert NC Nozzle Changer
FUD Feeder Unlock Device VCOTi Valve COT-insert