P-0196-001 - 第155页
MODEL TCM-3100J-2 0108-001 153 Key No. P AR T No. P AR T NAME Q’ty REMARKS NOTE 7-2 1 630 053 0681 B RA CK ET ( M OTOR) 1 6 5 9 G - - 0 3 B - 0 1 0 1 -1 630 055 291 1 B RA CK ET (M OTOR) 1 6 5 9 G - - 0 3 B - 0 3 1 2 630…

MODEL TCM-3100J-2
0108-001
152
4
5
6
6-1
6-1
2
1
8
8
7
7
6-1
4
5
6
3
10
11
12
12
13
14
15
9
8
7
9-1
16
17
13
13
14
15
8
7
10
10
11
11
12
12
3
2
1-1
See Fig.7-1
See Fig.7-1
Key No.2
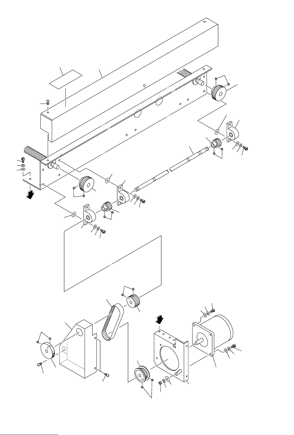
㧸ࠦࡦࡌࠕㇱ L CONVEYOR SECTION
Fig. 7-2 ࠦࡦࡌࠕ㚟േㇱ Conveyor Driver

MODEL TCM-3100J-2
0108-001
153
Key No. PART No. PART NAME Q’ty REMARKS
NOTE
7-2
1 630 053 0681 BRACKET(MOTOR) 1 659G--03B-010
1 -1 630 055 2911 BRACKET(MOTOR) 1 659G--03B-031
2 630 003 2574 GEAR,REDUCTION 2 659G--03H-016
3 630 049 0831 MOTOR,REVERSIBLE 2 M3, M8, 3RK15GN-AUL 100V
659G--03H-015
4 411 141 4107 WASHER V 5X10X1 4 FW5
5 411 141 6705 WASHER SPR 5 4 SW5
6 630 000 7824 BOLT,HEX-SCT 4 M5X45
6 -1 411 087 1109 WASHER IN TW 5 2
7 630 009 2684 PULLEY,TIMING 4 659G--03H-017
8 630 000 8944 SET SCREW 8 M5X6 SET
9 630 053 2395 BELT,TIMING 1 659G--03H-018
9 -1 630 013 6296 BELT,TIMING 1 659G--03H-036
10 411 141 4107 WASHER V 5X10X1 2 FW5
11 411 141 6705 WASHER SPR 5 2 SW5
12 630 000 7749 BOLT,HEX-SCT 2 M5X10
13 630 001 0220 WASHER 2 659G--03H-027
14 411 141 6705 WASHER SPR 5 2 SW5
15 630 000 7756 BOLT,HEX-SCT 2 M5X12
16 630 055 2935 COVER(MOTOR) 1 659G--03B-032
17 411 051 1708 SCR TRS 4X6 1 M4X6 TRS

MODEL TCM-3100J-2
0108-001
154
㧸ࠦࡦࡌࠕㇱ L CONVEYOR SECTION
Fig. 7-3 ࠼ࠗࡉࠪࡖࡈ࠻ Driving Shaft
14
14
13
13
50
5
6
6
6-1
6-1
2
5
4
1
4
3
6
6-1
6-1
7
8
2
1
9
7
8
9
23
23
22
22
21
21
7
8
9
17
17
16
16
35
36
39
37
37
37
33
38
A
34
30
30
28
20
20
29
29
24
25
26
26
27-1
27-1
25
26
27
27
A
Fig.7-3
TCM-3100J-2