Components Trolly 40_2 Slots_20211123_100054 - 第5页
Components Trolly 40/2 Slots Page 5 / 5 23.11.2021 Pos. Item no. Description Part marking 1 03089749-02 COMPONENTS TROLLEY 40/2-SLOTS 2 03089750-02 TABLE MODULE 40/2-SLOTS COMPLETE 3 03089877-01 FEEDER CENTERING 40/2-SLO…

Components Trolly 40/2 Slots
Page 3 / 5 23.11.2021

Components Trolly 40/2 Slots
Page 4 / 5 23.11.2021

Components Trolly 40/2 Slots
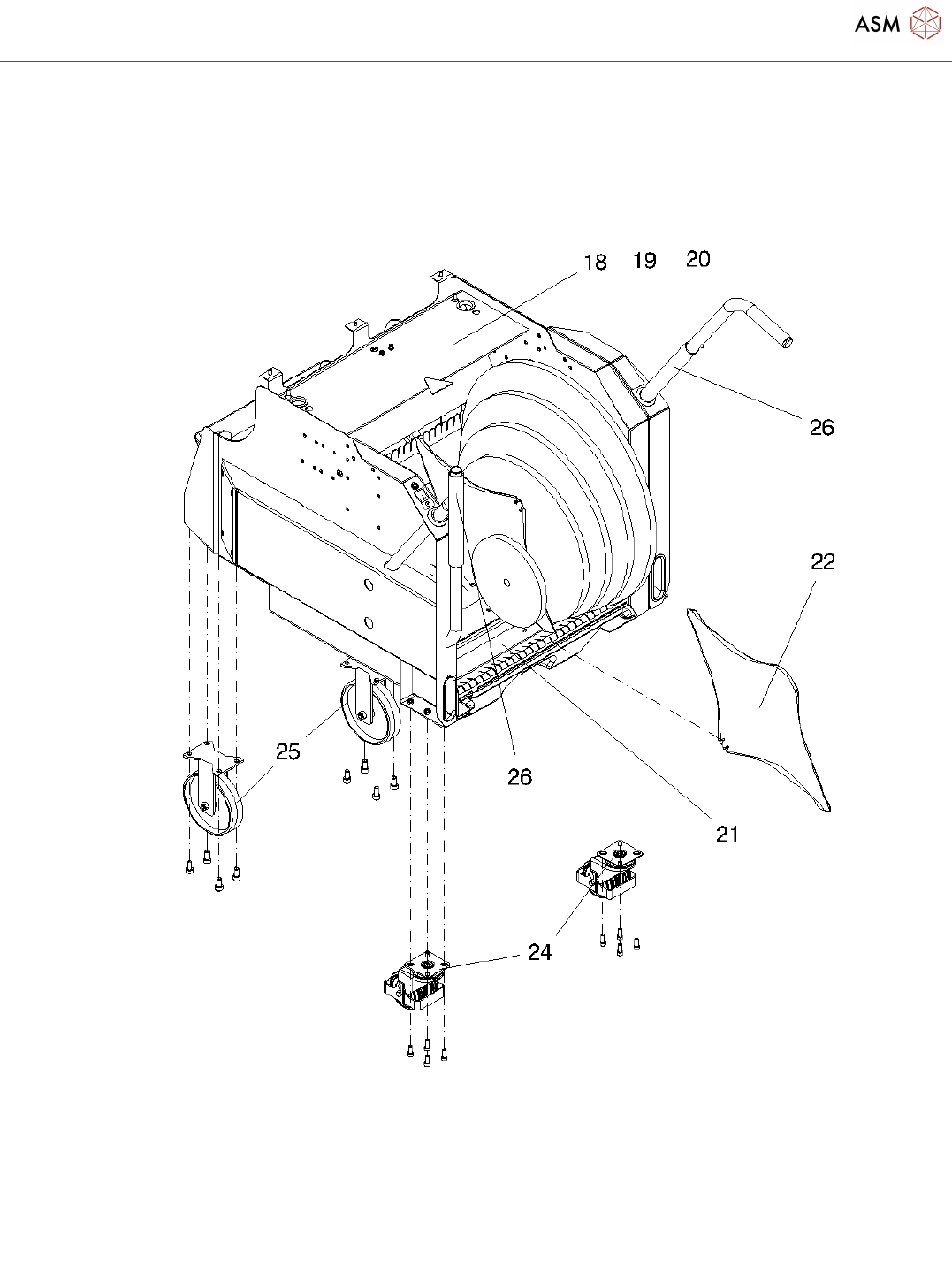
Page 5 / 5 23.11.2021
Pos. Item no. Description Part marking
1 03089749-02 COMPONENTS TROLLEY 40/2-SLOTS
2 03089750-02 TABLE MODULE 40/2-SLOTS
COMPLETE
3 03089877-01 FEEDER CENTERING 40/2-SLOTS SPARE PART
4 03009853-01 CENTERING PIN, ROUND SPARE PART
5 03082778-01 FEEDER SEALING 40 SPARE PART
6 03077142-01 COVER PLATE BOLTING RAIL SPARE PART
7 03069205-02 LATCH SPARE PART
8 03010352-01 TENSION SPRING D=0,63* D=5,6*
LO=23,3
SPARE PART
9 03020037-02 FIXING RAIL SPARE PART
10 03085636-01 ENTERING GUIDE FEEDER TYP B SPARE PART
11 03039368-03 GUIDE PROFILE SPARE PART
12 03085635-01 ENTERING GUIDE FEEDER TYP A SPARE PART
13 03009974-03 BE - TABLE - MARK /X-SERIES SPARE PART
14 03017820-01 TRACK RULER, PITCH 11.8 / X
FEEDER
SPARE PART
15 03034424-01 PROTECTIVE COVERING / TABLE X-
SERIES
SPARE PART
16 03044704-01 DIN 625 - 609/9 - 2Z
17 03013488-01 ACTUATOR AZ335, SCHMERSAL
AZ335
SPARE PART
18 03020125-05 UNDERCARRIAGE
19 03095174-01 TROLLEY PRE-ASSEMBLED / COT40
20 03095168-01 TROLLEY MOUNTING PARTS /
COT40
21 03019472-02 TAPE REEL CONTAINERCOMPL. SPARE PART
22 03011658-01 PARTITION PLATE /TAPEREEL
CONTAINER COMP
SPARE PART
23 03095170-01 ROLLER SET
24 03004958-01 GUIDE ROL LDA-VPA 75K-EL-47994 SPARE PART
25 00341918-01 FIXED ROLLER BKPA-PTH 126K SPARE PART
26 03022028-02 TUBE /L200 D26 D23 SPARE PART
27 03012658-02 WASTE CONTAINER
/COMPONENTSCARRIAGE
SPARE PART
Powered by TCPDF (www.tcpdf.org)