KE-3010_KE-3020V_KE-3020VR-Rev08 - 第151页
- 142 - NOTE( 注記 ) #01....FOR 3010 3010用 REF.NO NOTE PART NO D E S C R I P T I O N 品 名 Qty 1 401-14155 FEEDER SENS BR ASM フィーダセンサブラケット組 1 2 #01 401-14955 FEEDER_SENS BR A SM 3010 フィーダセンサブラケット組 3010 1 3 401-10192 SENSOR B…

- 141 -
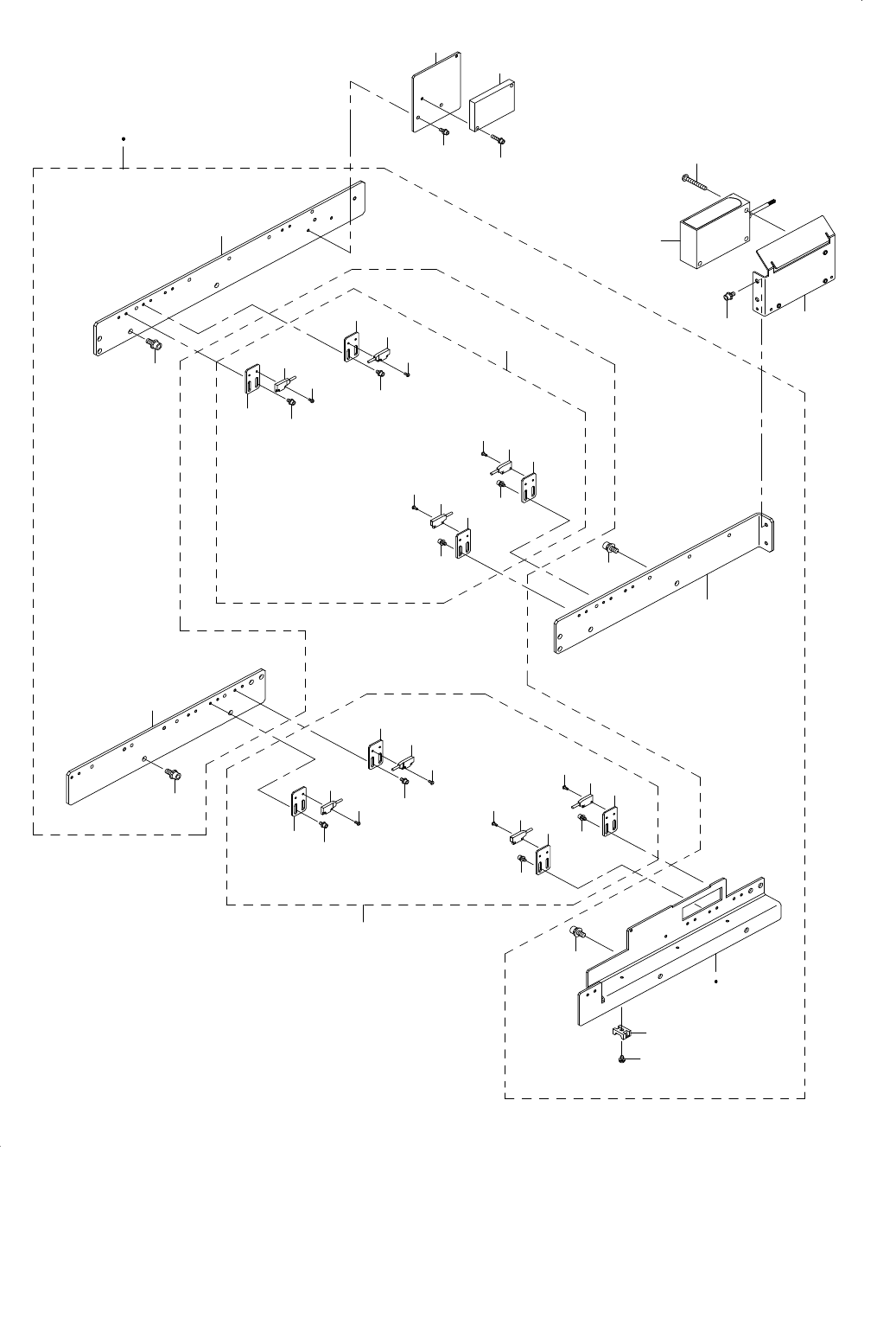
71.FEEDER BANK COMPONENTS(3)
フィーダバンク関係(3)
32
31
30
29
28
27
34
33
1
2
19
11
3
4
9
5
10
6
23
20
22
24
23
21
22
24
24
24
22
25
22
23
26
23
16
14
16
14
16
13
15
14
12
15
18
15
14
17
16
15
8
7
6
6
6

- 142 -
NOTE( 注記 ) #01....FOR 3010 3010用
REF.NO NOTE PART NO D E S C R I P T I O N
品 名
Qty
1 401-14155 FEEDER SENS BR ASM
フィーダセンサブラケット組
1
2
#01
401-14955 FEEDER_SENS BR ASM 3010
フィーダセンサブラケット組 3010
1
3 401-10192 SENSOR BR FR
センサブラケットFR
(1)
4
#01
401-14952 SENSOR BR FR 3010
センサブラケットFR 3010
(1)
5 401-14729 SENSOR BR RR
センサブラケットRR
(1)
6 SL-6051292-TN SCREW M5 L=12
座金付き六角穴ボルト M5 L=12
(8)
7 HX-0029400-00 FIXED BASE
固定ベース
(3)
8 SL-4030691-SC SCREW M3 L=6
座金付きなべ小ねじ M3 L=6
(3)
9 401-10193 SENSOR BR R
センサブラケットR
(1)
10 401-14734 SENSOR BR FL
センサブラケットFL
(1)
11 401-14156 M BANK F SENSOR ASM
MバンクFセンサ組
1
12 401-10002 FD-FLOAT(FR)EMISSIN SENS ASM
フィーダ浮きセンサ(FR)投光組
(1)
13 401-10003 FD-FLOAT(FR)RECEIVE SENS ASM
フィーダ浮きセンサ(FR)受光組
(1)
14 SM-4020501-SC SCREW M2 L=5
なべ小ねじ M2 L=5
(8)
15 401-10190 FSD BR
FSDブラケット
(4)
16 SL-6030692-TN SCREW M3 L=6
座金付き六角穴ボルト M3 L=6
(8)
17 401-10000 FD-FLOAT(FF)EMISSIN SENS ASM
フィーダ浮きセンサ(FF)投光組
(1)
18 401-10001 FD-FLOAT(FF)RECEIVE SENS ASM
フィーダ浮きセンサ(FF)受光組
(1)
19 401-14157 M BANK R SENSOR ASM
MバンクRセンサ組
1
20 401-10006 FD-FLOAT(RR)EMISSIN SENS ASM
フィーダ浮きセンサ(RR)投光組
(1)
21 401-10007 FD-FLOAT(RR)RECEIVE SENS ASM
フィーダ浮きセンサ(RR)受光組
(1)
22 SM-4020501-SC SCREW M2 L=5
なべ小ねじ M2 L=5
(8)
23 401-10190 FSD BR
FSDブラケット
(4)
24 SL-6030692-TN SCREW M3 L=6
座金付き六角穴ボルト M3 L=6
(8)
25 401-10004 FD-FLOAT(RF)EMISSIN SENS ASM
フィーダ浮きセンサ(RF)投光組
(1)
26 401-10005 FD-FLOAT(RF)RECEIVE SENS ASM
フィーダ浮きセンサ(RF)受光組
(1)
27 400-93804 REFLEKTOR
リフレクタ
1
28 SL-6031492-TN SCREW M3 L=14
座金付き六角穴ボルト M3 L=14
2
29 401-14730 ARRAY SENSOR BR
アレイセンサブラケット
1
30 401-10014 REFLEX ARRAY SENSOR ASM
反射型アレイセンサ組
1
31 SM-4043001-SF SCREW M4X30
なべねじ M4X0.7 L=30
2
32 SL-6040892-TN SCREW M4 L=8
座金付き六角穴ボルト M4 L=8
2
33 400-93992 S BR C
センサブラケットC
1
34 SL-6030892-TN SCREW M3 L=8
座金付き六角穴ボルト M3 L=8
2

- 143 -
72.FEEDER BANK COMPONENTS(4)(TYPE XL)
フィーダバンク関係(4)(XL 仕様)
5
7
2
2
2
8
10
11
13
14
17
16
4
5
4
5
5
4
18
3
18
3
2
3
18
4
3
18
1
12
6
21
20
20
21
24
24
22
23
29
25
19
26
27
28
9
15