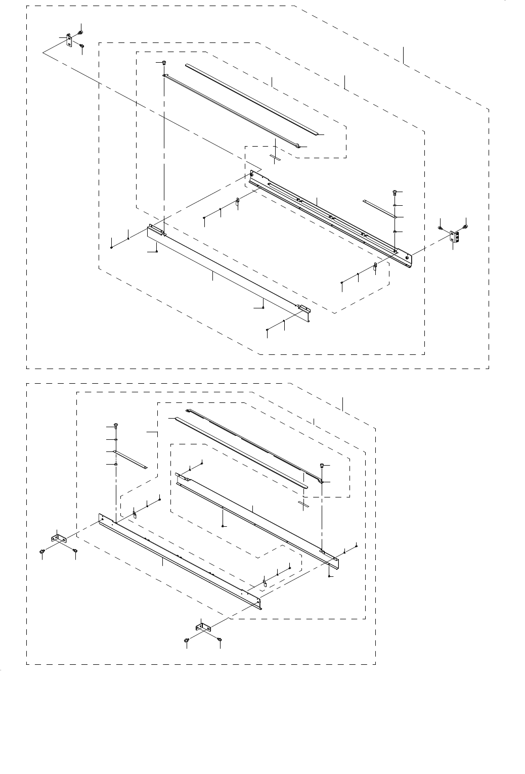
KE-3010_KE-3020V_KE-3020VR-Rev08 - 第165页
- 156 - REF.NO NOTE PART NO D E S C R I P T I O N 品 名 Qty 1 401-14946 FPI F ASM FPIフロント組 1 2 401-14948 FPI F SUB ASM FPIフロントサブ組 (1) 3 401-10740 FPI BR B FPIブラケットB (1) 4 401-10741 FPI COVER B FPIカバーB (1) 5 SM-6030402-TN S…

- 155 -
78.FPI COMPONENTS(1)
FPI 関係(1)
14
15
16
17
4
5
6
5
5
5
6
10
9
8
2
18
11
13
12
12
13
11
21
19
20
21
19
20
3
7
1
24
25
27
26
26
26
27
26
39
30
29
31
34
33
32
34
33
32
36
37
35
38
28
23
41
42
42
40
40
41
22

- 156 -
REF.NO NOTE PART NO D E S C R I P T I O N
品 名
Qty
1 401-14946 FPI F ASM
FPIフロント組
1
2 401-14948 FPI F SUB ASM
FPIフロントサブ組
(1)
3 401-10740 FPI BR B
FPIブラケットB
(1)
4 401-10741 FPI COVER B
FPIカバーB
(1)
5 SM-6030402-TN SCREW M3X4
六角穴付きボルト M3X4
(9)
6 WP-0320501-SC WASHER M3
平座金 M3
(4)
7 E6025-729-0A0 FPI COVER U20 ASM
FPIカバーU20組
(1)
8 E6025-729-000 FPI COVER U20
FPIカバーU20
(1)
9 E6028-729-000 FPI PLATE U20
FPIプレート20
(1)
10 SM-6030402-TN SCREW M3X4
六角穴付きボルト M3X4
(2)
11 400-94870 HARNESS CLAMP A
ハーネスクランプA
(2)
12 SM-6030402-TN SCREW M3X4
六角穴付きボルト M3X4
(2)
13 WP-0320501-SC WASHER M3
平座金 M3
(2)
14 E8626-729-0A0 FPI LED BOARD ASM.
FPI LED基板組
(4)
15 SM-5030801-SC SCREW M3X0.5 L=8
バインド小ねじ M3X0.5 L=8
(8)
16 E2143-715-000 TIMER SPACER A
タイマスペーサA
(8)
17 E4901-760-000 POLY SLIDER THRUST WASHER
ポリスライダスラストワッシャ
(8)
18 E6033-729-000 FPI INSULATION SHEET
FPI絶縁シート
(0.2)
19 401-10738 FPI BR F
FPIブラケットF
(2)
20 SL-6051292-TN SCREW M5 L=12
座金付き六角穴ボルト M5 L=12
(4)
21 SL-6061292-TN SCREW M6 L=12
座金付き六角穴ボルト M6 L=12
(2)
22 401-14946 FPI F ASM
FPIフロント組
1
23 401-14948 FPI F SUB ASM
FPIフロントサブ組
(1)
24 401-10740 FPI BR B
FPIブラケットB
(1)
25 401-10741 FPI COVER B
FPIカバーB
(1)
26 SM-6030402-TN SCREW M3X4
六角穴付きボルト M3X4
(9)
27 WP-0320501-SC WASHER M3
平座金 M3
(4)
28 E6025-729-0A0 FPI COVER U20 ASM
FPIカバーU20組
(1)
29 E6025-729-000 FPI COVER U20
FPIカバーU20
(1)
30 E6028-729-000 FPI PLATE U20
FPIプレート20
(1)
31 SM-6030402-TN SCREW M3X4
六角穴付きボルト M3X4
(2)
32 400-94870 HARNESS CLAMP A
ハーネスクランプA
(2)
33 SM-6030402-TN SCREW M3X4
六角穴付きボルト M3X4
(2)
34 WP-0320501-SC WASHER M3
平座金 M3
(2)
35 E8626-729-0A0 FPI LED BOARD ASM.
FPI LED基板組
(4)
36 SM-5030801-SC SCREW M3X0.5 L=8
バインド小ねじ M3X0.5 L=8
(8)
37 E2143-715-000 TIMER SPACER A
タイマスペーサA
(8)
38 E4901-760-000 POLY SLIDER THRUST WASHER
ポリスライダスラストワッシャ
(8)
39 E6033-729-000 FPI INSULATION SHEET
FPI絶縁シート
(0.2)
40 401-10738 FPI BR F
FPIブラケットF
(2)
41 SL-6051292-TN SCREW M5 L=12
座金付き六角穴ボルト M5 L=12
(4)
42 SL-6061292-TN SCREW M6 L=12
座金付き六角穴ボルト M6 L=12
(2)

- 157 -
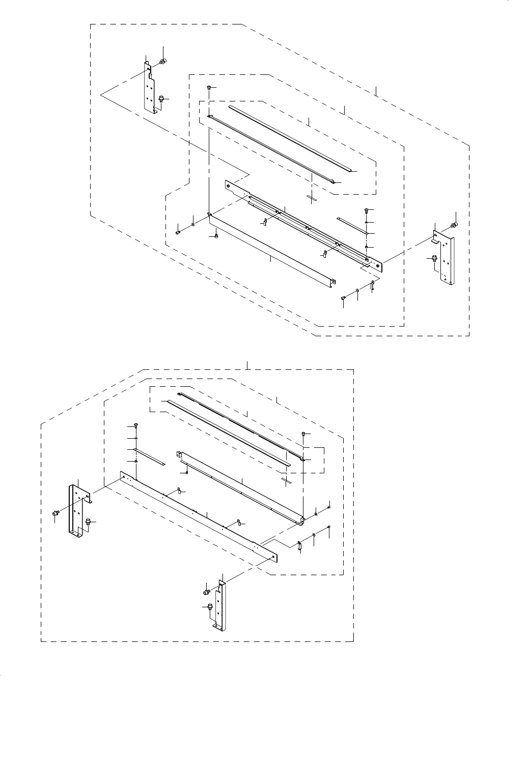
79.FPI COMPONENTS(2)(TYPE XL)
FPI 関係(2)(XL 仕様)
4
5
5
6
7
8
9
12
13
14
15
16
18
3
2
22
21
21
33
34
32
38
39
40
25
36
26
27
28
29
31
35
42
44
43
44
25
24
23
37
1
17
11
20
21
21
44
44
10
19
10
30
30
41