Pick - 第8页
Pick & place-head f. CAN-BUS Page 8 / 11 19.11.2021 Pos. Item no. Description Part marking 1 00322583S03 IC-HEAD FOR CAN-BUS Spare Part 00304135-03 IC-HEAD DRIVE 3 00304036-05 HOUSING 4 00845027-01 HEXAGON SOCKET HEA…

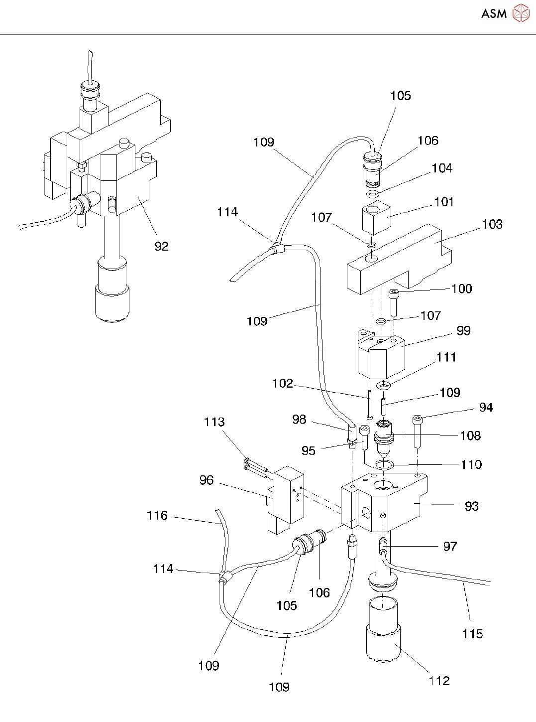
Pick & place-head f. CAN-BUS
Page 7 / 11 19.11.2021

Pick & place-head f. CAN-BUS
Page 8 / 11 19.11.2021
Pos. Item no. Description Part marking
1 00322583S03 IC-HEAD FOR CAN-BUS Spare Part
00304135-03 IC-HEAD DRIVE
3 00304036-05 HOUSING
4 00845027-01 HEXAGON SOCKET HEAD CAP
SCREW M4 X 16-8.8
5 00845029-01 HEXAGON SOCKET HEAD CAP
SCREW M4 X 25-8.8
6 00351844-01 PICK-AND-PLACE HEAD - SLEEVE,
COMPLETE
7 00304058-04 SLEEVE
8 00304061S02 SLEEVE FOR IC-HEAD
9 00304075-02 BUSH
10 00304037S06 SPRING PLATE SPARE PART
11 00304068-01 PARALLEL PIN
12 00308445S01 O-RING 6,5 * 1,6 VITON 80 WEAR PART
13 00352524S01 STAR, IC-HEAD F5-HM SPARE PART
14 00351613-01 GROUND TUBE
15 00301094-01 O-RING D3X1,5 FPM 70 SB Wear Part
16 00304041S02 VACUUM CONNECTION BLOCK SPARE PART
17 00303551S01 CLAMP RING PK3 SPARE PART
18 00303552S01 COLLET CHUCK SPARE PART
19 00303553S01 O-RING 4*1,5 NBR 62 WEAR PART
20 00304053S01 V-RING SPARE PART
21 00304043-02 BRACKET SPARE PART
22 00304054-01 HEXAGON SOCKET HEAD CAP
SCREW
23 00304044-01 SYNCHRONIZING DISK ACCORDING
TO DRAWING
24 00304057-04 BALL BEARING HOUSING
25 00304055-01 ANG CONT BALL BEAR 8X22X11
30/8.2Z 2-ROW
WEAR PART
26 00329391-01 SPECIAL SCREW F. TOOTHED BELT SPARE PART
27 00316142-01 HEXAGON NUT
28 00309319-01 ADJUSTING SHIM
29 00304069S01 TOOTHED BELT SYNCHROFLEX 6
T2/220
WEAR PART
30 00304081S01 SYNCHRONIZING DISK Spare Part

Pick & place-head f. CAN-BUS
Page 9 / 11 19.11.2021
Pos. Item no. Description Part marking
31 00304070S01 MINIATURE BALL BEARING 6*13*5
686 ZZS
WEAR PART
32 00304083-01 BOLT
33 00304090-01 SPRING WASHER
34 00048326-01 LOCK WASHER
35 00306385S02 MOTOR WITH GEAR WASHER SPARE PART
36 00306432S01 BERO 3RG4 / 4,5MM / SN=1,5MM /
1S
SPARE PART
37 00304084-02 CLAMPING PIECE
38 00304085-03 CLAMPING PIECE
39 00304091S01 BALL BEARING 5*10*14 L 510 X WEAR
40 00304092-01 PRECISION SHAFT
41 00304086S04 BALL CAGE SPARE PART
42 00304093-01 BALL 3.5 QUALITY 3 ROLLER
BEARING STEEL
43 00304094S01 O-RING 11*2,5 NBR 70 B WEAR PART
44 00304099-01 HEXAGON SOCKET HEAD CAP
SCREW
45 00304068-01 PARALLEL PIN
46 00304088S05 SLEEVE SPARE PART
47 00304100S01 COMPRESSION SPRING 1,5*22*19 SPARE PART
48 00304102S03 FLANGE SLEEVE SPARE PART
49 00304118S01 QUADRING 25*3,53 NBR 70 SHORE SPARE PART
50 00304104-06 HOLDER
51 00306387S02 VALVE REVOLVING AXIS SIPLACE IC-
HEAD
Spare Part
52 00300875-01 QUICK RELEASE FASTENER SPARE PART
53 00305483-01 HEXAGON SOCKET HEAD CAP
SCREW
54 00306383S02 MOTOR TACHO DR-AXIS SPARE PART
56 00304109S01 RUB WHEEL FOR IC-HEAD SPARE PART
57 00095212-01 HEXAGON SOCKET HEAD CAP
SCREW M3 X 6-4.8
58 00304126-01 SPACER BOLT M3X15 I/O HEX 5,5
ALUMIN. BR
SPARE PART
59 00304116-01 COVER SPARE PART
60 00304127-06 PLATE
61 00845016-01 HEXAGON SOCKET HEAD CAP