1OPERATION_ - 第22页
Safety Requirements 2 . Safety Precautions A CAUTION • In the case of large components handled by a tape feeder ( 12 mm width X 8 feed pitches or more ) , be sure to remove a pick - error component after a pick - up erro…

Safety
Requirements
2
.
Safety
Precautions
A
CAUTION
•
It
is
suggested
that
the
buttons
on
the
operation
panel
,
the
keys
on
the
touch
screen
and
air
sources
must
be
maneuvered
by
one
authorized
operator
only
.
If
there
are
more
than
one
,
ensure
good
communication
by
giving
loud
verbal
instructions
.
•
When
the
machine
stops
during
automatic
operation
,
keep
the
power
OFF
until
the
cause
is
completely
resolved
.
12
0104
-
002
ACP
01
EOP
12

Safety
Requirements
2
.
Safety
Precautions
A
CAUTION
•
In
the
case
of
large
components
handled
by
a
tape
feeder
(
12
mm
width
X
8
feed
pitches
or
more
)
,
be
sure
to
remove
a
pick
-
error
component
after
a
pick
-
up
error
has
occurred
and
then
start
the
automatic
operation
.
®
•
Do
not
use
a
pneumatic
bulk
feeder
.
If
the
pneumatic
bulk
feeder
is
set
to
the
component
supply
section
,
the
air
supply
section
will
touch
and
damage
the
linear
measure
detection
sensor
.
0
Air
Supply
Section
-
13
0104
-
003
ACPOIEOPI
3

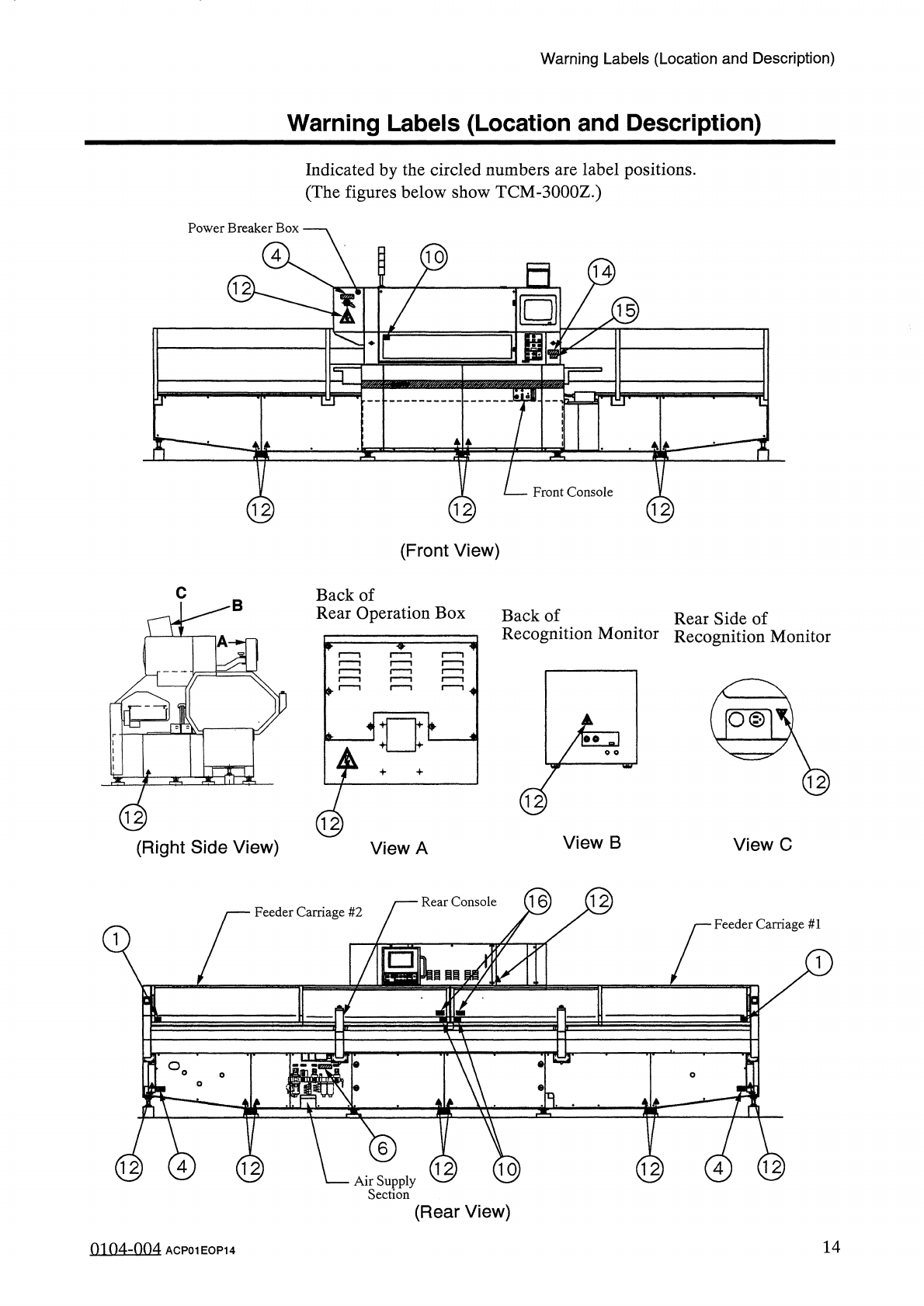
Warning
Labels
(
Location
and
Description
)
Warning
Labels
(
Location
and
Description
)
Indicated
by
the
circled
numbers
are
label
positions
.
(
The
figures
below
show
TCM
-
3000
Z
.
)
Power
Breaker
Box
s
14
J
D
/
£
r
L
£
T
L
£
J
一
ft
ft
^
!
!
1
Front
Console
12
J
(
Front
View
)
Back
of
Rear
Operation
Box
Back
of
Rear
Side
of
Recognition
Monitor
Recognition
Monitor
A
T
*
+
+
12
J
12
J
View
B
View
C
(
Right
Side
View
)
View
A
Feeder
Carriage
#
2
Feeder
Carriage
#
1
7
i
^
TW
1
12
)
(
4
4
)
Cl
2
]
Air
Supply
Section
(
Rear
View
)
14
0104
-
004
ACP
01
EOP
14