Mounting el. 2D-Barcode X-Series S SC_20211122_065045.pdf - 第3页

Mounting el. 2D-Barcode X-Series S SC Page 3 / 3 22.11.2021 Pos. Item no. Description Part marking 00166665S01 ELECTRIC KIT 2D BARCODE X- SERIES S SL RETROFIT KIT 00166665S01 ELECTRIC KIT 2D BARCODE X- SERIES S SL RETROF…

100%1 / 3
Mounting el. 2D-Barcode X-Series S SC
Page 1 / 3 22.11.2021
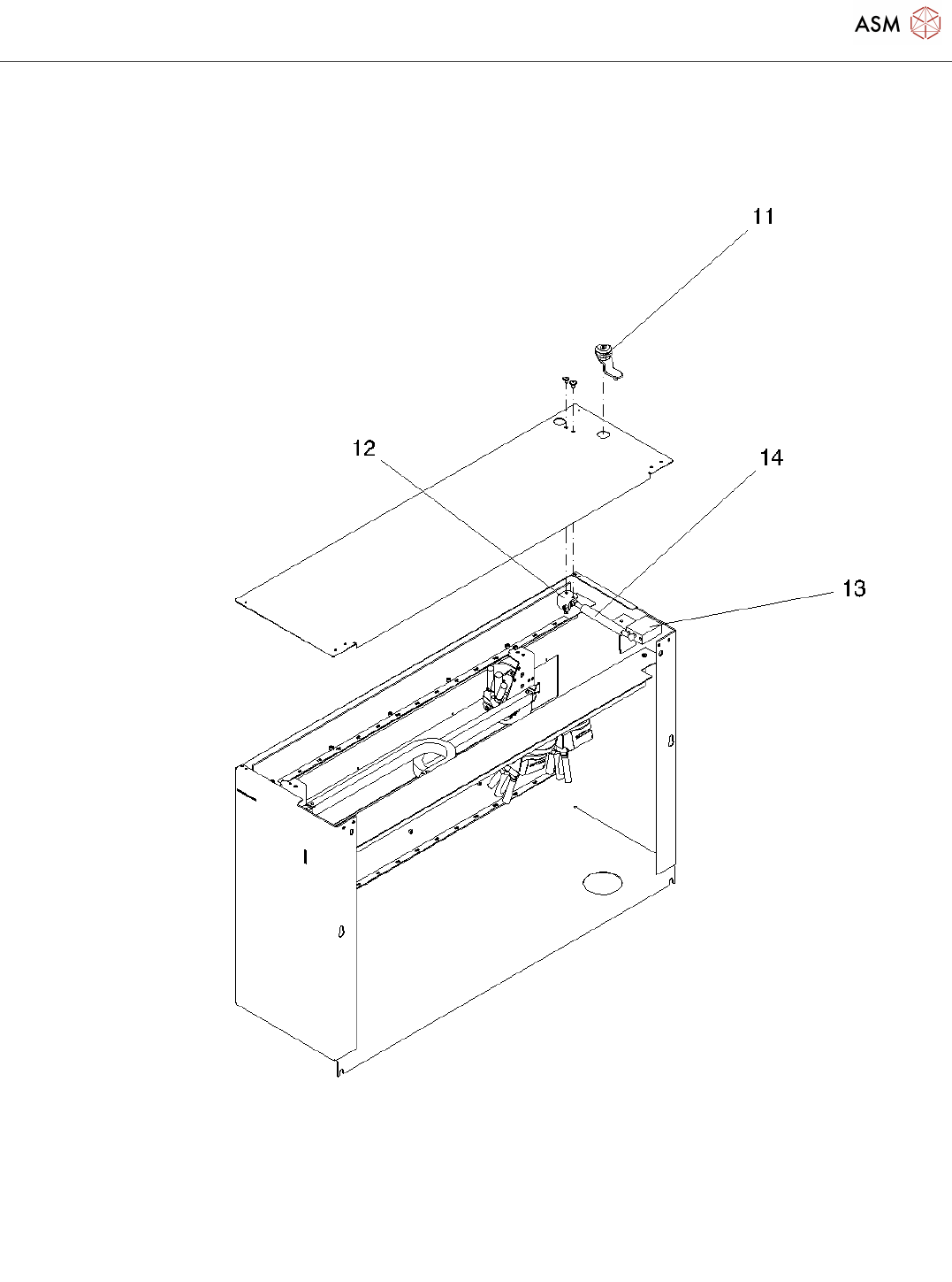
Mounting el. 2D-Barcode X-Series S SC
Page 2 / 3 22.11.2021
Mounting el. 2D-Barcode X-Series S SC
Page 3 / 3 22.11.2021
Pos. Item no. Description Part marking
00166665S01 ELECTRIC KIT 2D BARCODE X-
SERIES S SL
RETROFIT KIT
00166665S01 ELECTRIC KIT 2D BARCODE X-
SERIES S SL
RETROFIT KIT
03104886-01 ASSEM.KIT 2X BC SCANNER
LECTOR-620 LANE1
03104891-03 CABLE BC SCANN. LECTOR-620
LANE 1 BOTTOM
SPARE PART
00304932-01 AMPMODU CONNECTOR SOCKET
2X5POLE
SPARE PART
03104892-02 CABLE BC SCANNER LECTOR-620
LANE 1 TOP
SPARE PART
00304932-01 AMPMODU CONNECTOR SOCKET
2X5POLE
SPARE PART
03104896-01 CABLE W/ CONNECTOR 2M
SSL-2J04-G02ME
SPARE PART
03104923-01 CABLE DC 5V ETHERNET HUB
10 03100529-02 ASSEMBLY KIT FLAP PCB-BARCODE
X-SERIES S
SPARE PART
11 03002448-01 SCHLOSS MIT DOPPELBART/RIEGEL
T=38
12 03101367-02 HOLDER OIL BRAKE
13 03101371-01 HOLDING BLOCK OIL BRAKE
14 03106777-01 GAS SPRING 6-15 SPARE PART
03118416-01 LAN CARD PCI EXPRESS 2X GIGABIT
LAN
SPARE PART
Powered by TCPDF (www.tcpdf.org)