3MAINTENANCE__O.pdf - 第15页

1.3 Maintenance Spots ( 1 ) Air Source Main Air Pressure 1 D 2 Daily Inspection Confirm that the air pressure is “ 0.39 MPa ( 4 Kgf / c m 2 ) ” • Otherwise , the adjustment is required . Air Blowing Pressure 1 D 3 Daily …

100%1 / 201
1.3
Maintenance
Spots
1.3
.
2
Inspection
,
Cleaning
,
and
Lubrication
Spots
Clarified
in
this
session
are
each
individual
spots
of
the
machine
to
be
maintained
.
Refer
to
1.5
Checklist
for
Maintenance
for
periodic
maintenance
.
View
of
Inspection
,
Cleaning
,
and
Lubrication
Spots
(
Example
of
Identification
)
Main
Air
Pressjire
Daily
Inspecti
on
Confirm
that
the
air
pressure
is
0.39
MPa
(
4
Kgf
/
c
m
2
)
Otherwise
,
the
adjustment
is
required
.
1
1
1
lOnri
.
Op
Maintenance
Spot
Cycle
and
Contents
of
Maintenance
Details
of
Maintenance
@
Maintenance
Spot
No
.
These
are
used
in
1.5
Checklist
for
Maintenance
.
ID
No
.
ID
Number
(
0
,
1
2
Cycle
of
Maintenance
ID
:
Every
Day
1
W
:
Every
Week
1
M
:
Every
Month
3
M
:
Every
3
Months
6
M
:
Every
6
Months
1
Y
:
Every
Year
9910
-
005
ACP
01
EIN
1
-
9
1
9
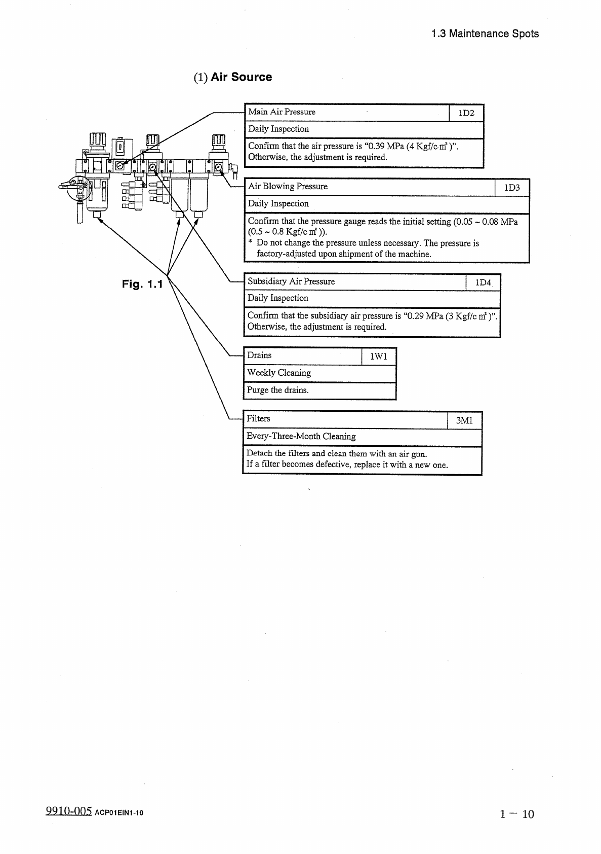
1.3
Maintenance
Spots
(
1
)
Air
Source
Main
Air
Pressure
1
D
2
Daily
Inspection
Confirm
that
the
air
pressure
is
0.39
MPa
(
4
Kgf
/
c
m
2
)
Otherwise
,
the
adjustment
is
required
.
Air
Blowing
Pressure
1
D
3
Daily
Inspection
Confirm
that
the
pressure
gauge
reads
the
initial
setting
(
0.05
-
0.08
MPa
(
0.5
~
0.8
Kgf
/
c
m
2
)
)
.
"
*
Do
not
change
the
pressure
unless
necessary
.
The
pressure
is
factory
-
adjusted
upon
shipment
of
the
machine
.
Subsidiary
Air
Pressure
1
D
4
Fig
.
1.1
Daily
Inspection
Confiim
that
the
subsidiary
air
pressure
is
0.29
MPa
(
3
Kgf
/
c
m
2
)
.
Otherwise
,
the
adjustment
is
required
.
Drains
1
W
1
Weekly
Cleaning
Purge
the
drains
.
Filters
3
M
1
Eveiy
-
Three
-
Month
Cleaning
Detach
the
filters
and
clean
them
with
an
air
gun
.
If
a
filter
becomes
defective
,
replace
it
with
a
new
one
.
QQin
-
no
5
1
10
ACP
01
EIN
1
-
10
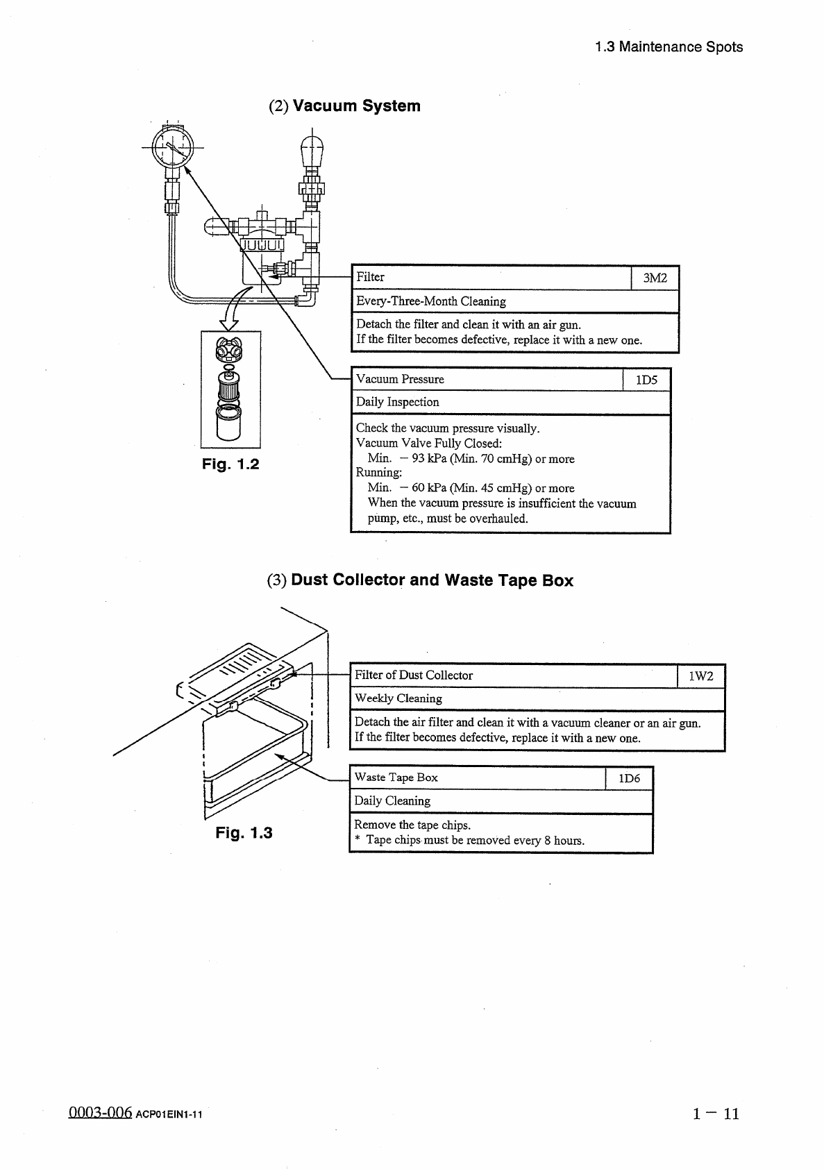
1.3
Maintenance
Spots
(
2
)
Vacuum
System
s
m
ii
gonu
Filter
3
M
2
Eveiy
-
Three
-
Month
Cleaning
Detach
the
filter
and
clean
it
with
an
air
gun
.
If
the
filter
becomes
defective
,
replace
it
with
a
new
one
.
Vacuum
Pressure
1
D
5
Daily
Inspection
Check
the
vacuum
pressure
visually
.
Vacuum
Valve
Fully
Closed
:
Min
.
93
kPa
(
Min
.
70
cmHg
)
or
more
Running
:
Min
.
60
kPa
(
Min
.
45
cmHg
)
or
more
When
the
vacuum
pressure
is
insufficient
the
vacuum
pump
,
etc
.
,
must
be
overhauled
.
Fig
.
1.2
(
3
)
Dust
Collector
and
Waste
Tape
Box
Filter
of
Dust
Collector
1
W
2
Weekly
Cleaning
Detach
the
air
filter
and
clean
it
with
a
vacuum
cleaner
or
an
air
gun
.
If
the
filter
becomes
defective
,
replace
it
with
a
new
one
.
Waste
Tape
Box
1
D
6
Daily
Cleaning
Remove
the
tape
chips
.
*
Tape
chips
must
be
removed
every
8
hours
.
Fig
.
1.3
1
11
onn
^
-
no
6
ACP
01
EIN
1
-
11