3MAINTENANCE__O.pdf - 第62页
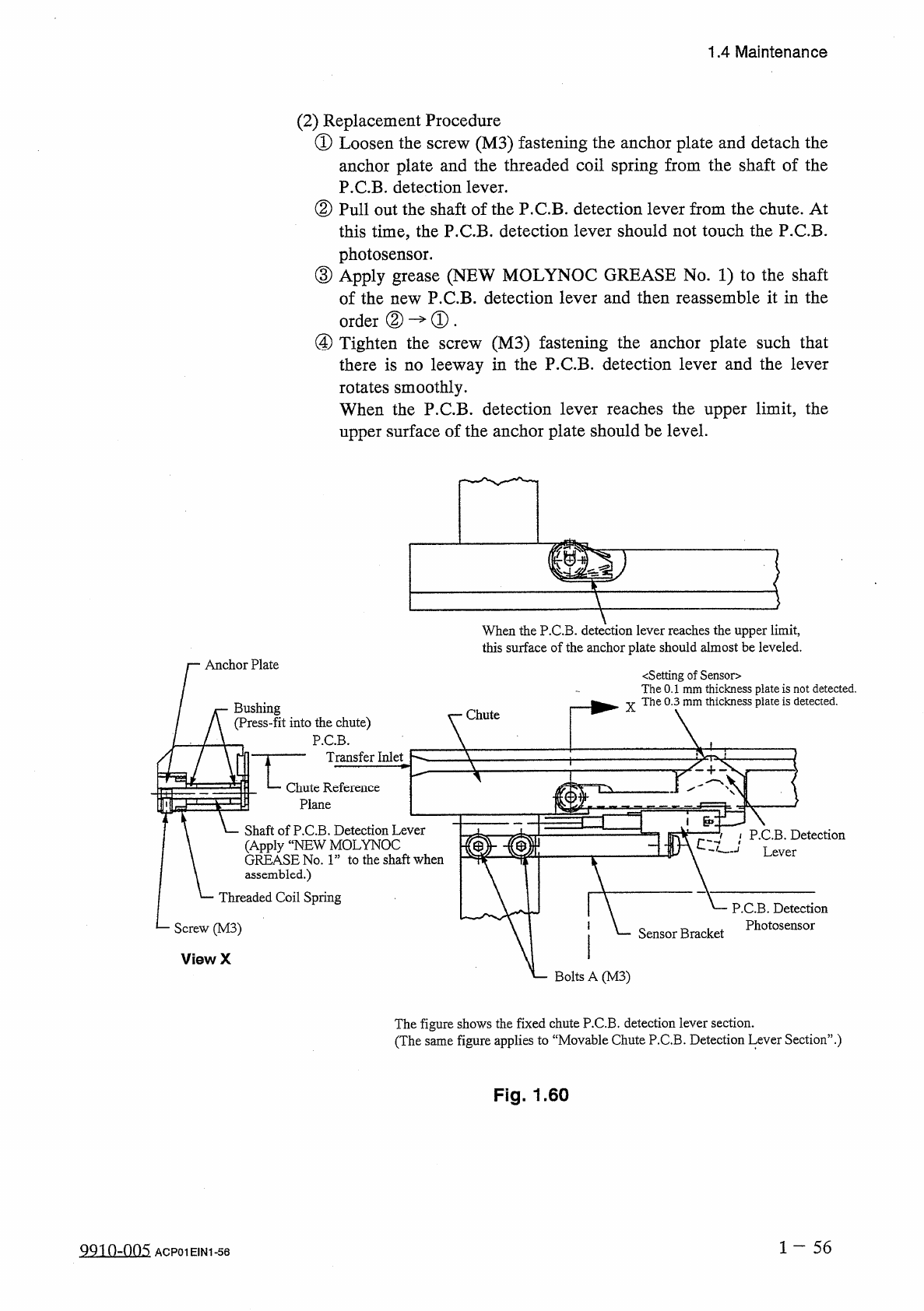
1.4 Maintenance ( 2 ) Replacement Procedure ① Loosen the screw ( M 3 ) fastening the anchor plate and detach the anchor plate and the threaded coil spring from the shaft of the P . C . B . detection lever . ② Pull out th…

1.4
Maintenance
1.4
.
7
Replacement
of
P
.
C
.
B
.
Detection
Levers
There
are
two
P
.
C
.
B
.
detection
levers
-
one
on
the
movable
chute
side
and
the
other
on
the
fixed
chute
side
.
k
f
Q
Fixed
Chute
P
.
C
.
B
.
Detection
Lever
Movable
Chute
P
.
C
.
B
.
Detection
Lever
Fig
.
1.58
(
1
)
Time
of
Replacement
Replace
the
levers
whenever
the
tips
get
worn
and
a
P
.
C
.
B
.
cannot
be
detected
.
Setting
of
Sensor
The
0.1
mm
thickness
plate
is
not
detected
.
The
0.3
mm
thickness
plate
is
detected
.
Chute
X
P
.
C
.
B
.
Transfer
Inlet
i
&
:
P
.
C
.
B
.
Detection
Lever
m
-
-
fa
P
.
C
.
B
.
Detection
Photosensor
Sensor
Bracket
'
—
Bolts
A
(
M
3
)
The
figure
shows
the
fixed
chute
P
.
C
.
B
.
detection
lever
section
.
(
The
same
figure
applies
to
“
Movable
Chute
P
.
C
.
B
.
Detection
Lever
Section
”
.
)
Fig
.
1.59
QQ
10
-
005
1
-
5 5
ACP
01
EIN
1
-
55

1.4
Maintenance
(
2
)
Replacement
Procedure
①
Loosen
the
screw
(
M
3
)
fastening
the
anchor
plate
and
detach
the
anchor
plate
and
the
threaded
coil
spring
from
the
shaft
of
the
P
.
C
.
B
.
detection
lever
.
②
Pull
out
the
shaft
of
the
P
.
C
.
B
.
detection
lever
from
the
chute
.
At
this
time
,
the
P
.
C
.
B
.
detection
lever
should
not
touch
the
P
.
C
.
B
.
photosensor
.
③
Apply
grease
(
NEW
MOLYNOC
GREASE
No
.
1
)
to
the
shaft
of
the
new
P
.
C
.
B
.
detection
lever
and
then
reassemble
it
in
the
order
②
—
①
.
④
Tighten
the
(
M
3
)
fastening
the
anchor
plate
such
that
there
is
no
leeway
in
the
P
.
C
.
B
.
detection
lever
and
the
lever
rotates
smoothly
.
When
the
P
.
C
.
B
.
detection
lever
reaches
the
upper
limit
,
the
upper
surface
of
the
anchor
plate
should
be
level
.
screw
When
the
P
.
C
.
B
.
detection
lever
reaches
the
upper
limit
,
this
surface
of
the
anchor
plate
should
almost
be
leveled
.
Anchor
Plate
〈
Setting
of
Sensor
>
The
0.1
mm
thickness
plate
is
not
detected
.
The
0.3
mm
thickness
plate
is
detected
.
X
Bushing
Chute
(
Press
-
fit
into
the
chute
)
P
.
C
.
B
.
Transfer
Inlet
7
^
-
Chute
Reference
Plane
通
Shaft
of
P
.
C
.
B
.
Detection
Lever
(
Apply
“
NEW
MOLYNOC
GREASE
No
.
1
”
to
the
shaft
when
assembled
.
)
Threaded
Coil
Spring
P
.
C
.
B
.
Detection
Lever
P
.
C
.
B
.
Detection
Photosensor
Screw
(
M
3
)
Sensor
Bracket
ViewX
L
Bolts
A
(
M
3
)
The
figure
shows
the
fixed
chute
P
.
C
.
B
.
detection
lever
section
.
(
The
same
figure
applies
to
“
Movable
Chute
P
.
C
.
B
.
Detection
Lever
Section
’
’
.
)
Fig
.
1.60
1
-
56
QQ
10
-
005
ACP
01
EIN
1
-
56

1.4
Maintenance
(
3
)
Setting
and
Checking
of
P
.
C
.
B
.
Detection
Photosensor
(
See
Fig
.
2.9
)
Insert
a
thickness
gauge
between
the
chute
reference
plane
and
the
end
of
the
P
.
C
.
B
.
detection
lever
and
check
how
a
P
.
C
.
B
.
is
detected
.
•
The
0.1
mm
thickness
plate
is
not
detected
.
•
The
0.3
mm
thickness
plate
is
detected
.
When
the
above
requirement
is
not
met
,
loosen
Bolts
A
(
M
3
)
and
move
the
sensor
bracket
up
Tighten
Bolts
A
(
M
3
)
at
a
place
where
the
sensor
bracket
is
correctly
positioned
and
set
securely
.
down
until
rightly
set
.
or
1
—
57
QQin
~
nn
5
ACP
01
E
1
N
1
-
57