维修手册 - 第96页
AV131 维修手册 4.2 气动控 制 D79MCC-14- 030-A0 4.2- 3 4.2. 2 气动线路图

AV131
维修手册
4.2 气动控制
D79MCC-14-030-A0
4.2-2
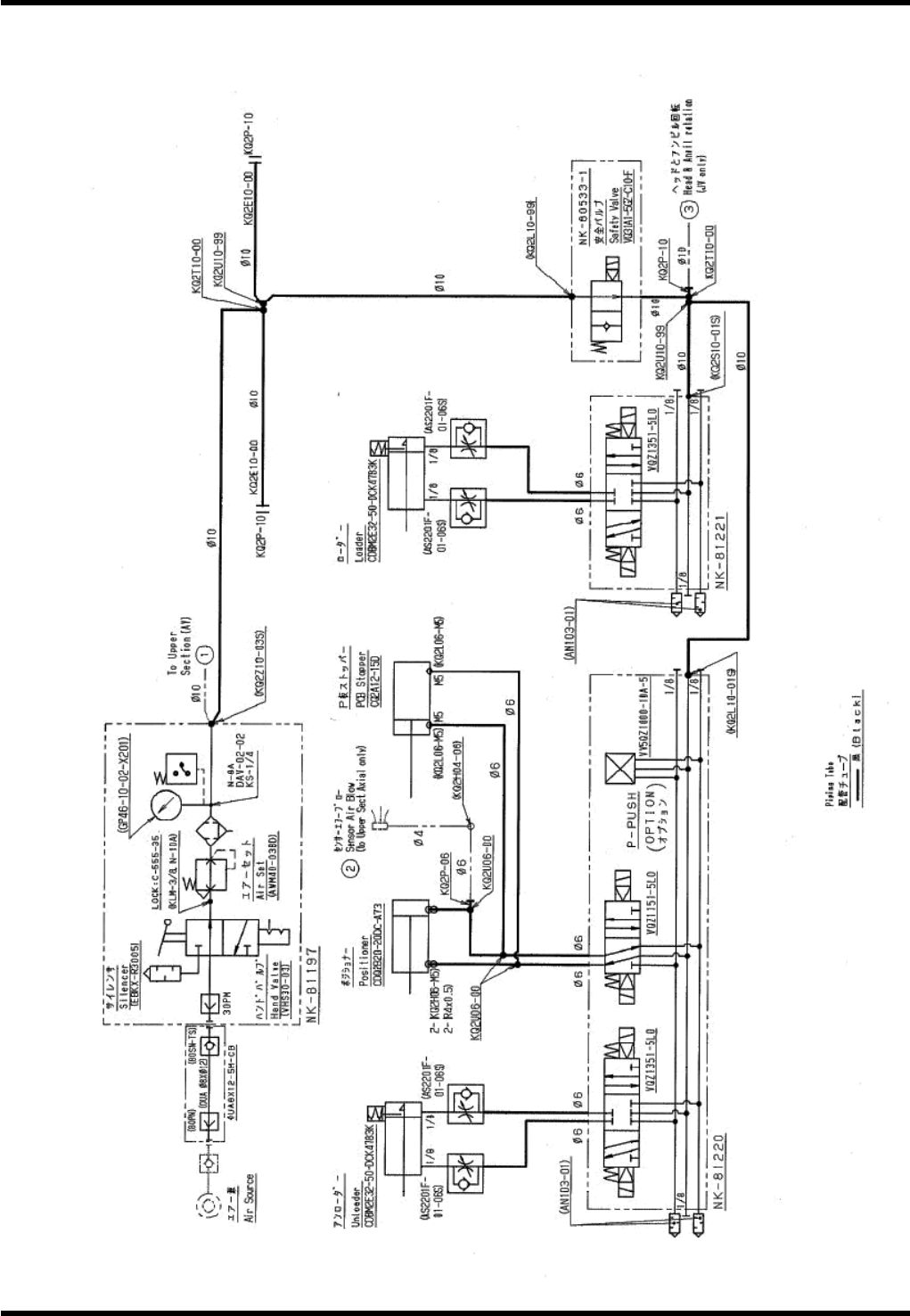
1.
1. 吹气
2. 滑动夹停
3. 排气滤清器
4. 吹气用电磁阀
5. 调压器 (用于编带切刀)
6. 调压器 (用于吹气装置)
7. 26 mm 交接夹的电磁阀
52 mm 交接夹的电磁阀
传送间距切换
8. 传送夹 (1) 电磁阀
传送夹 (2) 电磁阀
传送夹 (3) 电磁阀
传送夹 (4) 电磁阀
9. 换向阀
10. 注油器
11. 编带切刀减震器气缸
12. 定位器气缸
13. 左轨道气缸
14. 真空泵
15. 气凝装置
16. 右轨道气缸
17. PCB (基板) 止动器的气缸
18. 设置 J.W. (跳线) 的气缸
19. 安全阀
20. 右轨道电磁阀
定位器电磁阀
21. 左轨道电磁阀
22. 设置 J.W.的电磁阀
编带切刀减震器电磁阀
夹头滑动止挡电磁阀

AV131
维修手册
4.2 气动控制
D79MCC-14-030-A0
4.2-3
4.2.2 气动线路图

AV131
维修手册
4.2 气动控制
D79MCC-14-030-A0
4.2-4