OPERATING MANAUAL(FOR ENGINEERS) - 第48页
Page 1-12 Specifications of Units 1-4-3 Board Flow Direction CM88S-M / M1/ MU ∗ Board flow direction and reference position are changed as an option. CM88C-D ∗ Board flow direction and reference position are changed as a…

Page 1-11
FUNCTIONS
1
Specifications of Units
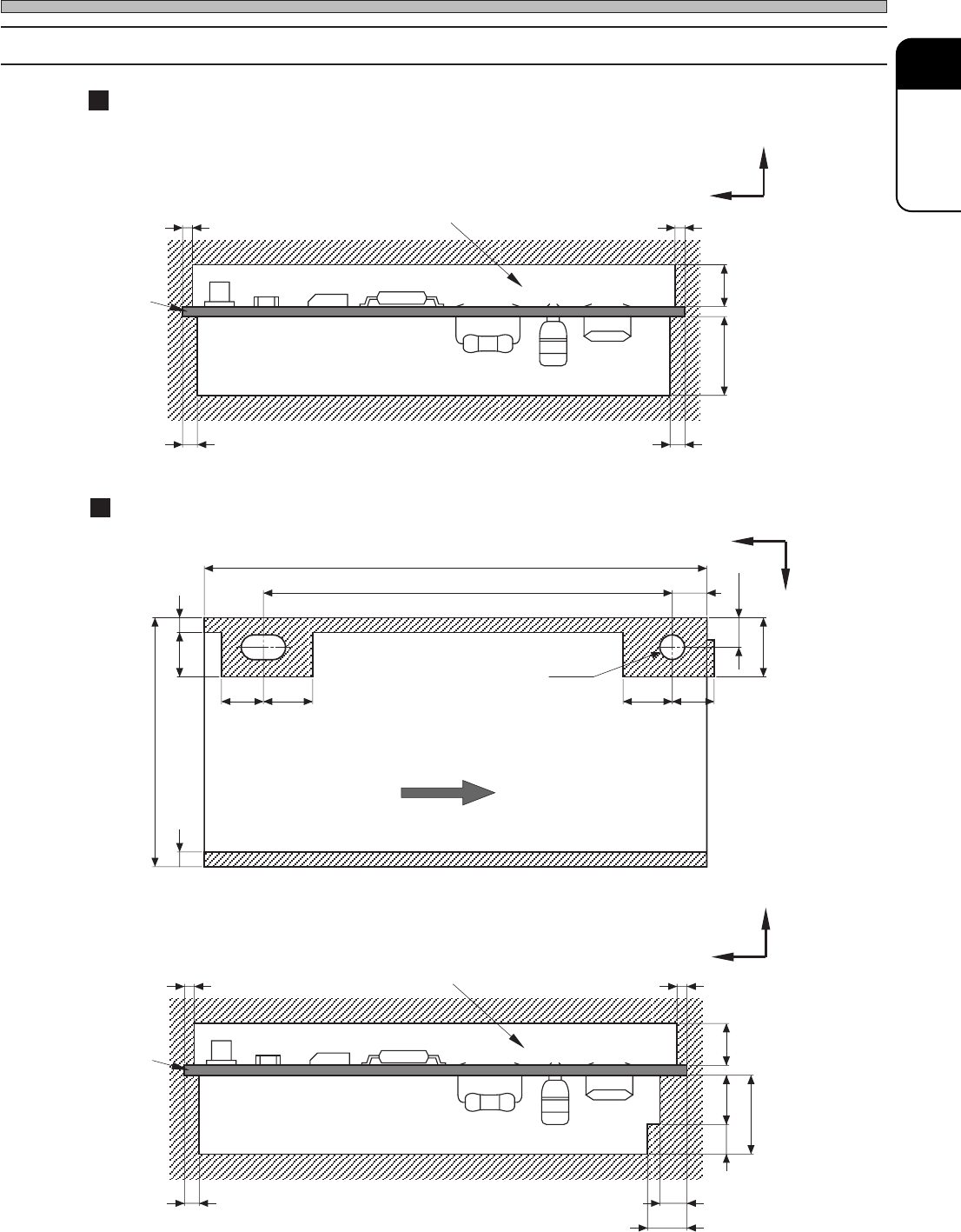
1-4-2 Mounting Range
Board edge reference
Single- / dual-sided mounting
Pin reference (option)
Single- / dual-sided mounting
Space for mounting
Board
Space for transporting
Space for mounting
Board flow direction
Space for mounting
Board
Space for transporting
3
4
3
6.5
25
4
Z
Y
8
6
10
X
Y
3
8
6
3
50 to 330 (CM88C-D : 50 to 460)
27 to 320 (CM88C-D : 27 to 450)
5
±0.1
5
±0.1
50 to 250 (CM88C-D : 50 to 360)
Z
Y
3
4
3
8
11
6.5
10
15
25
3Y3C-029E
3Y3C-030E
3Y3C-031E
3Y3C-E-EMD01-A01-03
4
+0.1
0
φ
4
+0.1
0
Unit : mm

Page 1-12
Specifications of Units
1-4-3 Board Flow Direction
CM88S-M / M1/ MU
∗ Board flow direction and reference position are changed as an option.
CM88C-D
∗ Board flow direction and reference position are changed as an option.
3Y3C-E-EMD01-A01-04
Reference
Automatic width
adjustment
Operator
Fixed side
X
Y
3Y3C-032E
Board flow direction
Reference
Automatic width
adjustment
Operator
Fixed side
X
Y
Board flow direction
3Y3C-157E

Page 1-13
FUNCTIONS
1
3Y3C-E-EMD01-A01-02
Specifications of Units
1-4-4 Outer Dimensions
CM88S-M
CM88S-M1
Rear touch panel
Board transport direction
6,250
910
2,250 910
547
162
708
1,724
4G3C-201E
900
1,800
1,930
2,000
Board transport
height
3Y3C-034E
Rear touch panel
Fixed side
3,310
548
2,250
547
162
708
1,724
548
4G3C-202E
3Y3C-155E
1,800
1,930
2,000
900
Board transport
height
Fixed side
Board transport direction
Unit : mm
240
940
1,810
Atmospheric temperature control unit
Atmospheric temperature
control unit