OPERATING MANAUAL(FOR ENGINEERS) - 第50页
Page 1-14 3Y3C-E-EMD01-A01-03 Specifications of Units CM88C-D Rear touch panel Fixed side 6,250 910 2,250 297 162 708 1,944 910 1,930 1,800 900 2,000 Board transport height 3Y3C-156E 3Y3C-034E Board transport direction C…

Page 1-13
FUNCTIONS
1
3Y3C-E-EMD01-A01-02
Specifications of Units
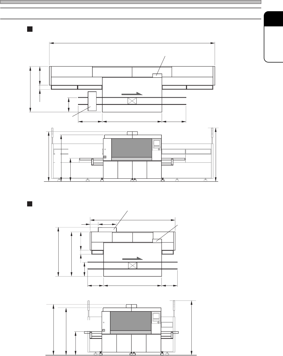
1-4-4 Outer Dimensions
CM88S-M
CM88S-M1
Rear touch panel
Board transport direction
6,250
910
2,250 910
547
162
708
1,724
4G3C-201E
900
1,800
1,930
2,000
Board transport
height
3Y3C-034E
Rear touch panel
Fixed side
3,310
548
2,250
547
162
708
1,724
548
4G3C-202E
3Y3C-155E
1,800
1,930
2,000
900
Board transport
height
Fixed side
Board transport direction
Unit : mm
240
940
1,810
Atmospheric temperature control unit
Atmospheric temperature
control unit

Page 1-14
3Y3C-E-EMD01-A01-03
Specifications of Units
CM88C-D
Rear touch panel
Fixed side
6,250
910
2,250
297
162
708
1,944
910
1,930
1,800
900
2,000
Board transport
height
3Y3C-156E
3Y3C-034E
Board transport direction
CM88S-MU
Rear touch panel
Fixed side
6,250
2,250
297
162 708
1,724
910
1,980
1,850
950
2,050
Board transport
height
4W3C-201E
4W3C-202E
Board transport direction
910
1,810
1,502
1,093
Atmospheric temperature control unit

Page 1-15
FUNCTIONS
1
1-5 Other Specifications
1-5-1 Specifications for Corresponding Board
Items
Specifications
Board size
Conveying direction
H (board thickness)
mm
Available range of
board warp
Less than 1.0 mm
Warp extent
Cross section of board
Board recognition
mark
Reference mark shapes
Board recognition correction uses the relationship between a recognition mark and
circuit pattern.
A given contrast level is required to the recognition mark and board (binary contrast
image).
Mark size and background
For the background of mark, it needs non-interfered area more than a given dimensions
different from that mark .
Non-interfered area
a ≥ more than 2 mm
Mark is not always black
L (length) mm
W (width) mm
3Y3C-035E
1 23 4 5 6
3Y3C-048E
3Y3C-E-EMD01-A01-03
Mark
Max. (mm)
(L)×(W)
Min. (mm)
(L)×(W)
L (mm)
W (mm)
H (mm)
50×50
CM88S-M/M1/MU
330×250
50 to 330
50 to 250
0.5 to 2.5
CM88C-D
460×360
50 to 460
50 to 360
0.5 to 4.0
a
a
aa
3F3C-IL012