00198171-02_Technical_Training_FSE_TX-Series_EN - 第56页
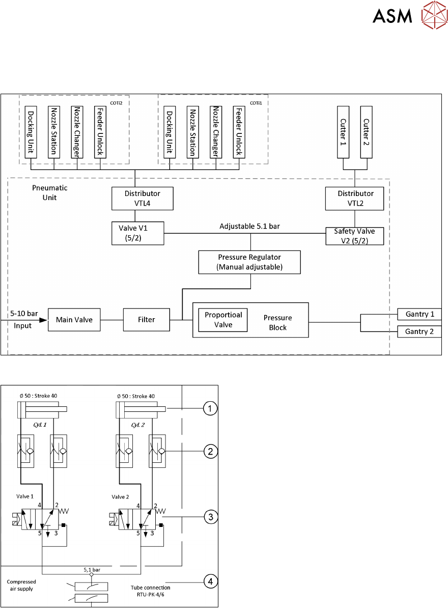
5 Component Supply 5.6 Component Supply Pneumatic & Electrical System 56 Technical Training FSE SIPLACE TX-Series 01/2018 Docking Unit Pneumatic System 1. Pneumatic cylinder for moving the cam disks 2. Throttle valve…

5 Component Supply
5.6 Component Supply Pneumatic & Electrical System
Technical Training FSE SIPLACE TX-Series 01/2018 55
5.6 Component Supply Pneumatic & Electrical System
5.6.1 Overview Pneumatic System
Tape Cutter Pneumatic System
1. Drive cylinder for cutter blade movement
40mm stroke
2. Adjustable throttle valve on the pneumatic
cylinder. Timings can be checked in the
station software. See service manual for
details
3. 5/2 way magnetic valve
4. 5,1 bar compressed air supply
Cutter only active if control system on.

5 Component Supply
5.6 Component Supply Pneumatic & Electrical System
56 Technical Training FSE SIPLACE TX-Series 01/2018
Docking Unit Pneumatic System
1. Pneumatic cylinder for moving the cam
disks
2. Throttle valves for adjusting the speed of
the pneumatic should take approx. 2 –
3seconds for docking and undocking
3. Pneumatic cylinders for ejecting the COT
during the undocking procedure
4. 5/2 way valve for controlling the pneumatic
cylinder
5. Safety valve in case of electrical faults
5.6.2 Overview Electrical System
FD.A1 Fuse-/Connecting Board TX VNS Valve Nozzle Station
FDC Fuse and Distribution Connector field SRB Sensor Reject Bin
FCU Feeder Control Unit TC Tape Cutter
COTi COT insert NC Nozzle Changer
FUD Feeder Unlock Device VCOTi Valve COT-insert

5 Component Supply
5.7 Nozzle Changer for C&P20 P/M2 / CPP and Twin Heads
Technical Training FSE SIPLACE TX-Series 01/2018 57
5.7 Nozzle Changer for C&P20 P/M2 / CPP and Twin Heads
1. Nozzle changer carrier module short
2. Magazine type 28xx for CPP
3. Magazine type 40xx for C&P20 P and M2
4. Magazine type 20xx with 20 Nozzles for
CPP
5. Magazine type 20xx for CPP
6. Micro switches for magazine detection
The nozzle changer consists of four magazines. The magazines are seated on a carrier module.
Each magazine is fixed with the help of a snap fastener and can be released with a lever.
Each garage can be configured with different nozzle types. It is allowed to mix all three magazine in
one nozzle changer (12*20xx, 20*20xx and 9*28xx magazine types).
The station software cannot detect if a magazine with 12 garages is inserted or one with 20 gar-
ages. The difference can only be determined when the fiducials are measured.
Each magazine is scanned by 3 micro switches. These are actuated differently for each magazine
type.
The station software automatically detects which magazine types are used and if all magazines are
inserted correctly.
●
Nozzle changer control board settings.
●
The jumper setting is required to make
the nozzle changer compatible to all soft-
ware versions.
●
Setting for CPP and C&P20P is 2-3.
Nozzle ID
1. Nozzle fixing groove with nozzle interface
2. Nozzle ball lock
3. Nozzle barcode to identify the nozzle
type via the PCB camera
4. Nozzle filter
5. Nozzle lock for return and reject