Docking Unit Changeover Table SIPLACE X_20211122_065259 - 第10页
Docking Unit Changeover Table SIPLACE X Page 10 / 14 22.11.2021

Docking Unit Changeover Table SIPLACE X
Page 9 / 14 22.11.2021

Docking Unit Changeover Table SIPLACE X
Page 10 / 14 22.11.2021

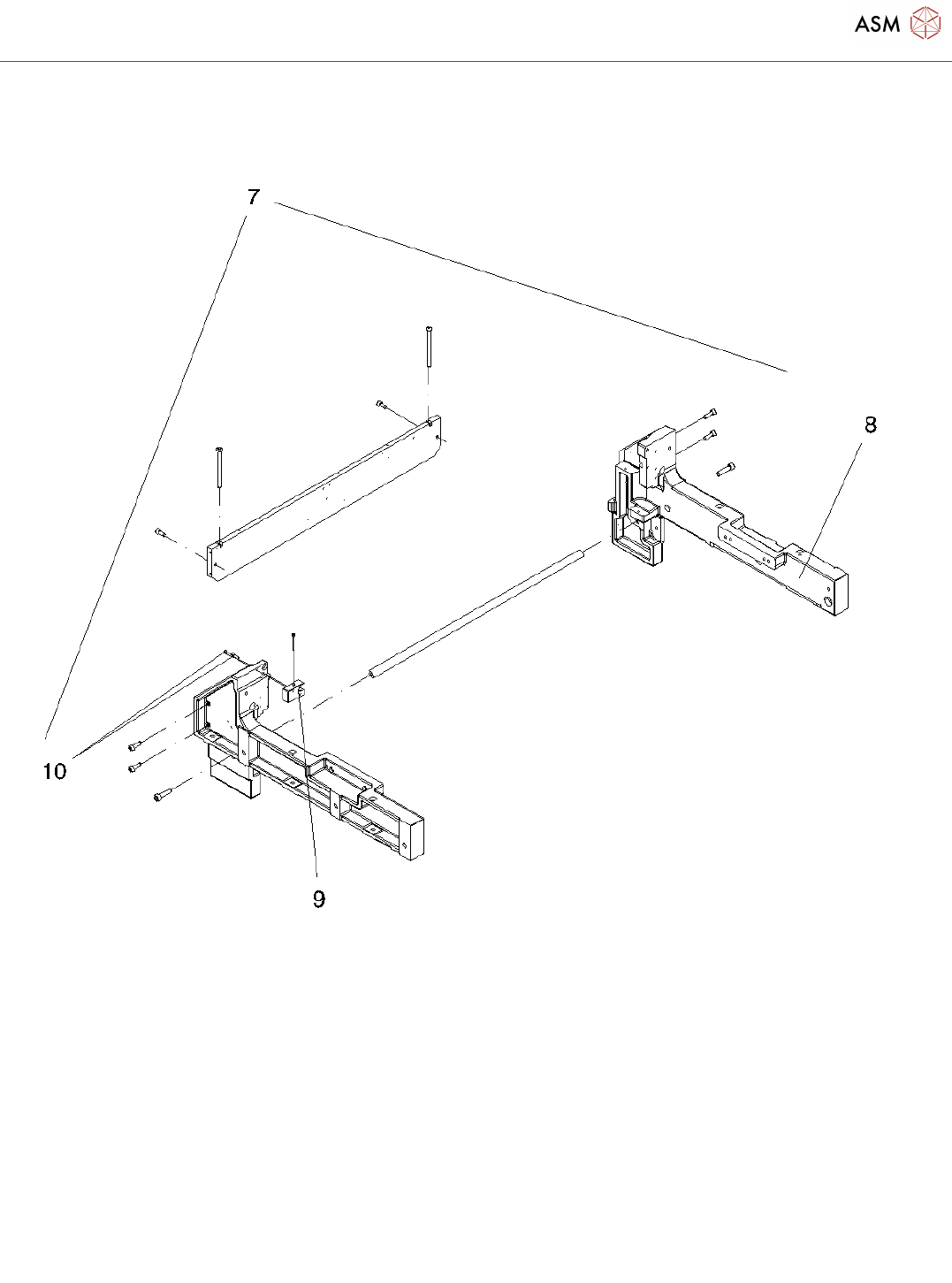
Docking Unit Changeover Table SIPLACE X
Page 11 / 14 22.11.2021
Pos. Item no. Description Part marking
1 00116933S04 ESS DOCKING UNIT FOR COTF-X
(HW)
2 03024728-05 DOCKINGSTATION X-SERIE
3 03100636-01 ISO 7089 - 6 - 200 HV - A2 STANDARD PARTS
4 03025031-03 SIDE METAL RIGHT
DOCKINGSATION.
5 03024689-03 CO TROLLEY MOVE X SERIES
DOCKING STATION
6 03024700-03 CO TROLLEY MOVE X SERIES
DOCKING STATION
7 03012818-03 FRAME
8 03012875-03 SIDE PANEL, RIGHT-H. SIDE,
MACHINED
9 03012823-01 SLOTTED RAIL SPARE PART
10 00095021-01 CHEESE-HEAD-SCREW M4*14
DIN912
11 03059462-01 SEPARATING LAYER
12 03059438-01 ADAPTER PLATE
13 03030887-01 STRAP METAL FOR DOCKING
STATION
14 03020573-03 VALVE, COMPLETE SPARE PART
15 03020582-01 HOSE, 6X1, 30 LONG
16 00333778S01 PLASTIC TUBE PUN-6X1 BLUE 5M WEAR PART
17 03020583-01 HOSE, 6X1, 25 LONG
18 00333778S01 PLASTIC TUBE PUN-6X1 BLUE 5M WEAR PART
19 00310744-01 SILENCER G-1/8 WEAR PART
20 00312821-01 MUFFE QM-1/8-A/I
21 03009853-01 CENTERING PIN, ROUND SPARE PART
22 03170613S01 X-FCU, 80MHZ, 40 SLOTS SPARE PART
23 03065658-01 EDGE PROT. PROFILE 18MM LONG
24 00318998S02 CANT HEATER 1 METER SPARE PART
25 03011582-02 FEEDER UNLOCK DEVICE 40-WAY SPARE PART
26 03024734-02 SIDE METAL LEFT DOCKINGSATION
27 03149113-01 SLIDE PLATE-DOCKING STATION
ASSEMBLY
28 03100636-01 ISO 7089 - 6 - 200 HV - A2 STANDARD PARTS
29 03008169-01 ISO 4032 - M6-8 STANDARD PARTS