KE-2070_80_80R_Operation_Manual2_Rev10_C - 第95页
操作手册Ⅱ 2-49 8) 吸取位置校正 是以激光定中心的带状元件为对象, 根据激光识别结果来自动修正吸取位置偏差的功能。 校 正的结果被反映到“吸取数据”的吸取坐标中。 如果选择吸取位置修正, 生产时的吸取坐标会发生变化, 生产途中有时不能同时吸 取。 9) 自动示教 包装方式为MTC时,画面显示[MTC自动示教]。 设置为“执行”时,可在各点自动测量元件中心位置,用光点标示元件中心。 生产时的自动执行示教,是在首次以后,在元件数量变…

操作手册Ⅱ
2-48
4) 吸取偏移 XYZ
吸取偏移XY:在吸取元件时需设置从元件中心到吸取坐标的距离。制作吸取数据时在自
动算出的“XY”初始值上加减该值。当元件中心有突起或坑洼,不能进行正常吸取时请设置
此项。
吸取偏移Z:在吸取元件时需设置从吸取基准高度起算的按入深度。制作吸取数据时,
在自动计算出的“Z”的初始值上加减该值。
把从元件中心的坐标移动偏移量后的位置作为吸取坐标时,因元件旋转的影响
范围大于实际元件外形尺寸范围,故将作为与该状态相应的外形尺寸运行。
吸取坐标已完成时,吸取偏移 XYZ 的值即使有变更,也不会进行吸取坐标的重新
计算。但若把已变更的元件数据的吸取数据的供给变更为“自动选择”,再指定吸
取位置时,则吸取坐标会被重新计算,并被反映到 Z 的值中。
5) 元件拒绝
设置定中心发生识别错误,或引脚悬浮检查中发生错误时,是废弃元件还是放回托盘。
表2-3-1 元件废弃位置列表
元件废弃场所 内容
废弃盒
将发生错误的元件废弃到废弃盒中。
但是,当元件尺寸的短边超过 33.5mm 的元件选择了废弃
盒时,按元件保护进行废弃。
放回托盘
使用 MTC/MTS 或托盘架,元件数据的包装方式选择托盘
时,可选择此方式。但使用 MTC 以机械夹元件的不能选择。
IC 回收带 废弃到 IC 回收带(选项)中。只能选择图像定中心元件。
元件保护
废弃带引脚的元件时,为避免使引脚弯曲,在故障发生后,
应把贴片头移动到操作人员跟前停下。之后,手动从贴片
头上摘除元件。
6) 试打
与“贴片数据”中的设置相同,在生产画面(试打模式)中仅对选择“执行”的元件执行贴片。
在“元件数据”上设置时,为对该元件所有贴片点统一设置进行试打。
要对每一贴片点逐一设置时,请在“贴片数据”上设置。
7) 释放检查
设置本功能,可在激光定中心的元件贴片后,检查元件是否吸附在吸嘴上。
确认元件释放要花时间(因为在停止状态下执行)。所以通常请将初始值设置为
“不执行”。

操作手册Ⅱ
2-49
8) 吸取位置校正
是以激光定中心的带状元件为对象,根据激光识别结果来自动修正吸取位置偏差的功能。校
正的结果被反映到“吸取数据”的吸取坐标中。
如果选择吸取位置修正,生产时的吸取坐标会发生变化,生产途中有时不能同时吸
取。
9) 自动示教
包装方式为MTC时,画面显示[MTC自动示教]。
设置为“执行”时,可在各点自动测量元件中心位置,用光点标示元件中心。
生产时的自动执行示教,是在首次以后,在元件数量变更后首次拉出托盘时执行。
包装方式不是MTC时,画面显示[自动示教]。
除0402~3216纸带以外,即使设置为[执行],也不能执行自动示教。
设置为[执行]后,在跟踪吸取位置时自动示教。
10) 元件忽略
如果将元件忽略设置为“执行”,则生产时将跳过指定的元件,不进行贴片。
使用被指定为元件忽略的贴片行,在生产时虽然不进行贴片,但不加到未贴片列表中。
从数据库读入元件信息时,“元件忽略”数据将被更改为“不执行”。
11) MTS 标记识别
使用MTS时,如果将吸取基准位置标记识别设为“执行”,则在拉出设置有该元件的托盘时,
将进行吸取基准位置标记的识别,对吸取、元件返回等执行坐标进行校正。
如果选择“执行”,可提高吸取精度,但识别要花时间。
12) 元件层
设置同一贴片层内各元件的优先顺序。
该设置仅在进行优化顺序的生产时有效。
此外,与贴片层不同,元件用完时不会进入暂停状态。
请在下拉式列表中显示的层1(优先度高)到层7(优先度低)选择设置。

操作手册Ⅱ
2-50
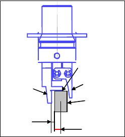
13)吸嘴数据
是用于设置抓取吸嘴的项目(选项)。
① 抓取位置: “Y”项,输入元件中心与抓取吸嘴固定侧手臂抓取面中心的偏移值(见
图 1-a),要输入负数(-a)。但“X”项只可输入 0,不可输入其他数
据。
② 水平间隙: 抓取吸嘴固定侧手臂抓取面与元件之间的间隙(见图 1b),要输入负数
(-b)。吸嘴型号、吸嘴方向不同移动方向不同,必须注意。
通常设置自动输入的默认值。
③ 吸取时吸嘴方向: 指的是,以 0 度状态供应的元件吸取时的吸嘴方向。请指定 0 度、90
度、180 度、270 度中的一项。
④ 调整吸取高度: 吸取时吸取高度的偏移值(c 与元件上底面之间的间隙)。
通常,为了将元件保持水平,设为-0.5mm。
a
b
元件
c
固定臂
图1
摇臂