00193936-02 - 第173页
SIPLACE HF 系列用户手册 4 安装和试运行 软件版本 SR.505.xx 2004 年 7 月中文版 4.5 安装贴片机 173 (3) 气动装置侧的隔室 (4) 电源单元侧的隔室 (5) 用于 HS50 贴片机支脚的螺纹孔 (T) PC B 的传送方向 (P) 气动装置 (S) 电源单元

4 安装和试运行 SIPLACE HF 系列用户手册
4.5 安装贴片机 软件版本 SR.505.xx 2004 年 7 月中文版
172
Æ 确保抬升贴片机时,叉子的载荷均匀分配。在叉子和贴片机之间应有一个坚固的支承,这样可
以防止贴片机在抬升时倾翻。这样做还可以防止将载荷加到贴片机的一个支脚上,以免贴片机
支脚的固定装置变形。我们建议在抬升机贴片时,应另安排一人观察整个过程,确保贴片机被
叉车铲起时,不会向一侧倾翻。
Æ 使用升降叉,抬高贴片机约 35 cm,以免降低贴片机时,双脚意外受伤。
贴片机有 6 个支脚支撑。
- 4 个贴片机支脚 (图 4.5 - 2
中的 1)。
- 2 个 HS50 贴片机支脚(图 4.5 - 2
中的 2), 带 2 个用于调整高度的隔室(图 4.5 - 2 中的
3 和 4)。
4
图
4.5 - 2
贴片机支脚
4
(1) 贴片机支脚
(2) HS50 贴片机支脚
SIPLACE HF 系列用户手册 4 安装和试运行
软件版本 SR.505.xx 2004 年 7 月中文版 4.5 安装贴片机
173
(3) 气动装置侧的隔室
(4) 电源单元侧的隔室
(5) 用于 HS50 贴片机支脚的螺纹孔
(T) PCB 的传送方向
(P) 气动装置
(S) 电源单元

4 安装和试运行 SIPLACE HF 系列用户手册
4.5 安装贴片机 软件版本 SR.505.xx 2004 年 7 月中文版
174
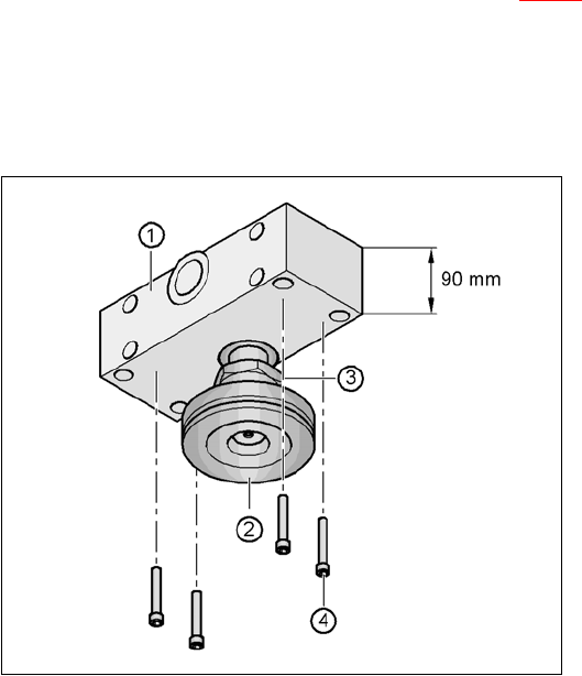
4.5.4.1 预设 HS50 贴片机支脚的高度
首先是设定 HS50 贴片机支脚。隔室须根据贴片机高度,固定在贴片机底侧相应的位置上。
将 PCB 传送高度设为 830 mm 4
如果 PCB 传送高度为 830 mm,则无需隔室。
Æ 尽可能将 HS50 贴片机支脚拧进提供的螺纹中 (见图 4.5 - 2 中的 5)。
将 PCB 传送导轨高度设为 900 mm 4
如果 PCB 传送高度为 900 mm,则需要隔室。
Æ 调整隔室,以便 90 mm 侧垂直,用于 HS50 贴片机支脚的孔指向下。
4
4
4
4
4
4
4
4
4
4
4
4
图
4.5 - 3
传送高度为
900 mm
时,调整间距
4
(1) 90 mm 高的隔室
(2) HS50 贴片机支脚
(3) M24 锁紧螺母
(4) 六角套筒螺钉 M12x80, 4 个