00193936-02 - 第209页
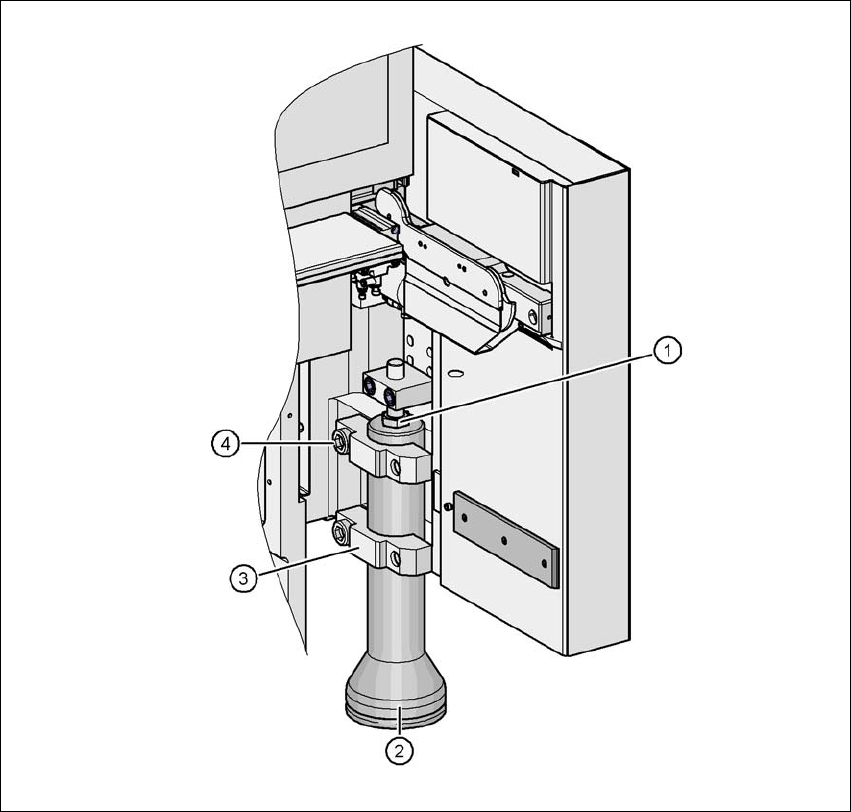
SIPLACE HF 系列用户手册 4 安装和试运行 软件版本 SR.505.xx 2004 年 7 月中文版 4.5 安装贴片机 209 4 4 4 4 4 4 4 图 4.5 - 23 调整并锁住 “ HS50 ”贴片机支脚 (1) 隔室 (2) HS50 贴片机支脚 (3) M24 锁紧螺母 4 Æ 使用酒精水平仪,确保贴片机精确校准。 Æ 用 siz e 65 开口扳手紧固锁紧螺母 M24 (4) 。

4 安装和试运行 SIPLACE HF 系列用户手册
4.5 安装贴片机 软件版本 SR.505.xx 2004 年 7 月中文版
208
4
图
4.5 - 22
调整贴片机支脚的高度
(1) 用于调整高度的六角头螺钉 M24x80
(2) 贴片机支脚
(3) 夹持器
(4) M24x90 六角套筒螺钉
Æ 检查规定的 PCB 传送高度。
Æ 如果贴片机已校准,用 size 19 的六角钥匙拧紧六角套筒螺钉 M24x90(位置 4)。该螺钉用于
将夹持器固定在所有的贴片机支脚 (3) 上。
Æ 拧松 HS50 贴片机支脚,直至其牢固地贴在地面上。
Æ 确保 HS50 贴片机支脚未拧松,否则无法调整贴片机。

SIPLACE HF 系列用户手册 4 安装和试运行
软件版本 SR.505.xx 2004 年 7 月中文版 4.5 安装贴片机
209
4
4
4
4
4
4
4
图
4.5 - 23
调整并锁住 “
HS50
”贴片机支脚
(1) 隔室
(2) HS50 贴片机支脚
(3) M24 锁紧螺母
4
Æ 使用酒精水平仪,确保贴片机精确校准。
Æ 用 size 65 开口扳手紧固锁紧螺母 M24 (4)。

4 安装和试运行 SIPLACE HF 系列用户手册
4.6 根据 PCB 传送高度调整料车 软件版本 SR.505.xx 2004 年 7 月中文版
210
4.6 根据 PCB 传送高度调整料车
只需简单的几步,就可以将料车设成以下 PCB 传送高度:
830 mm ± 15 mm 标准高度
900 mm ± 15 mm SMEMA 高度
930 mm ± 15 mm SMEMA 高度
950 mm ± 15 mm SMEMA 高度 4
4
图
4.6 - 1 PCB
传送高度为
950 mm
的料车
(1) 传送高度为 830 到 950 mm 的导柱孔
(2) 料车台