Program.x200.pdf - 第68页

(C03_03)Z (C03_03)Z (C03_03)Z (C03_03)Z (C03_03)Z 䆓ᅯ৙Ḍᵔ೓ᔷⱙ㾧ᑻᭅ᥃Ȣ 䇌ᡟාޛḌᵔ೓ᔷ䆓ᅯЏ 0 ȋ Ȣ Ϡ೓ҺḌᵔ೓ᔷ  ЏාޛȢ ᭅ᥃䆓ᅯ㣘೉ ᭅ᥃䆓ᅯ㣘೉ ᭅ᥃䆓ᅯ㣘೉ ᭅ᥃䆓ᅯ㣘೉ ᭅ᥃䆓ᅯ㣘೉ Ί 0 eȡ 90 eȡ 80 eȡ 270 e N o : ⱙЂᖘЏᅞ㺚ഥᷜාޛ P 0  : Ḍᵔ೓ᔷϕⱙ೓ᔷॴ⚎ P 02 : Ḍᵔ೓ᔷѡⱙ೓ᔷॴ⚎ P 03 : Ḍ…

100%1 / 289
Ḍᵔ೓ᔷḌᵔ೓ᔷ
Ḍᵔ೓ᔷḌᵔ೓ᔷ
Ḍᵔ೓ᔷ
22
22
2
Ḍᵔ೓ᔷḌᵔ೓ᔷ
Ḍᵔ೓ᔷḌᵔ೓ᔷ
Ḍᵔ೓ᔷ
33
33
3
(C03_02)X [mm](C03_02)X [mm]
(C03_02)X [mm](C03_02)X [mm]
(C03_02)X [mm]
ȡȡ
ȡȡ
ȡ
Y [mm]Y [mm]
Y [mm]Y [mm]
Y [mm]
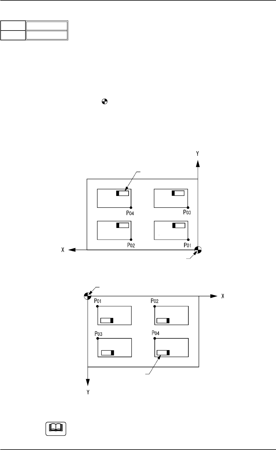
䆓ᅯңᅞ㺚ഥᷜාޛ(No)ࠅ೓ᔷॴ⚎(P
0
ώPn)ⱙഥᷜᭅ᥃Ȣ
पԢ : mm
೓ᔷॴ⚎ᰄ䞢໢Ḍᵔ೓ᔷⱙഥᷜාޛȢ
ℹഥᷜාޛᡟҺϠ(C03-03)䇉ᯣЂⱙ Z ᭅ᥃ᅯЏ 0 ȋ ᖚ乐੡ᅞ㺚
ഥᷜාޛ(No)೽ৡϕռ㾧㨒Ȣ
N
o
: ⱙЂᖘЏᅞ㺚ഥᷜාޛ
P
0
: Ḍᵔ೓ᔷϕⱙ೓ᔷॴ⚎
P
02
: Ḍᵔ೓ᔷѡⱙ೓ᔷॴ⚎
P
03
: Ḍᵔ೓ᔷϞⱙ೓ᔷॴ⚎
P
04
: Ḍᵔ೓ᔷರⱙ೓ᔷॴ⚎
Fig.3B 09Fig.3B 09
Fig.3B 09Fig.3B 09
Fig.3B 09
䞢໢Ḍᵔ೓ᔷՠ䞢໢Ḍᵔ೓ᔷՠ
䞢໢Ḍᵔ೓ᔷՠ䞢໢Ḍᵔ೓ᔷՠ
䞢໢Ḍᵔ೓ᔷՠ
℺偹ৌⱙ᳕㒝㸡Ϣ㽖䆓ᅯℹഥᷜᭅ᥃Ȣ
ᅯЏ 000.00Ȣ
0107-001 2-49
Note
ᅞ㺚ഥᷜාޛᅞ㺚ഥᷜාޛ
ᅞ㺚ഥᷜාޛᅞ㺚ഥᷜාޛ
ᅞ㺚ഥᷜාޛ
(N(N
(N(N
(N
OO
OO
O
))
))
)
ܘӋܘӋ
ܘӋܘӋ
ܘӋ
ᅞ㺚ഥᷜාޛᅞ㺚ഥᷜාޛ
ᅞ㺚ഥᷜාޛᅞ㺚ഥᷜාޛ
ᅞ㺚ഥᷜාޛ
(N(N
(N(N
(N
oo
oo
o
))
))
)
ܘӋܘӋ
ܘӋܘӋ
ܘӋ
2.5 Placement Data(2.5 Placement Data(
2.5 Placement Data(2.5 Placement Data(
2.5 Placement Data(
ᅞ㺚ᭅ᥃ᅞ㺚ᭅ᥃
ᅞ㺚ᭅ᥃ᅞ㺚ᭅ᥃
ᅞ㺚ᭅ᥃
))
))
)
00.00
00.00
X[mm]
Y[mm]
Fig.3B 08Fig.3B 08
Fig.3B 08Fig.3B 08
Fig.3B 08
TCM-X200TCM-X200
TCM-X200TCM-X200
TCM-X200
TCM-X00TCM-X 00
TCM-X00TCM-X 00
TCM-X00
Ḍᵔ೓ᔷḌᵔ೓ᔷ
Ḍᵔ೓ᔷḌᵔ೓ᔷ
Ḍᵔ೓ᔷ
44
44
4
Ḍᵔ೓ᔷḌᵔ೓ᔷ
Ḍᵔ೓ᔷḌᵔ೓ᔷ
Ḍᵔ೓ᔷ
Ḍᵔ೓ᔷḌᵔ೓ᔷ
Ḍᵔ೓ᔷḌᵔ೓ᔷ
Ḍᵔ೓ᔷ
22
22
2
Ḍᵔ೓ᔷḌᵔ೓ᔷ
Ḍᵔ೓ᔷḌᵔ೓ᔷ
Ḍᵔ೓ᔷ
Ḍᵔ೓ᔷḌᵔ೓ᔷ
Ḍᵔ೓ᔷḌᵔ೓ᔷ
Ḍᵔ೓ᔷ
44
44
4
Ḍᵔ೓ᔷḌᵔ೓ᔷ
Ḍᵔ೓ᔷḌᵔ೓ᔷ
Ḍᵔ೓ᔷ
33
33
3
(C03_03)Z(C03_03)Z
(C03_03)Z(C03_03)Z
(C03_03)Z
䆓ᅯ৙Ḍᵔ೓ᔷⱙ㾧ᑻᭅ᥃Ȣ
䇌ᡟාޛḌᵔ೓ᔷ䆓ᅯЏ 0 ȋ Ȣ
Ϡ೓ҺḌᵔ೓ᔷ ЏාޛȢ
ᭅ᥃䆓ᅯ㣘೉ᭅ᥃䆓ᅯ㣘೉
ᭅ᥃䆓ᅯ㣘೉ᭅ᥃䆓ᅯ㣘೉
ᭅ᥃䆓ᅯ㣘೉ Ί0 90eȡ80270e
N
o
: ⱙЂᖘЏᅞ㺚ഥᷜාޛ
P
0
: Ḍᵔ೓ᔷϕⱙ೓ᔷॴ⚎
P
02
: Ḍᵔ೓ᔷѡⱙ೓ᔷॴ⚎
P
03
: Ḍᵔ೓ᔷϞⱙ೓ᔷॴ⚎
P
04
: Ḍᵔ೓ᔷರⱙ೓ᔷॴ⚎
Ḍᵔ೓ᔷ : 0° Ḍᵔ೓ᔷ 2: 90°
Ḍᵔ೓ᔷ 3: 80° Ḍᵔ೓ᔷ 4: 270°
Fig.3BFig.3B
Fig.3BFig.3B
Fig.3B
䞢໢Ḍᵔ೓ᔷՠ䞢໢Ḍᵔ೓ᔷՠ
䞢໢Ḍᵔ೓ᔷՠ䞢໢Ḍᵔ೓ᔷՠ
䞢໢Ḍᵔ೓ᔷՠ
℺偹ৌⱙ᳕㒝㸡Ϣ㽖䆓ᅯℹ㾧ᑻᭅ᥃Ȣ
ᅯЏ 000.00Ȣ
0107-001 2-50
000°00ː
Z
Fig.3B0Fig.3B0
Fig.3B0Fig.3B0
Fig.3B0
Note
ᅞ㺚ഥᷜාޛᅞ㺚ഥᷜාޛ
ᅞ㺚ഥᷜාޛᅞ㺚ഥᷜාޛ
ᅞ㺚ഥᷜාޛ
(N(N
(N(N
(N
OO
OO
O
))
))
)
ܘӋܘӋ
ܘӋܘӋ
ܘӋ
ᅞ㺚ഥᷜාޛᅞ㺚ഥᷜාޛ
ᅞ㺚ഥᷜාޛᅞ㺚ഥᷜාޛ
ᅞ㺚ഥᷜාޛ
(N(N
(N(N
(N
oo
oo
o
))
))
)
ܘӋܘӋ
ܘӋܘӋ
ܘӋ
TCM-X00TCM-X 00
TCM-X00TCM-X 00
TCM-X00
TCM-X200TCM-X200
TCM-X200TCM-X200
TCM-X200
2.5 Placement Data(2.5 Placement Data(
2.5 Placement Data(2.5 Placement Data(
2.5 Placement Data(
ᅞ㺚ᭅ᥃ᅞ㺚ᭅ᥃
ᅞ㺚ᭅ᥃ᅞ㺚ᭅ᥃
ᅞ㺚ᭅ᥃
))
))
)
Ḍᵔ೓ᔷḌᵔ೓ᔷ
Ḍᵔ೓ᔷḌᵔ೓ᔷ
Ḍᵔ೓ᔷ
Ḍᵔ೓ᔷḌᵔ೓ᔷ
Ḍᵔ೓ᔷḌᵔ೓ᔷ
Ḍᵔ೓ᔷ
33
33
3
Ḍᵔ೓ᔷḌᵔ೓ᔷ
Ḍᵔ೓ᔷḌᵔ೓ᔷ
Ḍᵔ೓ᔷ
Ḍᵔ೓ᔷḌᵔ೓ᔷ
Ḍᵔ೓ᔷḌᵔ೓ᔷ
Ḍᵔ೓ᔷ
33
33
3
Ḍᵔ೓ᔷḌᵔ೓ᔷ
Ḍᵔ೓ᔷḌᵔ೓ᔷ
Ḍᵔ೓ᔷ
44
44
4
Ḍᵔ೓ᔷḌᵔ೓ᔷ
Ḍᵔ೓ᔷḌᵔ೓ᔷ
Ḍᵔ೓ᔷ
22
22
2
Ḍᵔ೓ᔷḌᵔ೓ᔷ
Ḍᵔ೓ᔷḌᵔ೓ᔷ
Ḍᵔ೓ᔷ
22
22
2
Ḍᵔ೓ᔷḌᵔ೓ᔷ
Ḍᵔ೓ᔷḌᵔ೓ᔷ
Ḍᵔ೓ᔷ
44
44
4
(C03_04)C(C03_04)C
(C03_04)C(C03_04)C
(C03_04)C
ңҺϠ䗞ᢾ᥼ࠋ੒ҹȢ
--
--
-
::
::
: ԱЏᅞ㺚℺偹䖰㸡Ȣ
(Hyphen)
SS
SS
S
::
::
: ᅞ㺚℺偹Џ᮵ᬝȢ
CC
CC
C
::
::
: ᅞ㺚℺偹Џ᮵ᬝȢ
ি᳞೽ߛ䜢ఽ, ℹ℺偹ᠢ᳞ᬝȢ
DD
DD
D
::
::
: ԱЏᅞ㺚℺偹ᴺ䖰㸡Ȣ
ি᳞೽ߛ䜢ఽ, ℹ℺偹Џ᮵ᬝȢ
EE
EE
E
::
::
: Ϣ㓫ࠋᅞ㺚ᭅ᥃(0)ᯋͼ㸽⼏ᅞ㺚ᭅ᥃(P)ⱙ℺偹㒝ℷȢ
䇌೽℺偹ৌⱙ᳕㒝㸡⹃䅹৙ᭅ᥃ X,Y,Z,B-X B-Yᰄ৻ܽ䚽䆓
ᅯЏ 0() ͼᑋ䆓ᅯЏ EȢ
(C03_05)Commment((C03_05)Commment(
(C03_05)Commment((C03_05)Commment(
(C03_05)Commment(
⊽䞟⊽䞟
⊽䞟⊽䞟
⊽䞟
))
))
)
䆓ᅯ↤℺偹ৌⱙ⊽䞟Ȣ
㛒Ք⫽ⱙᄬ・Џट㾧㣆᭜ / ᭅᄬট・ৌȢ
᳕໯㛒䆓ᅯ 32 Ͽᄬ㡗Ȣ
Ϣᕆઢ⫴Ѽ䖥ԱȢ
0107-001 2-51
-
C
Fig.3B112Fig.3B112
Fig.3B112Fig.3B112
Fig.3B112
Comment
Fig.3B113Fig.3B113
Fig.3B113Fig.3B113
Fig.3B113
Note
Note
2.5 Placement Data(2.5 Placement Data(
2.5 Placement Data(2.5 Placement Data(
2.5 Placement Data(
ᅞ㺚ᭅ᥃ᅞ㺚ᭅ᥃
ᅞ㺚ᭅ᥃ᅞ㺚ᭅ᥃
ᅞ㺚ᭅ᥃
))
))
)