Program.x200.pdf - 第77页
0107-001 2 - 59 3.3 3.3 3.3 3.3 3.3 䞢Ḍᵔᔷ 䞢Ḍᵔᔷ 䞢Ḍᵔᔷ 䞢Ḍᵔᔷ 䞢Ḍᵔᔷ 3.3 3.3 3.3 3.3 3.3 䞢Ḍᵔᔷ 䞢Ḍᵔᔷ 䞢Ḍᵔᔷ 䞢Ḍᵔᔷ 䞢Ḍᵔᔷ ( )Pattern Program ( )Pattern Program ( )Pattern Program ( )Pattern Program ( )Patte…

(4)(4)
(4)(4)
(4)
Placement Data(Placement Data(
Placement Data(Placement Data(
Placement Data(
ᅞ㺚ᭅᅞ㺚ᭅ
ᅞ㺚ᭅᅞ㺚ᭅ
ᅞ㺚ᭅ
)(P-data)U)(P-data)U
)(P-data)U)(P-data)U
)(P-data)U
•
Unit Control(Unit Control(
Unit Control(Unit Control(
Unit Control(
㺚㕃ࠋ㺚㕃ࠋ
㺚㕃ࠋ㺚㕃ࠋ
㺚㕃ࠋ
))
))
)
ࠋԱϣ “3. पϿḌᵔᔷ ” ⳍৡⱙሏᇍȢ
•
Unit P.C.B. B.B.R(Unit P.C.B. B.B.R(
Unit P.C.B. B.B.R(Unit P.C.B. B.B.R(
Unit P.C.B. B.B.R(
㒙ঢ়ාᵔ䆛ࠀ㒙ঢ়ාᵔ䆛ࠀ
㒙ঢ়ාᵔ䆛ࠀ㒙ঢ়ාᵔ䆛ࠀ
㒙ঢ়ාᵔ䆛ࠀ
))
))
)
ࠋԱϣ “3. पϿḌᵔᔷ ” ⳍৡⱙሏᇍȢ
•
Placement Data(Placement Data(
Placement Data(Placement Data(
Placement Data(
ᅞ㺚ᭅᅞ㺚ᭅ
ᅞ㺚ᭅᅞ㺚ᭅ
ᅞ㺚ᭅ
)(P-data))(P-data)
)(P-data))(P-data)
)(P-data)
ࠋԱϣ “3. पϿḌᵔᔷ ” ⳍৡⱙሏᇍȢ
(5)Placement Data((5)Placement Data(
(5)Placement Data((5)Placement Data(
(5)Placement Data(
ᅞ㺚ᭅᅞ㺚ᭅ
ᅞ㺚ᭅᅞ㺚ᭅ
ᅞ㺚ᭅ
)(0-data)U)(0-data)U
)(0-data)U)(0-data)U
)(0-data)U
䇌Ϣ㽖㓫ࠋℹᭅȢ
0107-001 2-58
3.3.
3.3.
3.
पϿḌᵔᔷपϿḌᵔᔷ
पϿḌᵔᔷपϿḌᵔᔷ
पϿḌᵔᔷ
((
((
(
᳞ᭉԨ䆛ࠀ᳞ᭉԨ䆛ࠀ
᳞ᭉԨ䆛ࠀ᳞ᭉԨ䆛ࠀ
᳞ᭉԨ䆛ࠀ
))
))
)

0107-001 2-59
3.33.3
3.33.3
3.3
䞢Ḍᵔᔷ䞢Ḍᵔᔷ
䞢Ḍᵔᔷ䞢Ḍᵔᔷ
䞢Ḍᵔᔷ
3.33.3
3.33.3
3.3
䞢Ḍᵔᔷ䞢Ḍᵔᔷ
䞢Ḍᵔᔷ䞢Ḍᵔᔷ
䞢Ḍᵔᔷ
( )Pattern Program( )Pattern Program
( )Pattern Program( )Pattern Program
( )Pattern Program
߰ᓏֶᙄ߰ᓏֶᙄ
߰ᓏֶᙄ߰ᓏֶᙄ
߰ᓏֶᙄ
•
P.C.BP.C.B
P.C.BP.C.B
P.C.B
Size(Size(
Size(Size(
Size(
ාᵔሏᇍාᵔሏᇍ
ාᵔሏᇍාᵔሏᇍ
ාᵔሏᇍ
))
))
)
ȡȡ
ȡȡ
ȡ
ܘӋῶḌܘӋܘӋῶḌܘӋ
ܘӋῶḌܘӋܘӋῶḌܘӋ
ܘӋῶḌܘӋ
IDID
IDID
ID
ࠋԱϣ “3. पϿḌᵔᔷ ” ⳍৡⱙሏᇍȢ
•
ᅞ㺚ഥᷜᅞ㺚㾧ᑻᅞ㺚ഥᷜᅞ㺚㾧ᑻ
ᅞ㺚ഥᷜᅞ㺚㾧ᑻᅞ㺚ഥᷜᅞ㺚㾧ᑻ
ᅞ㺚ഥᷜᅞ㺚㾧ᑻ
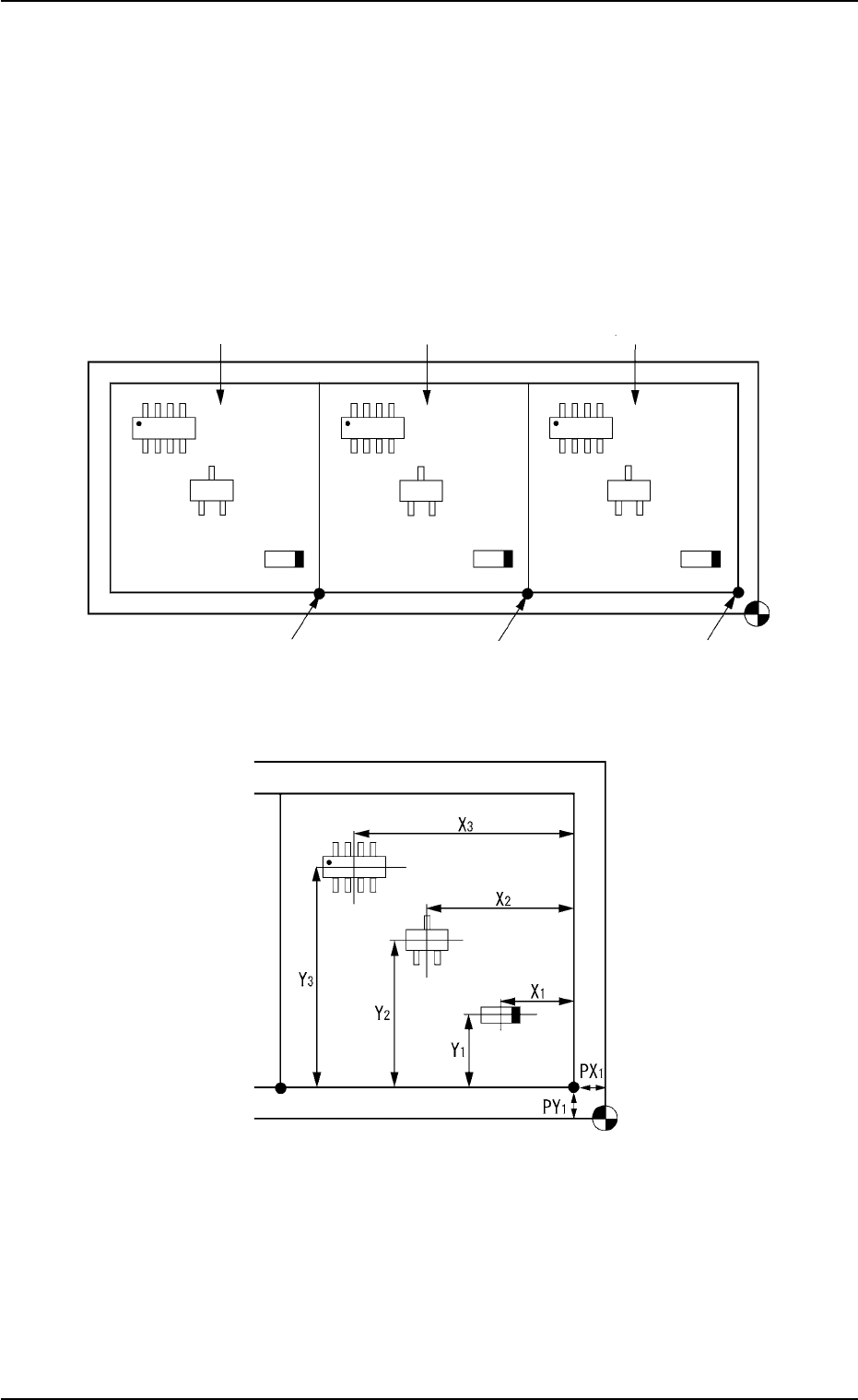
Fig.3B 2 Fig.3B 2
Fig.3B 2 Fig.3B 2
Fig.3B 2
ᭉԨᭉԨ
ᭉԨᭉԨ
ᭉԨ
Fig.3B 22Fig.3B 22
Fig.3B 22Fig.3B 22
Fig.3B 22
ḌᵔᔷḌᵔᔷ
ḌᵔᔷḌᵔᔷ
Ḍᵔᔷ
( (
( (
(
ᬓᬓ
ᬓᬓ
ᬓ
))
))
)
ᅞ㺚ഥᷜාޛᅞ㺚ഥᷜාޛ
ᅞ㺚ഥᷜාޛᅞ㺚ഥᷜාޛ
ᅞ㺚ഥᷜාޛ
ḌᵔḌᵔ
ḌᵔḌᵔ
Ḍᵔ
ᔷᔷ
ᔷᔷ
ᔷ
ḌᵔḌᵔ
ḌᵔḌᵔ
Ḍᵔ
ᔷᔷ
ᔷᔷ
ᔷ
22
22
2
ḌᵔḌᵔ
ḌᵔḌᵔ
Ḍᵔ
ᔷᔷ
ᔷᔷ
ᔷ
33
33
3
ᔷॴ⚎ᔷॴ⚎
ᔷॴ⚎ᔷॴ⚎
ᔷॴ⚎
((
((
(
PXPX
PXPX
PX
3,3,
3,3,
3,
PYPY
PYPY
PY
33
33
3
))
))
)
(PX(PX
(PX(PX
(PX
2,2,
2,2,
2,
PYPY
PYPY
PY
22
22
2
))
))
)
(PX(PX
(PX(PX
(PX
, ,
, ,
,
PYPY
PYPY
PY
))
))
)
ᅞ㺚ഥᷜාޛᅞ㺚ഥᷜාޛ
ᅞ㺚ഥᷜාޛᅞ㺚ഥᷜාޛ
ᅞ㺚ഥᷜාޛ

(2)(2)
(2)(2)
(2)
᪢Աᭅⱙ㓫ࠋ᪢Աᭅⱙ㓫ࠋ
᪢Աᭅⱙ㓫ࠋ᪢Աᭅⱙ㓫ࠋ
᪢Աᭅⱙ㓫ࠋ
•
P.C.B.Data(P.C.B.Data(
P.C.B.Data(P.C.B.Data(
P.C.B.Data(
ාᵔᭅාᵔᭅ
ාᵔᭅාᵔᭅ
ාᵔᭅ
))
))
)
ࠋԱϣ “3. पϿḌᵔᔷ ” ⳍৡⱙሏᇍȢ
•
P.C.B.Recognition Data(P.C.B.Recognition Data(
P.C.B.Recognition Data(P.C.B.Recognition Data(
P.C.B.Recognition Data(
ාᵔ䆛ࠀᭅාᵔ䆛ࠀᭅ
ාᵔ䆛ࠀᭅාᵔ䆛ࠀᭅ
ාᵔ䆛ࠀᭅ
))
))
)
䇌ᡟ P.E.C.recognition function(ාᵔ䆛ࠀࡴ㛒䗞ᢾ)䆓ᅯЏ
“Disable(Ϣ䆛ࠀ)”Ȣ䇌Ϣ㽖䆓ᅯҫᭅȢ
•
P.C.B.Recognition Mark Data(P.C.B.Recognition Mark Data(
P.C.B.Recognition Mark Data(P.C.B.Recognition Mark Data(
P.C.B.Recognition Mark Data(
ාᵔ䆛ࠀᷜ䆅ᭅාᵔ䆛ࠀᷜ䆅ᭅ
ාᵔ䆛ࠀᷜ䆅ᭅාᵔ䆛ࠀᷜ䆅ᭅ
ාᵔ䆛ࠀᷜ䆅ᭅ
))
))
)
䇌Ϣ㽖㓫ࠋℹᭅȢ
•
Setup Data(Setup Data(
Setup Data(Setup Data(
Setup Data(
ᷜ䆅ᭅᷜ䆅ᭅ
ᷜ䆅ᭅᷜ䆅ᭅ
ᷜ䆅ᭅ
))
))
)
䳕㽖Ք⫽㞿ࡽ Setup ࡴ㛒ᯋ㓫ࠋȢ
(3)(3)
(3)(3)
(3)
ܘӋ䜢㕃ᭅⱙ㓫ࠋܘӋ䜢㕃ᭅⱙ㓫ࠋ
ܘӋ䜢㕃ᭅⱙ㓫ࠋܘӋ䜢㕃ᭅⱙ㓫ࠋ
ܘӋ䜢㕃ᭅⱙ㓫ࠋ
ࠋԱϣ “3. पϿḌᵔᔷ ” ⳍৡⱙሏᇍȢ
(4)Placement Data((4)Placement Data(
(4)Placement Data((4)Placement Data(
(4)Placement Data(
ᅞ㺚ᭅᅞ㺚ᭅ
ᅞ㺚ᭅᅞ㺚ᭅ
ᅞ㺚ᭅ
)(P-data)U)(P-data)U
)(P-data)U)(P-data)U
)(P-data)U
ⱙ㓫ࠋⱙ㓫ࠋ
ⱙ㓫ࠋⱙ㓫ࠋ
ⱙ㓫ࠋ
•
Unit Control(Unit Control(
Unit Control(Unit Control(
Unit Control(
㺚㕃ࠋ㺚㕃ࠋ
㺚㕃ࠋ㺚㕃ࠋ
㺚㕃ࠋ
))
))
)
ࠋԱϣ “3. पϿḌᵔᔷ ” ⳍৡⱙሏᇍȢ
•
Unit P.C.B. B.B.R.(Unit P.C.B. B.B.R.(
Unit P.C.B. B.B.R.(Unit P.C.B. B.B.R.(
Unit P.C.B. B.B.R.(
㒙ঢ়ාᵔ䆛ࠀ㒙ঢ়ාᵔ䆛ࠀ
㒙ঢ়ාᵔ䆛ࠀ㒙ঢ়ාᵔ䆛ࠀ
㒙ঢ়ාᵔ䆛ࠀ
))
))
)
䇌ᡟ “Unit P.C.B. B.B.R.(㒙ঢ়ාᵔ䆛ࠀ)” 䆓ᅯЏ “Disable(Ϣ
䆛ࠀ) ”Ȣ
䇌Ϣ㽖䆓ᅯҫᭅȢ
•
Placement Data(Placement Data(
Placement Data(Placement Data(
Placement Data(
ᅞ㺚ᭅᅞ㺚ᭅ
ᅞ㺚ᭅᅞ㺚ᭅ
ᅞ㺚ᭅ
)(P-data))(P-data)
)(P-data))(P-data)
)(P-data)
Table 3B24 Table 3B24
Table 3B24 Table 3B24
Table 3B24
P-No.P-No.
P-No.P-No.
P-No.
X[mm]X[mm]
X[mm]X[mm]
X[mm]
YY
YY
Y
Y[mm] Y[mm]
Y[mm] Y[mm]
Y[mm]
YYmm]ZYYmm]Z
YYmm]ZYYmm]Z
YYmm]Z
ZZ
ZZ
Z
Z Z
Z Z
Z
H[mm]H[mm]
H[mm]H[mm]
H[mm]
]]
]]
]
Fdr.No.Fdr.No.
Fdr.No.Fdr.No.
Fdr.No.
CC
CC
C
CommentComment
CommentComment
Comment
XX
XX
X
Y Y
Y Y
Y
000 000
000 000
000
ȋȋ
ȋȋ
ȋ
0000
0000
00
ºº
ºº
º
+0.00+0.00
+0.00+0.00
+0.00
0 0
0 0
0
--
--
-
22
22
2
XX
XX
X
22
22
2
Y Y
Y Y
Y
22
22
2
90 90
90 90
90
ȋȋ
ȋȋ
ȋ
0000
0000
00
ºº
ºº
º
+0.00+0.00
+0.00+0.00
+0.00
03 03
03 03
03
--
--
-
33
33
3
XX
XX
X
33
33
3
Y Y
Y Y
Y
33
33
3
8080
8080
80
ȋȋ
ȋȋ
ȋ
0000
0000
00
ºº
ºº
º
+0.00+0.00
+0.00+0.00
+0.00
05 05
05 05
05
--
--
-
44
44
4
000.00000.00
000.00000.00
000.00
000.00 000000.00 000
000.00 000000.00 000
000.00 000
ȋȋ
ȋȋ
ȋ
0000
0000
00
ºº
ºº
º
+0.00+0.00
+0.00+0.00
+0.00
000000
000000
000
PP
PP
P
䇌ᡟ᳕㒝℺偹ⱙࠋᣜҹ䆓ᅯЏ “P ” 㗚 “Q ”Ȣ
(5)Placement Data((5)Placement Data(
(5)Placement Data((5)Placement Data(
(5)Placement Data(
ᅞ㺚ᭅᅞ㺚ᭅ
ᅞ㺚ᭅᅞ㺚ᭅ
ᅞ㺚ᭅ
)(O-data)U0)(O-data)U0
)(O-data)U0)(O-data)U0
)(O-data)U0
ⱙ㓫ⱙ㓫
ⱙ㓫ⱙ㓫
ⱙ㓫
Table 3B25Table 3B25
Table 3B25Table 3B25
Table 3B25
O-No.O-No.
O-No.O-No.
O-No.
XX
XX
X
[mm][mm]
[mm][mm]
[mm]
Y[mm]Y[mm]
Y[mm]Y[mm]
Y[mm]
Z C Z C
Z C Z C
Z C
CommentComment
CommentComment
Comment
B-X[mm] B-Y[mm] B-X[mm] B-Y[mm]
B-X[mm] B-Y[mm] B-X[mm] B-Y[mm]
B-X[mm] B-Y[mm]
PXPX
PXPX
PX
PY PY
PY PY
PY
000 000
000 000
000
ȋȋ
ȋȋ
ȋ
0000
0000
00
ºº
ºº
º
--
--
-
000.00 000.00
000.00 000.00
000.00
000.00 000.00
000.00 000.00
000.00
22
22
2
PX PX
PX PX
PX
22
22
2
PY PY
PY PY
PY
22
22
2
000 000
000 000
000
ȋȋ
ȋȋ
ȋ
ºº
ºº
º
--
--
-
000.00000.00
000.00000.00
000.00
000.00 000.00
000.00 000.00
000.00
33
33
3
PX PX
PX PX
PX
33
33
3
PY PY
PY PY
PY
33
33
3
000 000
000 000
000
ȋȋ
ȋȋ
ȋ
ºº
ºº
º
--
--
-
000.00000.00
000.00000.00
000.00
000.00 000.00
000.00 000.00
000.00
44
44
4
000.00000.00
000.00000.00
000.00
000.00000.00
000.00000.00
000.00
000000
000000
000
ȋȋ
ȋȋ
ȋ
ºº
ºº
º
EE
EE
E
000.00000.00
000.00000.00
000.00
000.00 000.00
000.00 000.00
000.00
0107-001 2-60
Note
3.33.3
3.33.3
3.3
䞢Ḍᵔᔷ䞢Ḍᵔᔷ
䞢Ḍᵔᔷ䞢Ḍᵔᔷ
䞢Ḍᵔᔷ