Program.x200.pdf - 第79页
3.4 3.4 3.4 3.4 3.4 䞢Ḍᵔᔷ 䞢Ḍᵔᔷ 䞢Ḍᵔᔷ 䞢Ḍᵔᔷ 䞢Ḍᵔᔷ ( ( ( ( ( ᳞㒙ঢ়䆛ࠀ ᳞㒙ঢ়䆛ࠀ ᳞㒙ঢ়䆛ࠀ ᳞㒙ঢ়䆛ࠀ ᳞㒙ঢ়䆛ࠀ ) ) ) ) ) ( )Pattern Program ( )Pattern Program ( )Pattern Program ( )Pattern Program ( )Pattern Program ߰ᓏֶᙄ ߰ᓏֶᙄ …

(2)(2)
(2)(2)
(2)
᪢Աᭅⱙ㓫ࠋ᪢Աᭅⱙ㓫ࠋ
᪢Աᭅⱙ㓫ࠋ᪢Աᭅⱙ㓫ࠋ
᪢Աᭅⱙ㓫ࠋ
•
P.C.B.Data(P.C.B.Data(
P.C.B.Data(P.C.B.Data(
P.C.B.Data(
ාᵔᭅාᵔᭅ
ාᵔᭅාᵔᭅ
ාᵔᭅ
))
))
)
ࠋԱϣ “3. पϿḌᵔᔷ ” ⳍৡⱙሏᇍȢ
•
P.C.B.Recognition Data(P.C.B.Recognition Data(
P.C.B.Recognition Data(P.C.B.Recognition Data(
P.C.B.Recognition Data(
ාᵔ䆛ࠀᭅාᵔ䆛ࠀᭅ
ාᵔ䆛ࠀᭅාᵔ䆛ࠀᭅ
ාᵔ䆛ࠀᭅ
))
))
)
䇌ᡟ P.E.C.recognition function(ාᵔ䆛ࠀࡴ㛒䗞ᢾ)䆓ᅯЏ
“Disable(Ϣ䆛ࠀ)”Ȣ䇌Ϣ㽖䆓ᅯҫᭅȢ
•
P.C.B.Recognition Mark Data(P.C.B.Recognition Mark Data(
P.C.B.Recognition Mark Data(P.C.B.Recognition Mark Data(
P.C.B.Recognition Mark Data(
ාᵔ䆛ࠀᷜ䆅ᭅාᵔ䆛ࠀᷜ䆅ᭅ
ාᵔ䆛ࠀᷜ䆅ᭅාᵔ䆛ࠀᷜ䆅ᭅ
ාᵔ䆛ࠀᷜ䆅ᭅ
))
))
)
䇌Ϣ㽖㓫ࠋℹᭅȢ
•
Setup Data(Setup Data(
Setup Data(Setup Data(
Setup Data(
ᷜ䆅ᭅᷜ䆅ᭅ
ᷜ䆅ᭅᷜ䆅ᭅ
ᷜ䆅ᭅ
))
))
)
䳕㽖Ք⫽㞿ࡽ Setup ࡴ㛒ᯋ㓫ࠋȢ
(3)(3)
(3)(3)
(3)
ܘӋ䜢㕃ᭅⱙ㓫ࠋܘӋ䜢㕃ᭅⱙ㓫ࠋ
ܘӋ䜢㕃ᭅⱙ㓫ࠋܘӋ䜢㕃ᭅⱙ㓫ࠋ
ܘӋ䜢㕃ᭅⱙ㓫ࠋ
ࠋԱϣ “3. पϿḌᵔᔷ ” ⳍৡⱙሏᇍȢ
(4)Placement Data((4)Placement Data(
(4)Placement Data((4)Placement Data(
(4)Placement Data(
ᅞ㺚ᭅᅞ㺚ᭅ
ᅞ㺚ᭅᅞ㺚ᭅ
ᅞ㺚ᭅ
)(P-data)U)(P-data)U
)(P-data)U)(P-data)U
)(P-data)U
ⱙ㓫ࠋⱙ㓫ࠋ
ⱙ㓫ࠋⱙ㓫ࠋ
ⱙ㓫ࠋ
•
Unit Control(Unit Control(
Unit Control(Unit Control(
Unit Control(
㺚㕃ࠋ㺚㕃ࠋ
㺚㕃ࠋ㺚㕃ࠋ
㺚㕃ࠋ
))
))
)
ࠋԱϣ “3. पϿḌᵔᔷ ” ⳍৡⱙሏᇍȢ
•
Unit P.C.B. B.B.R.(Unit P.C.B. B.B.R.(
Unit P.C.B. B.B.R.(Unit P.C.B. B.B.R.(
Unit P.C.B. B.B.R.(
㒙ঢ়ාᵔ䆛ࠀ㒙ঢ়ාᵔ䆛ࠀ
㒙ঢ়ාᵔ䆛ࠀ㒙ঢ়ාᵔ䆛ࠀ
㒙ঢ়ාᵔ䆛ࠀ
))
))
)
䇌ᡟ “Unit P.C.B. B.B.R.(㒙ঢ়ාᵔ䆛ࠀ)” 䆓ᅯЏ “Disable(Ϣ
䆛ࠀ) ”Ȣ
䇌Ϣ㽖䆓ᅯҫᭅȢ
•
Placement Data(Placement Data(
Placement Data(Placement Data(
Placement Data(
ᅞ㺚ᭅᅞ㺚ᭅ
ᅞ㺚ᭅᅞ㺚ᭅ
ᅞ㺚ᭅ
)(P-data))(P-data)
)(P-data))(P-data)
)(P-data)
Table 3B24 Table 3B24
Table 3B24 Table 3B24
Table 3B24
P-No.P-No.
P-No.P-No.
P-No.
X[mm]X[mm]
X[mm]X[mm]
X[mm]
YY
YY
Y
Y[mm] Y[mm]
Y[mm] Y[mm]
Y[mm]
YYmm]ZYYmm]Z
YYmm]ZYYmm]Z
YYmm]Z
ZZ
ZZ
Z
Z Z
Z Z
Z
H[mm]H[mm]
H[mm]H[mm]
H[mm]
]]
]]
]
Fdr.No.Fdr.No.
Fdr.No.Fdr.No.
Fdr.No.
CC
CC
C
CommentComment
CommentComment
Comment
XX
XX
X
Y Y
Y Y
Y
000 000
000 000
000
ȋȋ
ȋȋ
ȋ
0000
0000
00
ºº
ºº
º
+0.00+0.00
+0.00+0.00
+0.00
0 0
0 0
0
--
--
-
22
22
2
XX
XX
X
22
22
2
Y Y
Y Y
Y
22
22
2
90 90
90 90
90
ȋȋ
ȋȋ
ȋ
0000
0000
00
ºº
ºº
º
+0.00+0.00
+0.00+0.00
+0.00
03 03
03 03
03
--
--
-
33
33
3
XX
XX
X
33
33
3
Y Y
Y Y
Y
33
33
3
8080
8080
80
ȋȋ
ȋȋ
ȋ
0000
0000
00
ºº
ºº
º
+0.00+0.00
+0.00+0.00
+0.00
05 05
05 05
05
--
--
-
44
44
4
000.00000.00
000.00000.00
000.00
000.00 000000.00 000
000.00 000000.00 000
000.00 000
ȋȋ
ȋȋ
ȋ
0000
0000
00
ºº
ºº
º
+0.00+0.00
+0.00+0.00
+0.00
000000
000000
000
PP
PP
P
䇌ᡟ᳕㒝℺偹ⱙࠋᣜҹ䆓ᅯЏ “P ” 㗚 “Q ”Ȣ
(5)Placement Data((5)Placement Data(
(5)Placement Data((5)Placement Data(
(5)Placement Data(
ᅞ㺚ᭅᅞ㺚ᭅ
ᅞ㺚ᭅᅞ㺚ᭅ
ᅞ㺚ᭅ
)(O-data)U0)(O-data)U0
)(O-data)U0)(O-data)U0
)(O-data)U0
ⱙ㓫ⱙ㓫
ⱙ㓫ⱙ㓫
ⱙ㓫
Table 3B25Table 3B25
Table 3B25Table 3B25
Table 3B25
O-No.O-No.
O-No.O-No.
O-No.
XX
XX
X
[mm][mm]
[mm][mm]
[mm]
Y[mm]Y[mm]
Y[mm]Y[mm]
Y[mm]
Z C Z C
Z C Z C
Z C
CommentComment
CommentComment
Comment
B-X[mm] B-Y[mm] B-X[mm] B-Y[mm]
B-X[mm] B-Y[mm] B-X[mm] B-Y[mm]
B-X[mm] B-Y[mm]
PXPX
PXPX
PX
PY PY
PY PY
PY
000 000
000 000
000
ȋȋ
ȋȋ
ȋ
0000
0000
00
ºº
ºº
º
--
--
-
000.00 000.00
000.00 000.00
000.00
000.00 000.00
000.00 000.00
000.00
22
22
2
PX PX
PX PX
PX
22
22
2
PY PY
PY PY
PY
22
22
2
000 000
000 000
000
ȋȋ
ȋȋ
ȋ
ºº
ºº
º
--
--
-
000.00000.00
000.00000.00
000.00
000.00 000.00
000.00 000.00
000.00
33
33
3
PX PX
PX PX
PX
33
33
3
PY PY
PY PY
PY
33
33
3
000 000
000 000
000
ȋȋ
ȋȋ
ȋ
ºº
ºº
º
--
--
-
000.00000.00
000.00000.00
000.00
000.00 000.00
000.00 000.00
000.00
44
44
4
000.00000.00
000.00000.00
000.00
000.00000.00
000.00000.00
000.00
000000
000000
000
ȋȋ
ȋȋ
ȋ
ºº
ºº
º
EE
EE
E
000.00000.00
000.00000.00
000.00
000.00 000.00
000.00 000.00
000.00
0107-001 2-60
Note
3.33.3
3.33.3
3.3
䞢Ḍᵔᔷ䞢Ḍᵔᔷ
䞢Ḍᵔᔷ䞢Ḍᵔᔷ
䞢Ḍᵔᔷ

3.43.4
3.43.4
3.4
䞢Ḍᵔᔷ䞢Ḍᵔᔷ
䞢Ḍᵔᔷ䞢Ḍᵔᔷ
䞢Ḍᵔᔷ
((
((
(
᳞㒙ঢ়䆛ࠀ᳞㒙ঢ়䆛ࠀ
᳞㒙ঢ়䆛ࠀ᳞㒙ঢ়䆛ࠀ
᳞㒙ঢ়䆛ࠀ
))
))
)
( )Pattern Program( )Pattern Program
( )Pattern Program( )Pattern Program
( )Pattern Program
߰ᓏֶᙄ߰ᓏֶᙄ
߰ᓏֶᙄ߰ᓏֶᙄ
߰ᓏֶᙄ
•
P.C.B.Size(P.C.B.Size(
P.C.B.Size(P.C.B.Size(
P.C.B.Size(
ාᵔሏᇍාᵔሏᇍ
ාᵔሏᇍාᵔሏᇍ
ාᵔሏᇍ
))
))
)
ȡȡ
ȡȡ
ȡ
ܘӋῶḌܘӋܘӋῶḌܘӋ
ܘӋῶḌܘӋܘӋῶḌܘӋ
ܘӋῶḌܘӋ
IDID
IDID
ID
ȡȡ
ȡȡ
ȡ
FiducialFiducial
FiducialFiducial
Fiducial
Marks(Marks(
Marks(Marks(
Marks(
ාᵔ䆛ࠀᷜ䆅ාᵔ䆛ࠀᷜ䆅
ාᵔ䆛ࠀᷜ䆅ාᵔ䆛ࠀᷜ䆅
ාᵔ䆛ࠀᷜ䆅
))
))
)
ࠋԱϣ “3. पϿḌᵔᔷ ” ⳍৡⱙሏᇍȢ
•
ᅞ㺚ഥᷜȡᅞ㺚ഥᷜȡ
ᅞ㺚ഥᷜȡᅞ㺚ഥᷜȡ
ᅞ㺚ഥᷜȡ
ᅞ㺚㾧ᑻ䆛ࠀᷜ䆅ഥᷜᅞ㺚㾧ᑻ䆛ࠀᷜ䆅ഥᷜ
ᅞ㺚㾧ᑻ䆛ࠀᷜ䆅ഥᷜᅞ㺚㾧ᑻ䆛ࠀᷜ䆅ഥᷜ
ᅞ㺚㾧ᑻ䆛ࠀᷜ䆅ഥᷜ
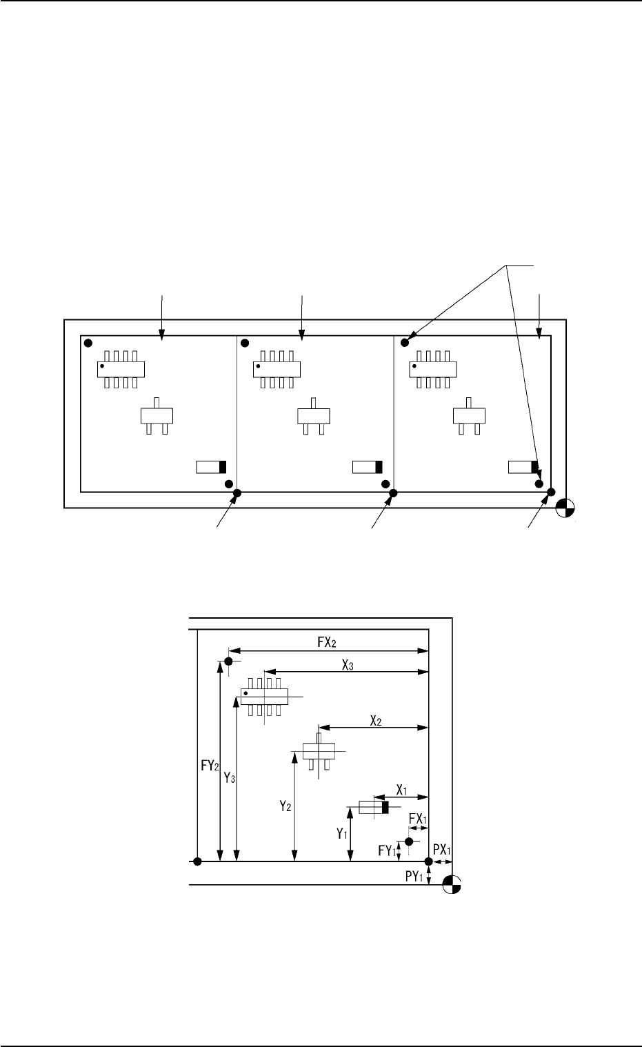
Fig.3B 23Fig.3B 23
Fig.3B 23Fig.3B 23
Fig.3B 23
ᭉԨᭉԨ
ᭉԨᭉԨ
ᭉԨ
Fig.3B 24Fig.3B 24
Fig.3B 24Fig.3B 24
Fig.3B 24
ḌᵔᔷḌᵔᔷ
ḌᵔᔷḌᵔᔷ
Ḍᵔᔷ
((
((
(
ᬓᬓ
ᬓᬓ
ᬓ
))
))
)
0107-001 2-61
3.43.4
3.43.4
3.4
䞢Ḍᵔᔷ䞢Ḍᵔᔷ
䞢Ḍᵔᔷ䞢Ḍᵔᔷ
䞢Ḍᵔᔷ
᳞㒙ঢ়䆛ࠀ᳞㒙ঢ়䆛ࠀ
᳞㒙ঢ়䆛ࠀ᳞㒙ঢ়䆛ࠀ
᳞㒙ঢ়䆛ࠀ
ḌᵔḌᵔ
ḌᵔḌᵔ
Ḍᵔ
ᔷᔷ
ᔷᔷ
ᔷ
33
33
3
ḌᵔḌᵔ
ḌᵔḌᵔ
Ḍᵔ
ᔷᔷ
ᔷᔷ
ᔷ
22
22
2
ḌᵔḌᵔ
ḌᵔḌᵔ
Ḍᵔ
ᔷᔷ
ᔷᔷ
ᔷ
ḌᵔḌᵔ
ḌᵔḌᵔ
Ḍᵔ
ᔷॴ⚎ᔷॴ⚎
ᔷॴ⚎ᔷॴ⚎
ᔷॴ⚎
(PX(PX
(PX(PX
(PX
3,3,
3,3,
3,
PYPY
PYPY
PY
33
33
3
))
))
)
(PX(PX
(PX(PX
(PX
2,2,
2,2,
2,
PYPY
PYPY
PY
22
22
2
))
))
)
(PX(PX
(PX(PX
(PX
, ,
, ,
,
PYPY
PYPY
PY
))
))
)
ᅞ㺚ഥᷜාޛᅞ㺚ഥᷜාޛ
ᅞ㺚ഥᷜාޛᅞ㺚ഥᷜාޛ
ᅞ㺚ഥᷜාޛ
䆛ࠀᷜ䆅䆛ࠀᷜ䆅
䆛ࠀᷜ䆅䆛ࠀᷜ䆅
䆛ࠀᷜ䆅
ᅞ㺚ഥᷜාޛᅞ㺚ഥᷜාޛ
ᅞ㺚ഥᷜාޛᅞ㺚ഥᷜාޛ
ᅞ㺚ഥᷜාޛ

(2)Operation Data((2)Operation Data(
(2)Operation Data((2)Operation Data(
(2)Operation Data(
᪢Աᭅ᪢Աᭅ
᪢Աᭅ᪢Աᭅ
᪢Աᭅ
))
))
)
ⱙ㓫ࠋⱙ㓫ࠋ
ⱙ㓫ࠋⱙ㓫ࠋ
ⱙ㓫ࠋ
•
P.C.B.Data(P.C.B.Data(
P.C.B.Data(P.C.B.Data(
P.C.B.Data(
ාᵔᭅාᵔᭅ
ාᵔᭅාᵔᭅ
ාᵔᭅ
))
))
)
ࠋԱϣ “3. पϿḌᵔᔷ ” ⳍৡⱙሏᇍȢ
•
P.C.B.Recognition Data(P.C.B.Recognition Data(
P.C.B.Recognition Data(P.C.B.Recognition Data(
P.C.B.Recognition Data(
ාᵔ䆛ࠀᷜ䆅ᭅාᵔ䆛ࠀᷜ䆅ᭅ
ාᵔ䆛ࠀᷜ䆅ᭅාᵔ䆛ࠀᷜ䆅ᭅ
ාᵔ䆛ࠀᷜ䆅ᭅ
))
))
)
Table 3B26Table 3B26
Table 3B26Table 3B26
Table 3B26
P.E.C.Recognition FunctionP.E.C.Recognition Function
P.E.C.Recognition FunctionP.E.C.Recognition Function
P.E.C.Recognition Function
EnableEnable
EnableEnable
Enable
P.E.C.Recognition Mode globalP.E.C.Recognition Mode global
P.E.C.Recognition Mode globalP.E.C.Recognition Mode global
P.E.C.Recognition Mode global
DisableDisable
DisableDisable
Disable
P.E.C.Recognition Mode ImageP.E.C.Recognition Mode Image
P.E.C.Recognition Mode ImageP.E.C.Recognition Mode Image
P.E.C.Recognition Mode Image
EnableEnable
EnableEnable
Enable
P.E.C.Recognition Mode localP.E.C.Recognition Mode local
P.E.C.Recognition Mode localP.E.C.Recognition Mode local
P.E.C.Recognition Mode local
DisableDisable
DisableDisable
Disable
Fiducial mark# X location[mm]Fiducial mark# X location[mm]
Fiducial mark# X location[mm]Fiducial mark# X location[mm]
Fiducial mark# X location[mm]
0.000[mm]0.000[mm]
0.000[mm]0.000[mm]
0.000[mm]
Fiducial mark# Y location[mm]Fiducial mark# Y location[mm]
Fiducial mark# Y location[mm]Fiducial mark# Y location[mm]
Fiducial mark# Y location[mm]
0.000[mm]0.000[mm]
0.000[mm]0.000[mm]
0.000[mm]
Fiducial mark# Mark codeFiducial mark# Mark code
Fiducial mark# Mark codeFiducial mark# Mark code
Fiducial mark# Mark code
Fiducial mark#2 X location[mm]Fiducial mark#2 X location[mm]
Fiducial mark#2 X location[mm]Fiducial mark#2 X location[mm]
Fiducial mark#2 X location[mm]
0.000[mm]0.000[mm]
0.000[mm]0.000[mm]
0.000[mm]
Fiducial mark#2 Y location[mm]Fiducial mark#2 Y location[mm]
Fiducial mark#2 Y location[mm]Fiducial mark#2 Y location[mm]
Fiducial mark#2 Y location[mm]
0.000[mm]0.000[mm]
0.000[mm]0.000[mm]
0.000[mm]
Fiducial mark#2 Mark codeFiducial mark#2 Mark code
Fiducial mark#2 Mark codeFiducial mark#2 Mark code
Fiducial mark#2 Mark code
Fiducial mark#3 X location[mm]Fiducial mark#3 X location[mm]
Fiducial mark#3 X location[mm]Fiducial mark#3 X location[mm]
Fiducial mark#3 X location[mm]
Fiducial mark#3 Y location[mm]Fiducial mark#3 Y location[mm]
Fiducial mark#3 Y location[mm]Fiducial mark#3 Y location[mm]
Fiducial mark#3 Y location[mm]
Fiducial mark#3 Mark codeFiducial mark#3 Mark code
Fiducial mark#3 Mark codeFiducial mark#3 Mark code
Fiducial mark#3 Mark code
Fiducial mark#4 X location[mm]Fiducial mark#4 X location[mm]
Fiducial mark#4 X location[mm]Fiducial mark#4 X location[mm]
Fiducial mark#4 X location[mm]
Fiducial mark#4 Y location[mm]Fiducial mark#4 Y location[mm]
Fiducial mark#4 Y location[mm]Fiducial mark#4 Y location[mm]
Fiducial mark#4 Y location[mm]
Fiducial mark#4 Mark codeFiducial mark#4 Mark code
Fiducial mark#4 Mark codeFiducial mark#4 Mark code
Fiducial mark#4 Mark code
•
P.C.B. Recognition Mark Data(P.C.B. Recognition Mark Data(
P.C.B. Recognition Mark Data(P.C.B. Recognition Mark Data(
P.C.B. Recognition Mark Data(
ාᵔ䆛ࠀᷜ䆅ᭅාᵔ䆛ࠀᷜ䆅ᭅ
ාᵔ䆛ࠀᷜ䆅ᭅාᵔ䆛ࠀᷜ䆅ᭅ
ාᵔ䆛ࠀᷜ䆅ᭅ
))
))
)
Table 3B27Table 3B27
Table 3B27Table 3B27
Table 3B27
MarkMark
MarkMark
Mark
MarkMark
MarkMark
Mark
Mark Size Mark Size
Mark Size Mark Size
Mark Size
Mark Size Mark Size Window Mark Size Mark Size Window
Mark Size Mark Size Window Mark Size Mark Size Window
Mark Size Mark Size Window
Mark Mark
Mark Mark
Mark
Mark Mark
Mark Mark
Mark
RecogRecog
RecogRecog
Recog
##
##
#
TypeType
TypeType
Type
D[mm]D[mm]
D[mm]D[mm]
D[mm]
D2[mm] D3[mm]D2[mm] D3[mm]
D2[mm] D3[mm]D2[mm] D3[mm]
D2[mm] D3[mm]
Size[mm] Size[mm]
Size[mm] Size[mm]
Size[mm]
ImageImage
ImageImage
Image
LevelLevel
LevelLevel
Level
Algo Algo
Algo Algo
Algo
RoundRound
RoundRound
Round
.00mm.00mm
.00mm.00mm
.00mm
0.00mm 0.00mm 0.00mm 0.00mm
0.00mm 0.00mm 0.00mm 0.00mm
0.00mm 0.00mm
05.0mm 05.0mm
05.0mm 05.0mm
05.0mm
BrightBright
BrightBright
Bright
HighHigh
HighHigh
High
PatternPattern
PatternPattern
Pattern
•
Setup DataSetup Data
Setup DataSetup Data
Setup Data
䳕㽖Ք⫽㞿ࡽ Setup ࡴ㛒ᯋ㓫ࠋȢ
(3)Placement Feeder Location Data((3)Placement Feeder Location Data(
(3)Placement Feeder Location Data((3)Placement Feeder Location Data(
(3)Placement Feeder Location Data(
ܘӋ䜢㕃ᭅܘӋ䜢㕃ᭅ
ܘӋ䜢㕃ᭅܘӋ䜢㕃ᭅ
ܘӋ䜢㕃ᭅ
))
))
)
ⱙ㓫ࠋⱙ㓫ࠋ
ⱙ㓫ࠋⱙ㓫ࠋ
ⱙ㓫ࠋ
ࠋԱϣ“ 3. पϿḌᵔᔷ”ⳍৡⱙሏᇍȢ
0107-001 2-62
3.43.4
3.43.4
3.4
䞢Ḍᵔᔷ䞢Ḍᵔᔷ
䞢Ḍᵔᔷ䞢Ḍᵔᔷ
䞢Ḍᵔᔷ
᳞㒙ঢ়䆛ࠀ᳞㒙ঢ়䆛ࠀ
᳞㒙ঢ়䆛ࠀ᳞㒙ঢ়䆛ࠀ
᳞㒙ঢ়䆛ࠀ