00195044-12_UM_VisionTeachStation_DE EN - 第34页
5 Kameras installieren Bedienungsanleitung Vision Teach Station 5.1 Stationäre Kameras des Typs 25, 33 und 36 installieren Ausgabe 05/2014 34 5.1.1.3 Kamera zusammensetzen Setzen Sie die Abdeckhaube (Pos. 2) mit der Na…

Bedienungsanleitung Vision Teach Station 5 Kameras installieren
Ausgabe 05/2014 5.1 Stationäre Kameras des Typs 25, 33 und 36 installieren
33
Abb. 5.1 - 4 Dipschalter-Einstellungen der stationären Kameras (neuere Version mit 6 Schaltern)
VORSICHT 5
Bei der Version mit 6 Schaltern darf der Schalter 4 nicht verändert werden, da dies zu einer Fehl-
funktion des LED-Selbsttests führen kann.

5 Kameras installieren Bedienungsanleitung Vision Teach Station
5.1 Stationäre Kameras des Typs 25, 33 und 36 installieren Ausgabe 05/2014
34
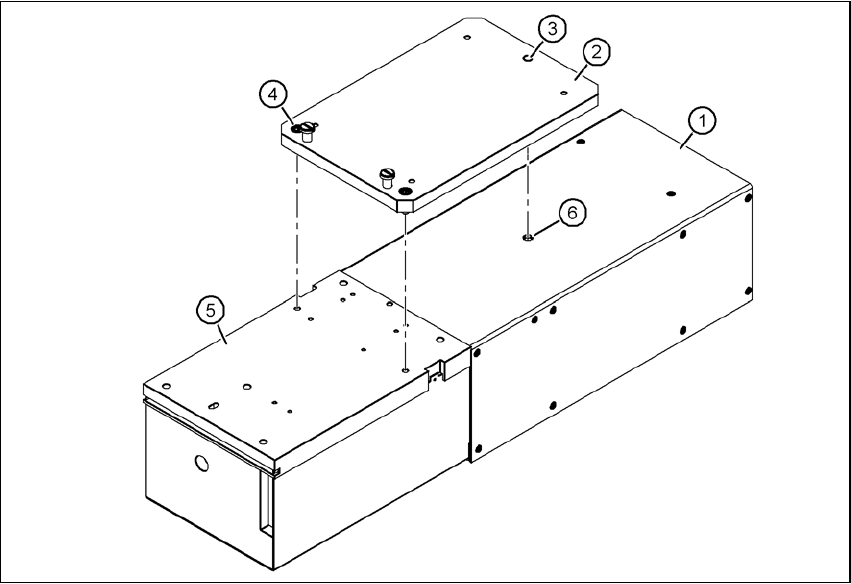
5.1.1.3 Kamera zusammensetzen
Setzen Sie die Abdeckhaube (Pos. 2) mit der Nase voran in die Grundplatte (Pos. 3) ein.
Schwenken Sie die Abdeckhaube nach unten, bis sie an der Kugelrastung (Pos. 4) der Grund-
platte (Pos. 3) einrastet.
Schieben Sie den Beleuchtungskopf (Pos. 1) zurück, bis er einrastet.
5
Abb. 5.1 - 5 Kamera zusammensetzen

Bedienungsanleitung Vision Teach Station 5 Kameras installieren
Ausgabe 05/2014 5.1 Stationäre Kameras des Typs 25, 33 und 36 installieren
35
5.1.2 Kamera am Grundmodul installieren
5.1.2.1 Benötigtes Werkzeug
Sechskantstiftschlüssel, Satz
5.1.2.2 Halterung für den Kameratyp 33, 36 und 25 montieren
Drehen Sie die Kamera um die Längsachse 180°, sodass die Grundplatte (Pos. 5) nach oben
zeigt.
Setzen Sie die Halterung (Pos. 2) so auf die Kamera, dass der Zylinderstift (Pos. 3) in die
Bohrung (Pos. 6) des Beleuchtungskopfes (Pos. 1) gleitet.
Befestigen Sie die Halterung (Pos. 2) mit den beiden Innensechskantschrauben M6 x 16
(Pos. 4) auf der Grundplatte (Pos. 5).
Der Beleuchtungskopf kann sich nun nicht mehr vom Grundmodul lösen.
5
Abb. 5.1 - 6 Halterung für Kameratyp 33 montieren
(1) Beleuchtungskopf
(2) Halterung Typ 33/36, Artikel-Nr. 03039467-xx; Halterung Typ 25, Artikel-Nr. 03039471-xx
(3) Zylinderstift