KE2020-Instruction-Manual-ver1.30.pdf - 第843页
14 − 22 14.3.7 Z slider shaft Clean the inside of the Z slider shaf t with a cotton swab moistened with alcohol f rom the botton. Cotton swab WA RNING To prevent t he body from injury which can be caused by accidental ac…

14 − 21
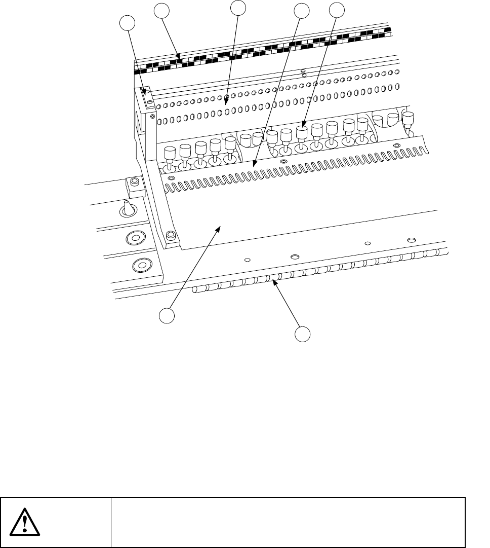
14.3.6 Feeder bank
Clean the surface of the feeder bank with dry cloth before mounting feeders such a
tape feeder there.
Clean the feeder bank with dry cloth so that the fixing plate B ③ is free from
obstacles.
Using a vacuum cleaner, clean the feeder bank if there are chips or some foreign
matters remained on it.
6
2
4
1
5
3
7
① Feeder bank ⑤ Drive cylinder
② Fixing plate ⑥ Position label
③ Fixing plate B ⑦ Bank mark
④ Lock shaft
WARNING
To prevent the body from injury which can be caused by accidental
activation of the machine, cut off the power to the machine before
starting to work.

14 − 22
14.3.7 Z slider shaft
Clean the inside of the Z slider shaft with a cotton swab moistened with alcohol from
the botton.
Cotton swab
WARNING
To prevent the body from injury which can be caused by accidental
activation of the machine, cut off the power to the machine before
starting to work.
14.3.8 CVS (Component Verification System) (Option)
If there is any smudges such as dust on the A-side of a contact when starting the unit,
clean if with cloth damped with alcohol. Such smudges on the A-side might interfere
with the inspection of component.
Figure of CVS viewed from upper side
Contact
A side
Contact

14 − 23
14.3.9 Overall feeder exchange trolley (optional)
Clean any dust and/or foreign substance from the table before attaching a tape
feeder or any other feeder on the feeder bank.
Check to see if there is no foreign substance under the fixing plate B ②.
Check to see if there is no foreign substance such as a chip component around the
bank locating pins ③ (on both sides).
If there is any foreign substance such as a chip component, remove it with a vacuum
cleaner.
1
2
3
① Feeder bank
② Fixing plate B
③ Bank locating pin