00194053-01_UM_F5HM_SR408_SE - 第152页
6 Komponenthantering Sköts elin str ukti on SI PLAC E F5 HM 6.2 Tekniska dat a för S-m atarenheter Pr ogramversion SR.408.xx Utgåva 03/200 6 SE 152 6.2.17.2 T ekniska dat a 6 6 6 6.2.17.3 Parameter för Surf t ape-mat are…

Skötselinstruktion SIPLACE F5 HM 6 Komponenthantering
Programversion SR.408.xx Utgåva 03/2006 SE 6.2 Tekniska data för S-matarenheter
151
6.2.17 Surftape-matare
6.2.17.1 Översikt
För ytmontering av Bare Die är Surftape-mataren nödvändig för komponentinmatningen. Dessa
matare finns i utföranden för 8-, 12- resp. 16 mm band.
6
Bild 6.2 - 17 Surftape-matare
Surftape-mataren kan fås från Firma Hover-Davis (www. hoverdavis.com). Hanteringen av mata-
ren finns beskriven i bruksanvisningen för tillkopplingsmodulerna.

6 Komponenthantering Skötselinstruktion SIPLACE F5 HM
6.2 Tekniska data för S-matarenheter Programversion SR.408.xx Utgåva 03/2006 SE
152
6.2.17.2 Tekniska data
6
6
6
6.2.17.3 Parameter för Surftape-matare
Parametrarna för Surftape-mataren kan ändras på SIPLACE Pro-datorn.
Bandbredder 8/12/16 mm
Rekommenderade band- och kompo-
nent-storlekar
8 mm: komponent 1 x 1 mm² - 2,3 x 2,3 mm²
12 mm: komponent 2,3 x 2,3 mm² - 5 x 5 mm²
16 mm: komponent 3,8 x 3,8 mm² - 9,5 x 9,5 mm²
Bandnoggrannhet för Bare Die på
Surftape
Bare Die-storlek till 2,3 x 2,3 mm²: +/- 100 µm, 6 σ
Bare Die-storlek över 2,3 x 2,3 mm²: +/- 200 µm, 6 σ
(räknat från fickans mittpunkt)
Nödvändigt avstånd mellan Bare Die-
kant till bandficka Min 0,4 mm
Utstötarnål Enkel- eller trippelnål, beroende på storlek för Die
Bandmaterial Metriskt
Bandnorm IEC 286-3, DIN-IEC-286, EIA 481 och JIS C 0806
Bandrullens diameter 7" till 15"
Matarens ställyta 1 ställplats på komponentbordet

Skötselinstruktion SIPLACE F5 HM 6 Komponenthantering
Programversion SR.408.xx Utgåva 03/2006 SE 6.2 Tekniska data för S-matarenheter
153
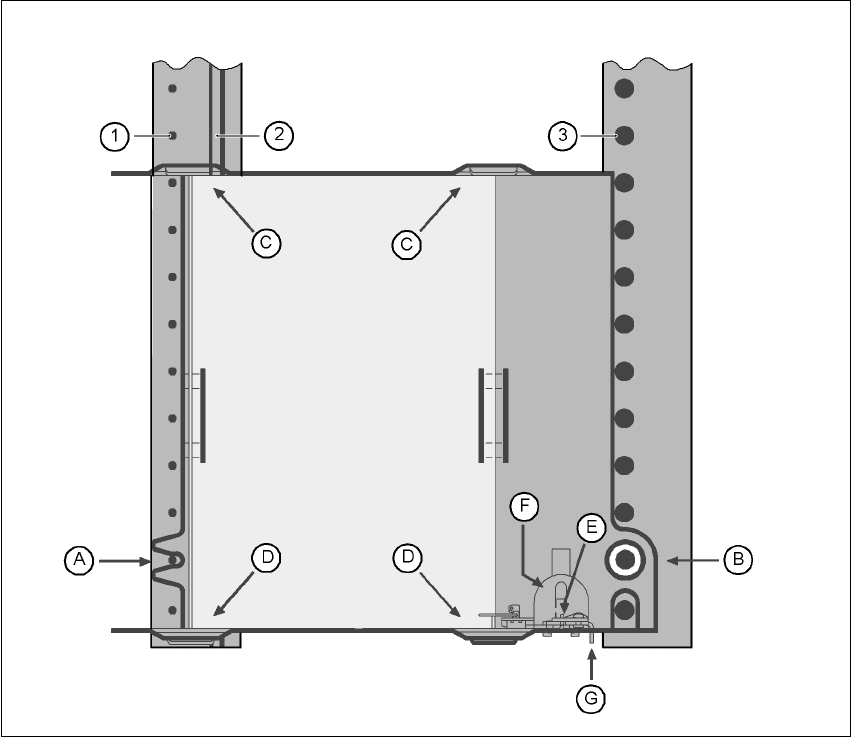
6.2.18 Waffle-pack-hållare
Med hållaren för ytmagasin kan komponenter hämtas från enstaka ytmagasin. Ytmagasinen byts
för hand.
6
Bild 6.2 - 18 In/utbyggnad
(1) Centreringsstift
(2) Magnetlist
(3) Kalott
Hållaren för ytmagasin ställs på komponentbordet som en matare. Det finns två olika utföranden
på hållare, som skiljer sig genom bredden.
Hållare för stora ytmagasin (260x360mm², upptar 9 ställplatser)
artikelnr 00116430-01 och 6
Hållare för små ytmagasin (136x360mm², upptar 5 ställplatser)
artikelnr 00116432-01 6
6