00194053-01_UM_F5HM_SR408_SE - 第200页
7 Optioner Skö tsel inst ruk tion SI PLA CE F5 HM 7.7 Munstyck sväxlare för Pick&Place-huvudet P rogramversion S R.408.xx Utgåva 03/2006 S E 200 Automa ten SIPLA CE F5 är standardmä ssigt ut rustad med en munstyc ksv…

Skötselinstruktion SIPLACE F5 HM 7 Optioner
Programversion SR.408.xx Utgåva 03/2006 SE 7.7 Munstycksväxlare för Pick&Place-huvudet
199
7.7 Munstycksväxlare för Pick&Place-huvudet
7.7.1 Översikt
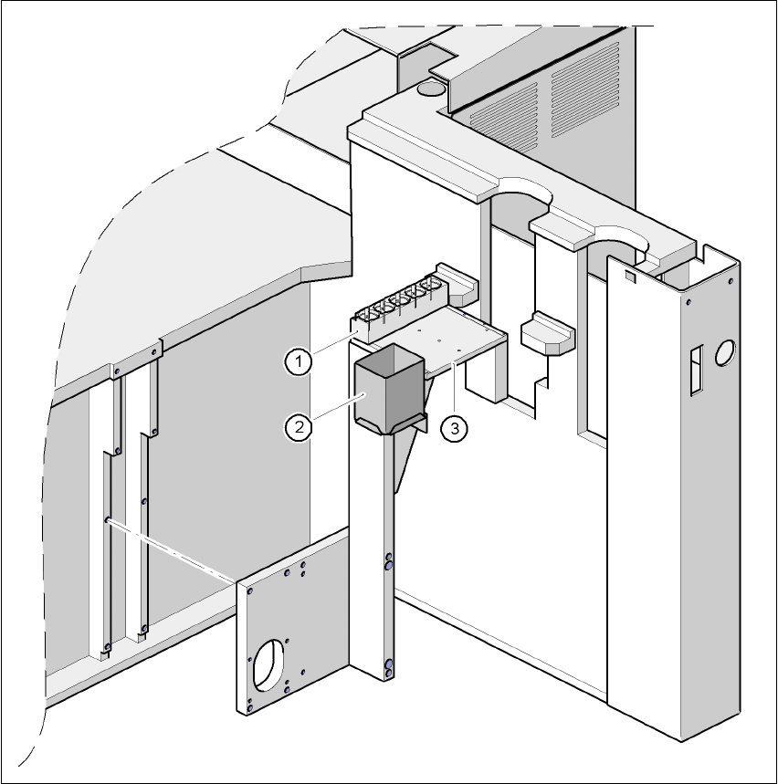
Bild 7.7 - 1 Munstycksväxlarens monteringsställe för Pick&Place-huvudet
(1) Magasin för 5 munstycken
(2) Kassationsbehållare
(3) Hållarplatta

7 Optioner Skötselinstruktion SIPLACE F5 HM
7.7 Munstycksväxlare för Pick&Place-huvudet Programversion SR.408.xx Utgåva 03/2006 SE
200
Automaten SIPLACE F5 är standardmässigt utrustad med en munstycksväxlare för Pick&Place-
huvudet. I leveransen ingår ett munstycksmagasin för fem munstycken, till exempel fyra stan-
dardmunstycken ur munstycksserien 4xx och ett specialmunstycke. Om så önskas kan ytterli-
gare tre munstycksmagasin eftermonteras så att maximalt 20 munstycken står till förfogande.
7.7.2 Tekniska data - munstycksväxlare för Pick&Place-huvudet
7.7.3 Funktionsbeskrivning
7
Bild 7.7 - 2 Översikt munstycksväxlare
7
Munstyckstyper Alla munstycken i munstycksserien 4xx, specialmunstycke (till-
val)
Kapacitet 1 till 4 magasin à 5 munstycken, som kan konfigureras god-
tyckligt
Munstycksväxlingstid Ca 2 sek. per munstycke
(1) Lägesmärke
(2) Munstycksurtag
(3) Kassationsbehållare
(4) Magasin 1 (standard)
(5) Magasin 2 till 4 (tillval)

Skötselinstruktion SIPLACE F5 HM 7 Optioner
Programversion SR.408.xx Utgåva 03/2006 SE 7.7 Munstycksväxlare för Pick&Place-huvudet
201
– På de enskilda magasinen finns vardera ett positionsmärke (pos. 1
på bild 7.7 - 2
) lägesavkänning.
– Magasinens enskilda ställplatser är numrerade från 1 - 4.
– De enskilda munstycksgaragen är numrerade från 1 till 5 i de enskilda magasinen.
– Munstyckena fixeras i sina positioner i garagen med fjädrande krokar. Beroende på
Pick&Place-huvudaxelns rotationsriktning kläms munstyckena antingen fast eller så friges de.
7.7.4 Anvisningar för användning och underhåll
→ För att lägga in eller byta ut munstyckena (pos 2 på bild 7.7 - 3) används munstycksurtag-
ningsverktyget (se pos. 1 på bild. 7.7 - 3
).
→ Rengör munstycksväxlaren så som det beskrivs i undershållsinstruktionen.
7
Bild 7.7 - 3 Tag ut munstycket ur munstycksväxlaren