Nordson_EFD_Series_400_Instructions - 第10页
Series 400 Autovalve | Instructions / Parts Lists 10 www.nordsonefd.com info@nordsonefd.com +1-401-431-7000 Sales and service of Nordson EFD dispensing systems are available worldwide. AV-RK-TFV #7704092 Ref. No. Qty. De…

Series 400 Autovalve | Instructions / Parts Lists
9www.nordsonefd.com info@nordsonefd.com +1-401-431-7000 Sales and service of Nordson EFD dispensing systems are available worldwide.
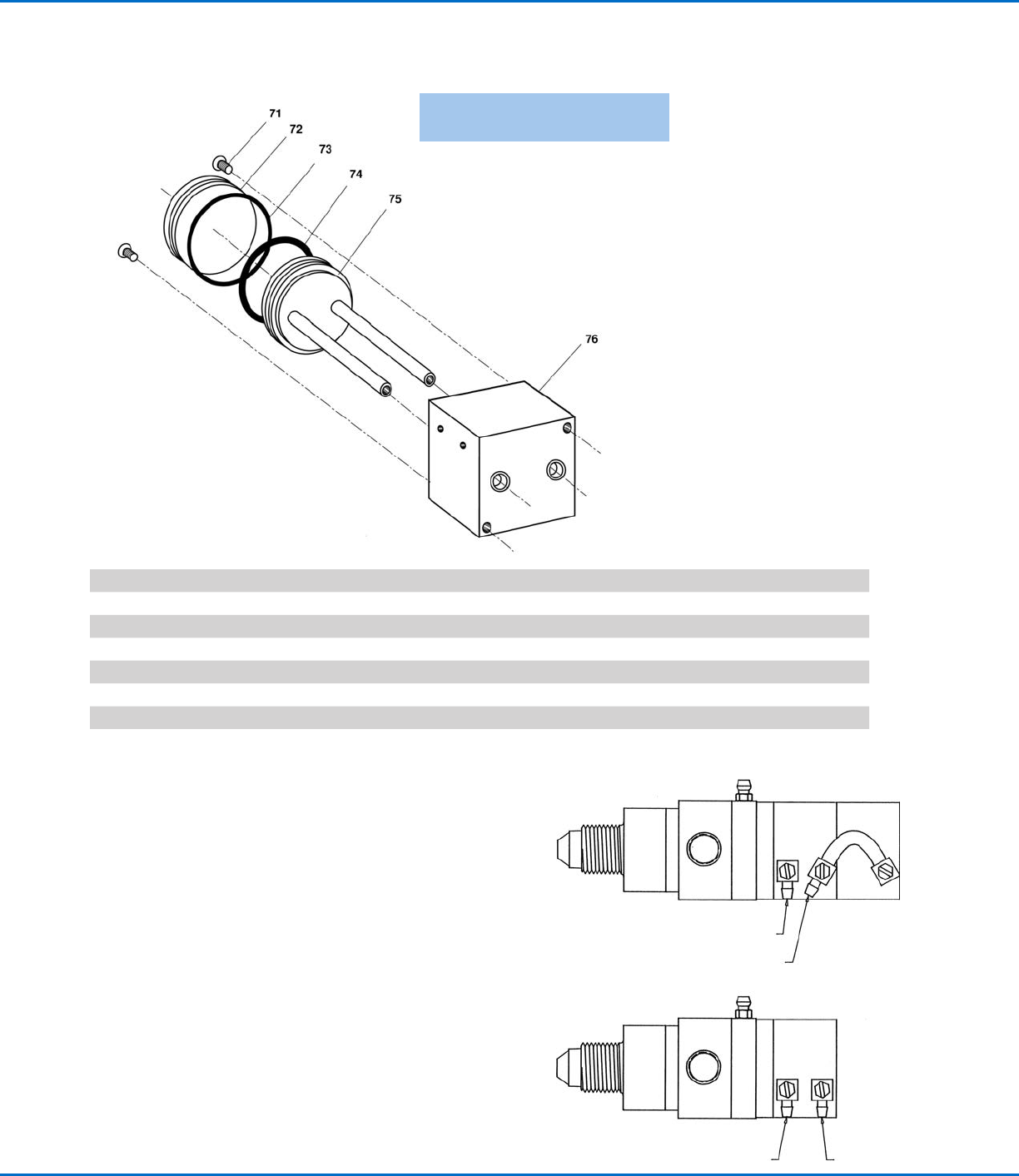
Air Cylinders — Single Hardened SS Shafts #7702315
NOTE: Prior to assembly lubricate all
O-rings with auto grease.
P/N Ref. # Qty. Description
7702079 71 2 BHCS 1/4-20 x 1/2" long
7702402 72 1 Aluminum Back Plate
7702077 73 1 Brown Viton O-ring (Back Plate)
7702076 74 1 Brown Viton O-ring (Piston)
7702075 75 1 Replacement Piston and Hardened SS Shafts
7702074 76 1 Replacement Body with Front Seals
Air Cylinders — Double
Double air cylinder
Single air cylinder
Connect air to open valve
Connect air to close valve
Open Closed

Series 400 Autovalve | Instructions / Parts Lists
10 www.nordsonefd.com info@nordsonefd.com +1-401-431-7000 Sales and service of Nordson EFD dispensing systems are available worldwide.
AV-RK-TFV #7704092
Ref. No. Qty. Description
13 2 PTFE Front Seal
3 6 Viton U-Cup & Viton O-ring
6 6 Viton (brown) O-ring
AV-RK-TGT #7704093
Ref. No. Qty. Description
13 2 PTFE Front Seal
3 6 UHMPE U-Cup & SS Spring
6 6 PTFE encapsulated O-ring
AV-RK-TGV #7704094
Ref. No. Qty. Description
13 2 PTFE Front Seal
3 6 UHMPE U-Cup & SS Spring
6 6 Viton (brown) O-ring
AV-RK-TPV #7704095
Ref. No. Qty. Description
13 2 PTFE Front Seal
3 6 PU U-Cup & Viton O-ring
6 6 Viton (brown) O-ring
AV-RK-TTT #7704096
Ref. No. Qty. Description
13 2 PTFE Front Seal
3 6 PTFE U-Cup & PTFE O-ring
6 6 PTFE encapsulated O-ring
Double Air Cylinder Repair Kit #7701981
Ref. No. Qty. Description
82 1 Viton O-ring for Front Plate
83 1 Front Plate with Viton O-ring
NOTE: 400 AutoGun requires only (4) lips seals. (2) Extra
lip seals are provided as spares for future use.
Consult Factory for additional seal combinations.
Spare Parts Kits
400 Autogun Repair Kits
Each kit contains a complete set of lip seals, O-rings, and front seals.

Series 400 Autovalve | Instructions / Parts Lists
11www.nordsonefd.com info@nordsonefd.com +1-401-431-7000 Sales and service of Nordson EFD dispensing systems are available worldwide.
Accessories
Fluid Inlet Adapter for 400 Valve
Swivel Check Valve Adapters
For A & B materials, we offer a combination check valve/fluid inlet adapter. This rugged, all-in-one adapter provides a metal-
to-metal seal for proven low maintenance in an ideal location. It also incorporates a swivel connection for ease of air purging.
P/N Description
7702408 All SS, except Alum. collar, 1/4 FNPT
The valve body has 9/16-18 inlets. The following fittings are available to connect the A & B hoses.
NOTE: All fittings are supplied with EP O-rings. Optional Viton O-rings available on request. Substitute V for Viton instead of
Part No. suffix E.
Carbon Steel Adapters
P/N Description
7702414 90 degree Elbow with 1/4 MNPT
7702407 90 degree Elbow with 1/4 FNPS
7702420 90 degree Elbow with 3/8 FNPS
7702419 Straight Adapter with 1/4 MNPT
7702428 Straight Adapter with 3/8 MNPT
7702425 Straight Adapter with 3/8 FNPS
Collar