SI-F130AI_1st_CS - 第584页
调试篇 1. 安装 1-4 SI-F130AI 1.3 SI-F 130AI 的设置 (1) 基板搬送面和搬送高 度的调整 [ 调整功能 ] SI-F1 30AI SI-F130AI (1) SI- F130AI (2) �…

调试篇
1. 安装
SI-F130AI
1-3
1.2 内容确认
[ 作业功能 ]
(1) SI-F130AI
(2)
附属品及选配零件内容及数量,根据
SI-F130AI
交货规格而异。订购
SI-F130AI
时,请以签
订的交货规格书进行确认。
[ 作业顺序 ]
1.
SI-F130AI
2. SI-F130AI SI-F130AI
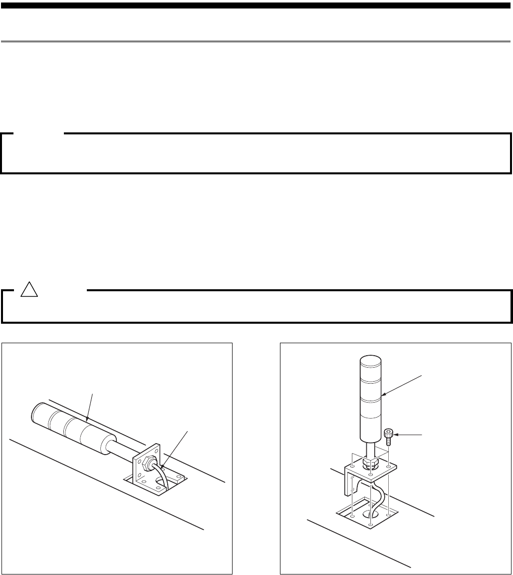
4 M4 6
安装信号灯时,请注意不要将脚线损坏。
注意 :
输送时
信号灯
脚线
信号灯
六角有孔螺栓
警告 :
!

调试篇
1. 安装
1-4
SI-F130AI
1.3 SI-F130AI 的设置
(1) 基板搬送面和搬送高度的调整
[ 调整功能 ]
SI-F130AI
SI-F130AI
(1) SI-F130AI
(2) 900+30/-10mm
[
调整顺序 ]
1.
X Y
2. SI-F130AI SI-F130AI
4 SI-F130AI SI-
F130AI
脚高度调整用六角螺母的
2
面宽度是
46mm
。
前面
水准器
注意 :

调试篇
1. 安装
SI-F130AI
1-5
3. X Y 0.05 (1 0.02 2 1
0.05 1 )
锁定用螺母 下降
扳手
脚
上升
脚的六角螺母部分