00193922-03 - 第311页
User manual SIPLAC E HF series 7 Station extensions Software Vers ion SR.50x.xx 01/2006 US Edition 7.1 Nozzle changer 311 7.1.3 Nozzle changer for th e SIPLACE T winHead Maga zine for 2 nozzl es: Item no. 03005 191-xx Ma…

7 Station extensions User manual SIPLACE HF series
7.1 Nozzle changer Software Version SR.50x.xx 01/2006 US Edition
310
7.1.2.9 Assembly kit for the "row 2" nozzle changer
Item no. 00119664-xx
The "row 2" nozzle changer may be installed at the following locations:
HF placement machine: locations 1 and 3 (see Fig. 7.1 - 10
, page 302)
HF/3 placement machine: locations 1, 3, and 4 (see Fig. 7.1 - 11
, page 303)
The retrofit package contains an assembly kit and a nozzle take-off device with reject bin, in ad-
dition to the nozzle changer.
7
Fig. 7.1 - 16 Assembly kit for the 2nd nozzle changer
(1) Assembly kit for the "row 2" nozzle changer
(2) Nozzle take-off device for type 8xx nozzles
(3) Nozzle take-off device for type 9xx nozzles
(4) Nozzle reject bin

User manual SIPLACE HF series 7 Station extensions
Software Version SR.50x.xx 01/2006 US Edition 7.1 Nozzle changer
311
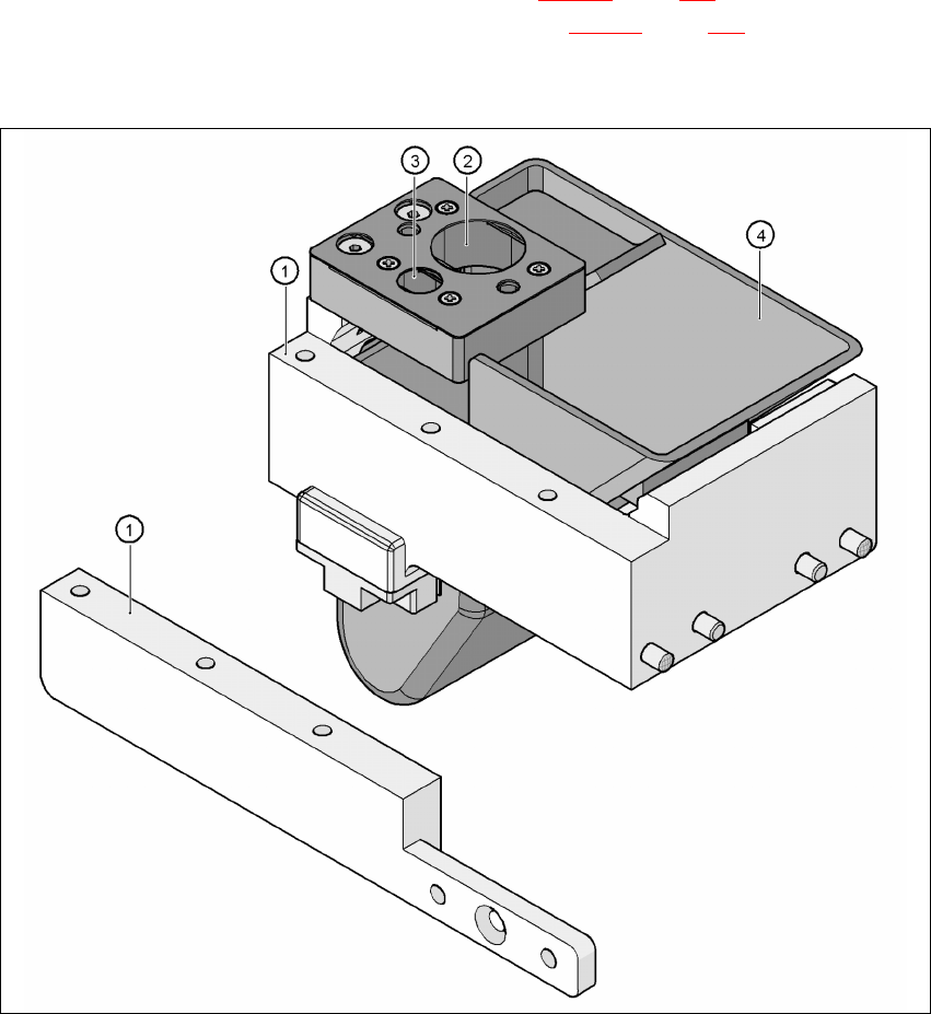
7.1.3 Nozzle changer for the SIPLACE TwinHead
Magazine for 2 nozzles: Item no. 03005191-xx
Magazine for 1 nozzle: Item no. 03001807-xx
This nozzle changer can hold up to 12 nozzle magazines. There are two types of magazine avail-
able: standard magazines and magazines for special nozzles or grippers. The magazines are
seated on a common support. They are centered with two parallel pins and fixed in place with two
countersunk screws.
7
Fig. 7.1 - 17 Nozzle changers for the SIPLACE TwinHead
WARNING 7
Only install the associated nozzle changer for each placement head. There is a risk of head
crashes with mixed configurations.
7.1.3.1 Technical data
7
Nozzle changers for the SIPLACE TwinHead
Dimensions (length x width x height) 448 x 68.5 x 49 mm³
Number of nozzle holders 16 for standard nozzles
4 for special nozzles or grippers
Nozzle types 5xx, standard
4 xx with adapter
9 xx with adapter
Nozzle changeover time < 2 s

7 Station extensions User manual SIPLACE HF series
7.1 Nozzle changer Software Version SR.50x.xx 01/2006 US Edition
312
7.1.3.2 Position of the nozzle changers for the TwinHead on the HF machine
A nozzle changer for the TwinHead may be installed at locations 1, 2, 3 and 4 (item 1 in Fig. 7.1 -
18). This gives a total capacity of 4 nozzle changers with 48 magazines and a total of 96 nozzle
holders.
7
Fig. 7.1 - 18 Position of the nozzle changers for the TwinHead on the HF machine
(1) Nozzle changer
(2) Standard magazine
(3) Magazine for special nozzles or grippers
(4) Component reject bin
7
7