Base for basic unit SIPLACE G2_20211118_081853 - 第11页
Base for basic unit SIPLACE G2 Page 11 / 20 18.11.2021

Base for basic unit SIPLACE G2
Page 10 / 20 18.11.2021

Base for basic unit SIPLACE G2
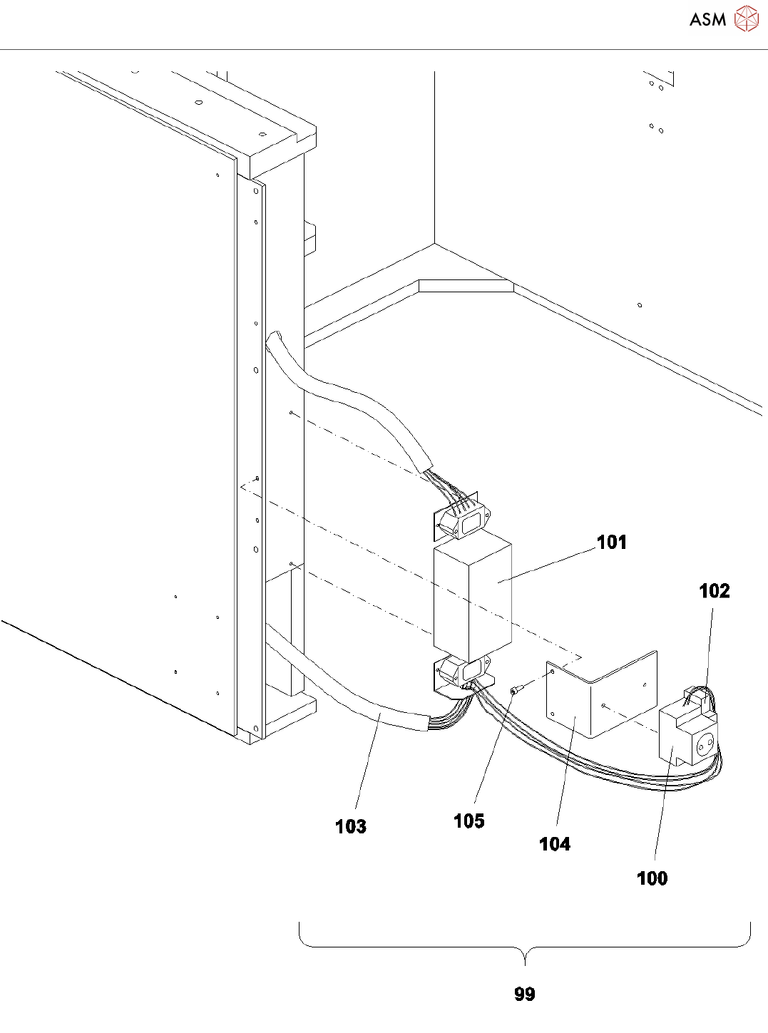
Page 11 / 20 18.11.2021

Base for basic unit SIPLACE G2
Page 12 / 20 18.11.2021