SP60P-L Parts list(Mechanical)20120628 - 第198页
13 雰 囲 気 温調ダクト(MPA-14A用) Atmospheri c T empera ture Control Duct(M PA-14A) パーツレイアウト Kit N o . キット品 番 Kit N am e キット名称 N6 10 043 17 6AA セクションNo. PARTS LAYOUT Section No. - - S33 ( KN610043176AA-00 )

Ref
No.
Remarks
R
1
Q'ty
12
高
速印刷用平スキージセット(L=530)
Flat Squeegee Set for High-Speed Print(L=530)
イラスト
No.
Part No.
品 名品番 数量
R
2
パーツリスト
Kit N
o
.
キット品
番
Kit Name
キット名称
KXFX03C0A00
Part Name
備 考
セクションNo.
PARTS LIST
Section No.
R
3
HOLDER
1
1 N210010857AA
A
HOLDER
1
2 N210010858AA
A
HOLDER
2
3 KXFB04CDA00
BOLT
2
4 KXFB08MDA00
GUIDE
2
5 KXFB00GEA00
GUIDE
2
6 KXFB00GDA00
BALL-BUTTON
2
7 KXF0167AA00 BBT8
SCREW
2
8 XXE5D8FT
Hexagon socket set screw Cup point M5X8-45H SOB
SQUEEGEE
2
9 N510000036AA Flat squeegee 7TX40WX530L(hardness90deg)
KIT
1
10 N610004767AA
KIT
1
11 N610004792AA
S32
--
( KKXFX03C0A00-01 )

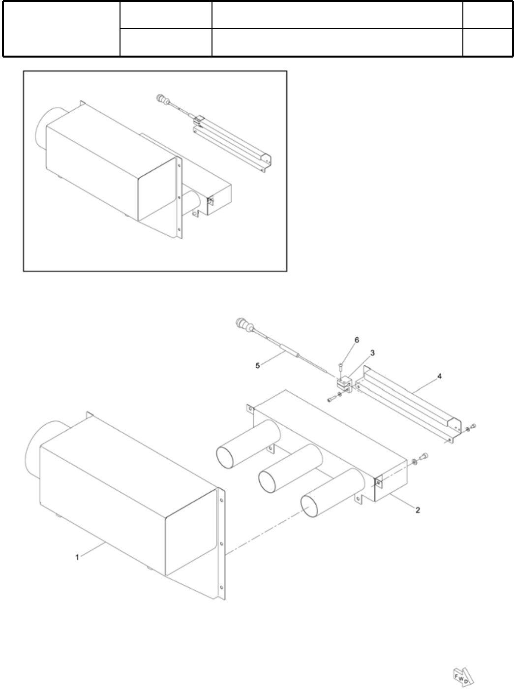
13
雰
囲
気
温調ダクト(MPA-14A用)
Atmospheric Temperature Control Duct(MPA-14A)
パーツレイアウト
Kit N
o
.
キット品
番
Kit Name
キット名称
N610043176AA
セクションNo.
PARTS LAYOUT
Section No.
--
S33
( KN610043176AA-00 )

Ref
No.
Remarks
R
1
Q'ty
13
雰
囲
気
温調ダクト(MPA-14A用)
Atmospheric Temperature Control Duct(MPA-14A)
イラスト
No.
Part No.
品 名品番 数量
R
2
パーツリスト
Kit N
o
.
キット品
番
Kit Name
キット名称
N610043176AA
Part Name
備 考
セクションNo.
PARTS LIST
Section No.
R
3
CHAMBER
1
1 KXF0E0H2A00 HC40018B(DDA)
CHAMBER
1
2 N510023847AA HC40082
BRACKET
1
3 KXF0E0KRA00 HD10165(DDA)
COVER
1
4 KXF0E0H4A00 HD10101(DDA)
SENSOR
1
5 N510023848AA HC40076
BOLT
2
6 N510017519AA
Hexagon socket button head screw M4X15-10.9 A2J (Trivalent)
S34
--
( KN610043176AA-00 )