SP60P-L Parts list(Mechanical)20120628 - 第208页
18 狭 ピッチ用平スキージ セット(L=170) Flat Squeegee Set for Narrow Pit ch (L = 1 70) パーツレイアウト Kit N o . キット品 番 Kit N am e キット名称 KXFX 03AGA0 0 セクションNo. PARTS LAYOUT Section No. - - S43 ( KKXFX03AGA00-02 )

Ref
No.
Remarks
R
1
Q'ty
17
狭
ピッチ用平スキージセット(L=220)
Flat Squeegee Set for Narrow Pitch (L = 220)
イラスト
No.
Part No.
品 名品番 数量
R
2
パーツリスト
Kit N
o
.
キット品
番
Kit Name
キット名称
KXFX03AFA00
Part Name
備 考
セクションNo.
PARTS LIST
Section No.
R
3
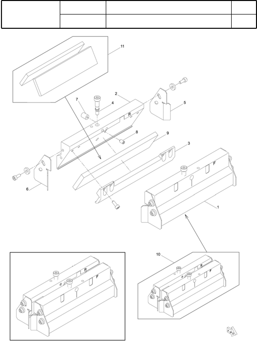
HOLDER
1
1 N210010839AA
A
HOLDER
1
2 N210010840AA
A
HOLDER
2
3 KXFB00LSA00
BOLT
2
4 KXFB08MDA00
GUIDE
2
5 KXFB00GEA00
GUIDE
2
6 KXFB00GDA00
BALL-BUTTON
2
7 KXF0167AA00 BBT8
SCREW
2
8 XXE5D8FT
Hexagon socket set screw Cup point M5X8-45H SOB
SQUEEGEE
2
9 KXF0E0M1A00 (DA KXF0E0M1A00)
KIT
1
10 N610004769AA
KIT
1
11 N610004788AA
S42
--
( KKXFX03AFA00-02 )

18
狭
ピッチ用平スキージセット(L=170)
Flat Squeegee Set for Narrow Pitch (L = 170)
パーツレイアウト
Kit N
o
.
キット品
番
Kit Name
キット名称
KXFX03AGA00
セクションNo.
PARTS LAYOUT
Section No.
--
S43
( KKXFX03AGA00-02 )

Ref
No.
Remarks
R
1
Q'ty
18
狭
ピッチ用平スキージセット(L=170)
Flat Squeegee Set for Narrow Pitch (L = 170)
イラスト
No.
Part No.
品 名品番 数量
R
2
パーツリスト
Kit N
o
.
キット品
番
Kit Name
キット名称
KXFX03AGA00
Part Name
備 考
セクションNo.
PARTS LIST
Section No.
R
3
HOLDER
1
1 N210010837AA
A
HOLDER
1
2 N210010838AA
A
HOLDER
2
3 KXFB00LTA00
BOLT
2
4 KXFB08MDA00
GUIDE
2
5 KXFB00GEA00
GUIDE
2
6 KXFB00GDA00
BALL-BUTTON
2
7 KXF0167AA00 BBT8
SCREW
2
8 XXE5D8FT
Hexagon socket set screw Cup point M5X8-45H SOB
SQUEEGEE
2
9 KXF0E0M2A00 (DA KXF0E0M2A00)
KIT
1
10 N610004768AA
KIT
1
11 N610004787AA
S44
--
( KKXFX03AGA00-02 )