P-0213-001.pdf - 第158页
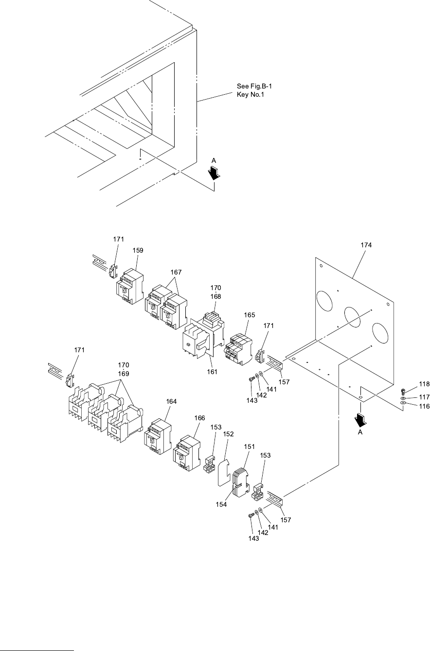
MODEL TIM-5100 0008-001 ドライバ部 DRIVER SECTION Fig. BD-2 ドライバAパネルレイアウト Driver A Panel Layout

MODEL TIM-5100
0008-001
Key No. PART No. PART NAME Q’ty REMARKS
NOTE
BD-1
15 630 001 0220 WASHER 8 BW5
17 411 141 6705 WASHER SPR 5 8 SW5
19 630 000 7756 BOLT,HEX-SCT 8 M5X12
36 411 119 1909 WASHER V 3X7X0.5 6 FW3 F
37 411 086 4408 WASHER SPR 3 6 SW3 F
38 411 040 6202 SCR PAN 3X10 6 M3X10 PAN
46 411 088 1702 WASHER V 5X10X1 17 FW5 F
47 411 008 2109 WASHER SPR 5 17 SW5 F
48 411 043 6803 SCR PAN 5X12 17 M5X12 PAN
51 630 093 9026 UNIT,DRIVER 1 741BD-11D-051
52 630 073 5390 UNIT,DRIVER 1 741BD-11D-052
53 630 062 9026 UNIT,DRIVER 2 741BD-11D-053
54 630 054 5357 UNIT,POWER 3 741BD-11D-054
61 630 078 3179 UNIT,DRIVER 1 741BD-11D-158
71 630 084 3262 BRACKET 1 741BD-11V-071
72 630 084 3279 BRACKET 1 741BD-11V-072
75 630 084 3293 BRACKET 1 741BD-11V-075

MODEL TIM-5100
0008-001
ドライバ部 DRIVER SECTION
Fig. BD-2
ドライバAパネルレイアウト
Driver A Panel Layout

MODEL TIM-5100
0008-001
Key No. PART No. PART NAME Q’ty REMARKS
NOTE
BD-2
116 630 001 0220 WASHER 3 BW5
117 411 141 6705 WASHER SPR 5 3 SW5
118 630 000 7756 BOLT,HEX-SCT 3 M5X12
141 411 119 2104 WASHER V 4X9X0.8 6 FW4 F
142 411 008 1706 WASHER SPR 4 6 SW4 F
143 411 043 5004 SCR PAN 4X8 6 M4X8 PAN
151 630 083 5472 TERMINAL 4 741BD-11D-151
152 630 083 5519 ACCESSORY,WIRING 1 741BD-11D-152
153 630 049 3672 BRACKET,WIRING 2 741BD-11D-153
154 630 083 5564 ACCESSORY,WIRING 1 741BD-11D-154
157 630 094 4419 RAIL,WIRING 2
159 630 083 6059 CIRCUIT PROTECTOR 1 741BD-11D-159
161 630 049 2132 COVER 1 741BD-11D-161
164 630 085 3698 CIRCUIT PROTECTOR 1 741BD-11D-061
165 630 089 7555 CIRCUIT PROTECTOR 1 741BD-11D-055
166 630 083 5410 CIRCUIT PROTECTOR 1 741BD-11D-056
167 630 083 5397 CIRCUIT PROTECTOR 2 741BD-11D-057
168 630 053 8595 EM-CONTACTOR 1 741BD-11D-058
169 630 053 8588 EM-CONTACTOR 3 741BD-11D-059
170 630 000 1853 COMP,CR 4 741BD-11D-060
171 630 000 1051 BRACKET,WIRING 3 741BD-11D-251
174 630 084 3286 PANEL 1 741BD-11V-074