P-0213-001.pdf - 第45页
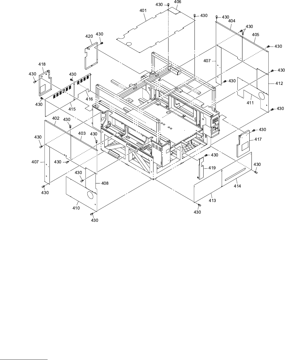
MODEL TIM-5100 0008-001 Key No. P AR T No. P AR T NAME Q’ ty REMARKS NOTE G-4 301 630 085 5043 SPRING 4 741G--1 1H-301 304 630 086 4823 HINGE 4 741G--1 1B-304 305 630 085 9959 HINGE 4 741G--1 1B-305 306 630 085 5425 COVE…

MODEL TIM-5100
0008-001
カバー部 COVER SECTION
Fig. G-4 安全扉 Safety Door

MODEL TIM-5100
0008-001
Key No. PART No. PART NAME Q’ty REMARKS
NOTE
G-4
301 630 085 5043 SPRING 4 741G--11H-301
304 630 086 4823 HINGE 4 741G--11B-304
305 630 085 9959 HINGE 4 741G--11B-305
306 630 085 5425 COVER(TOP) 2 741G--11B-306
307 630 085 9973 PIN,GUIDE 8 741G--11B-307
308 630 086 5813 COVER(FRONT) 2 741G--11B-308
309 630 085 9430 SUPPORT 4 741G--11B-309
310 630 085 9447 SUPPORT 4 741G--11B-310
311 630 086 0009 PANEL 2 741G--11B-311
312 630 085 9980 ROLLER 4 741G--11B-312
313 630 085 9997 PIN,GUIDE 4 741G--11B-313
314 630 085 9744 SHEET 4 741G--11B-314
315 630 085 9676 ROD 4 741G--11B-315
316 630 087 0084 KEY 2 741G--11H-316
317 630 087 0091 KEY 2 741G--11H-317
319 630 075 9815 LEVER 2 741G--11H-319
320 630 086 2225 HANDLE 2 741G--11H-320
322 630 073 5727 SWITCH,LIMIT 2 741G--11H-006
324 630 085 9324 BOLT 8 741G--11H-019
367 411 141 4305 WASHER V 6X12.5X1.6 4 FW6
368 411 141 3001 WASHER SPR 6 4 SW6
369 630 000 7862 BOLT,HEX-SCT 4 M6X10
374 411 141 4107 WASHER V 5X10X1 36 FW5
375 630 001 0220 WASHER 8 BW5
376 411 141 6705 WASHER SPR 5 44 SW5
377 630 000 7787 BOLT,HEX-SCT 8 M5X25
378 630 000 7756 BOLT,HEX-SCT 32 M5X12
379 411 141 0505 NUT HEX 5 4 M5
380 411 140 7307 SCR FLT 5X12 8 M5X12 FLT
387 411 141 4008 WASHER V 4X9X0.8 16 FW4
388 411 141 2905 WASHER SPR 4 16 SW4
389 630 000 7619 BOLT,HEX-SCT 16 M4X8
396 411 141 3902 WASHER V 3X7X0.5 28 FW3
397 411 141 2806 WASHER SPR 3 28 SW3
398 630 000 7503 BOLT,HEX-SCT 28 M3X6
399 411 002 2600 SCR FLT 3X6 8 M3X6 FLT

MODEL TIM-5100
0008-001
カバー部 COVER SECTION
Fig. G-5 カバー Cover