P-0213-001.pdf - 第56页
MODEL TIM-5100 0008-001 異形ヘッドL部 DEFORM HEAD L SECTION Fig. MB-4 L軸レベル検出部 L Axis Level Detector

MODEL TIM-5100
0008-001
Key No. PART No. PART NAME Q’ty REMARKS
NOTE
MB-3 2 unit/1 machine
201 630 068 4148 FRAME 1 741MB-11B-201
202 630 071 3701 SHAFT 1 741MB-11B-202
203 630 082 1697 BLOCK 1 741MB-11B-203
204 630 082 1710 PLATE 1 741MB-11B-204
205 630 002 3657 SPRING,COMP 1 741MB-11H-205
210 630 069 0262 SEAL 1 741MB-11H-210
211 630 082 1710 PLATE 1 741MB-11B-211
212 630 069 0514 SENSOR,PROXIMITY 1 741MB-11H-212
213 630 069 0521 SENSOR,PROXIMITY 1 741MB-11H-213
214 411 062 6402 SCR SET HEX-SCT 3X3 2 741MB-11H-214
215 630 068 5466 BRACKET 1 741MB-11B-705
216 630 068 5442 BRACKET 1 741MB-11B-706
266 411 141 4107 WASHER V 5X10X1 6 FW5
267 411 141 6705 WASHER SPR 5 6 SW5
268 630 000 7770 BOLT,HEX-SCT 2 M5X20
269 630 000 7787 BOLT,HEX-SCT 2 M5X25
270 630 000 7800 BOLT,HEX-SCT 2 M5X35
271 411 141 4008 WASHER V 4X9X0.8 2 FW4
272 411 141 2905 WASHER SPR 4 2 SW4
273 630 000 7626 BOLT,HEX-SCT 2 M4X10
276 411 141 3902 WASHER V 3X7X0.5 6 FW3
277 411 141 2806 WASHER SPR 3 6 SW3
278 630 000 7527 BOLT,HEX-SCT 4 M3X10
279 630 000 7510 BOLT,HEX-SCT 2 M3X8

MODEL TIM-5100
0008-001
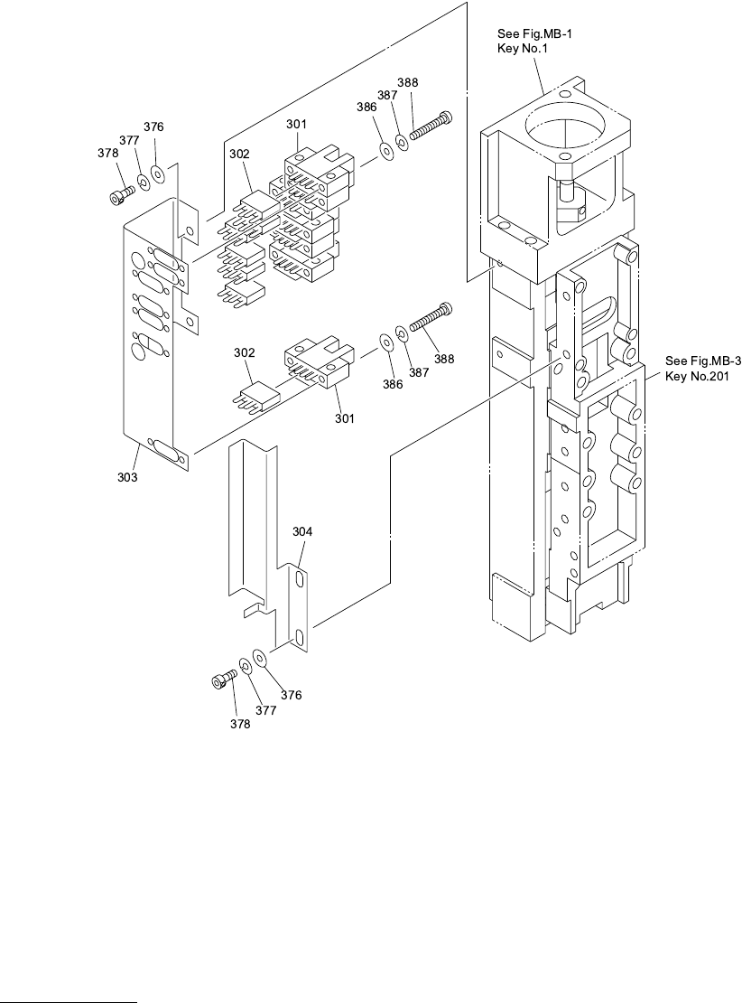
異形ヘッドL部 DEFORM HEAD L SECTION
Fig. MB-4 L軸レベル検出部 L Axis Level Detector

MODEL TIM-5100
0008-001
Key No. PART No. PART NAME Q’ty REMARKS
NOTE
MB-4 2 unit/1 machine
301 630 000 0245 SENSOR,PHOTO 7 741MB-11H-301
302 630 000 0269 SENSOR,PHOTO(CONNECTOR) 7 741MB-11H-302
303 630 076 3836 BRACKET 1 741MB-11B-708
304 630 074 0981 PLATE 1 741MB-11B-707
376 411 141 3902 WASHER V 3X7X0.5 4 FW3
377 411 141 2806 WASHER SPR 3 4 SW3
386 411 119 1909 WASHER V 3X7X0.5 14 FW3 F
387 411 086 4408 WASHER SPR 3 14 SW3 F
388 411 162 1604 SCR PAN 3X20 14 M3X20 PAN