P-0213-001.pdf - 第58页
MODEL TIM-5100 0008-001 異形ヘッドL部 DEFORM HEAD L SECTION Fig. MB-5 ノズルクランプ部 Nozzle Clamp Section

MODEL TIM-5100
0008-001
Key No. PART No. PART NAME Q’ty REMARKS
NOTE
MB-4 2 unit/1 machine
301 630 000 0245 SENSOR,PHOTO 7 741MB-11H-301
302 630 000 0269 SENSOR,PHOTO(CONNECTOR) 7 741MB-11H-302
303 630 076 3836 BRACKET 1 741MB-11B-708
304 630 074 0981 PLATE 1 741MB-11B-707
376 411 141 3902 WASHER V 3X7X0.5 4 FW3
377 411 141 2806 WASHER SPR 3 4 SW3
386 411 119 1909 WASHER V 3X7X0.5 14 FW3 F
387 411 086 4408 WASHER SPR 3 14 SW3 F
388 411 162 1604 SCR PAN 3X20 14 M3X20 PAN

MODEL TIM-5100
0008-001
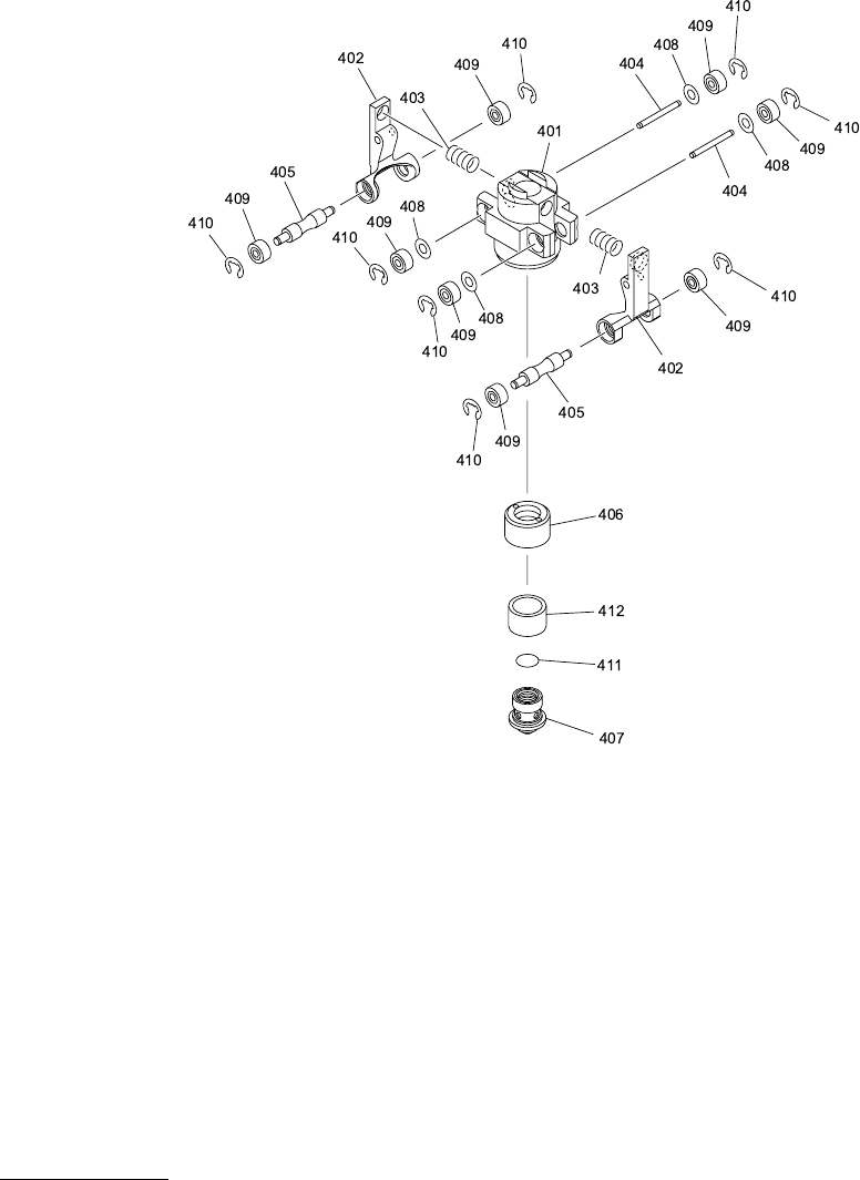
異形ヘッドL部 DEFORM HEAD L SECTION
Fig. MB-5 ノズルクランプ部 Nozzle Clamp Section

MODEL TIM-5100
0008-001
Key No. PART No. PART NAME Q’ty REMARKS
NOTE
MB-5 2 unit/1 machine
401 630 082 1505 BLOCK 1 741MB-11B-401
402 630 067 8598 LEVER 2 741MB-11B-402
403 630 074 2817 SPRING,COMP 2 741MB-11B-403
404 630 067 7188 PIN,HINGE 2 741MB-11B-404
405 630 083 4130 ROD 2 741MB-11B-405
406 630 082 1529 NUT 1 741MB-11B-406
407 630 076 5106 CAP 1 741MB-11B-407
408 630 068 6982 RING 4 741MB-11B-408
409 630 007 1740 BEARING,RADIAL 8 741MB-11H-409
410 616 900 0172 RING E 1 8 741MB-11H-410
411 630 076 5090 SEAL 1 741MB-11H-411
412 630 069 5816 AIR LINE EQPT 1 741MB-11H-412