P-0213-001.pdf - 第75页
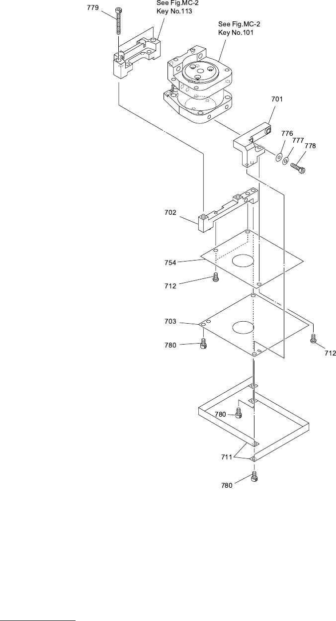
MODEL TIM-5100 0008-001 Key No. P AR T No. P AR T NAME Q’ ty REMARKS NOTE MC-8 2 unit/1 machine 701 630 074 1551 BRACKET 1 741MC-1 1B-801 702 630 074 1568 BRACKET 1 741MC-1 1B-802 703 630 074 0974 PLA TE 1 741MC-1 1B-803…

MODEL TIM-5100
0008-001
異形ヘッドR部 DEFORM HEAD R SECTION
Fig. MC-8 ヘッド照明部 Head Lighting Section

MODEL TIM-5100
0008-001
Key No. PART No. PART NAME Q’ty REMARKS
NOTE
MC-8 2 unit/1 machine
701 630 074 1551 BRACKET 1 741MC-11B-801
702 630 074 1568 BRACKET 1 741MC-11B-802
703 630 074 0974 PLATE 1 741MC-11B-803
711 630 075 1819 BRACKET 2 741MC-11B-811
712 630 069 0644 BOLT 3 741MC-11H-114
754 630 070 3634 LIGHTING UNIT 1 741MC-11D-054
776 411 141 3902 WASHER V 3X7X0.5 2 FW3
777 411 141 2806 WASHER SPR 3 2 SW3
778 630 000 7534 BOLT,HEX-SCT 2 M3X12
779 630 000 7572 BOLT,HEX-SCT 2 M3X25
780 630 000 7503 BOLT,HEX-SCT 3 M3X6

MODEL TIM-5100
0008-001
異形ヘッドR部 DEFORM HEAD R SECTION
Fig. MC-9 マニホールド Manihold