P-0213-001.pdf - 第98页
MODEL TIM-5100 0008-001 バックアップベ-ス部 BACK-UP BASE SECTION Fig. P-3 位置決めユニット(可動側) Locating Unit (Movable Side)

MODEL TIM-5100
0008-001
Key No. PART No. PART NAME Q’ty REMARKS
NOTE
P-2
101 630 083 2396 BASE 1 741P--11B-101
102 630 074 0721 BASE 1 741P--11B-102
103 630 075 8481 PIN,LOCATE 20 741SA-110-101
171 411 141 4008 WASHER V 4X9X0.8 20 FW4
172 411 141 2905 WASHER SPR 4 20 SW4
173 630 000 7633 BOLT,HEX-SCT 20 M4X12

MODEL TIM-5100
0008-001
バックアップベ-ス部 BACK-UP BASE SECTION
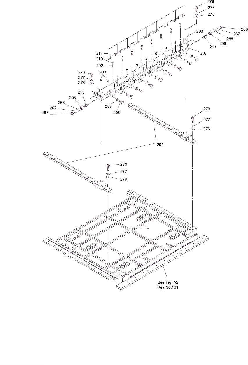
Fig. P-3 位置決めユニット(可動側) Locating Unit (Movable Side)

MODEL TIM-5100
0008-001
Key No. PART No. PART NAME Q’ty REMARKS
NOTE
P-3
201 630 069 1801 GUIDE,LINEAR 1 741P--11H-201
202 630 001 3450 SPRING,COMP 8 741P--11H-202
203 630 008 2296 SET SCREW 20 741P--11H-203
206 630 006 9341 BEARING,RADIAL 4 741P--11H-206
207 630 083 4048 PLATE 1 741P--11B-207
208 630 074 8932 PIN,GUIDE 16 741P--11B-208
209 630 074 8918 WASHER 16 741P--11B-209
210 630 069 3164 BUSH,LOCATE 8 741P--11B-210
211 630 074 8925 PLATE 8 741P--11B-211
213 630 080 7332 PIN,GUIDE 4 741P--11B-213
266 411 141 4107 WASHER V 5X10X1 4 FW5
267 411 141 6705 WASHER SPR 5 4 SW5
268 411 141 0604 NUT HEX 5 4 M5-3
276 411 141 3902 WASHER V 3X7X0.5 27 FW3
277 411 141 2806 WASHER SPR 3 27 SW3
278 630 000 7534 BOLT,HEX-SCT 7 M3X12
279 630 000 7565 BOLT,HEX-SCT 20 M3X20