Conveyor module DC_20211124_065310 - 第44页
Conveyor module DC Page 44 / 76 24.11.2021

Conveyor module DC
Page 43 / 76 24.11.2021

Conveyor module DC
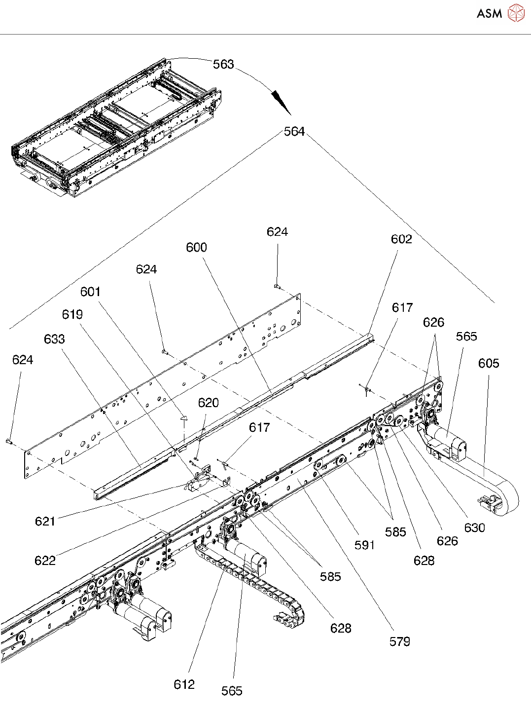
Page 44 / 76 24.11.2021

Conveyor module DC
Page 45 / 76 24.11.2021
Conveyor module DC Page 44 / 76 24.11.2021


